Magnétohydrodynamique

La magnétohydrodynamique (MHD) est une discipline scientifique qui décrit le comportement d’un fluide conducteur du courant électrique en présence de champs électromagnétiques. Elle s’applique notamment aux plasmas, au noyau externe et même à l’eau de mer.

C’est une généralisation de l’hydrodynamique (appelée plus communément dynamique des fluides, définie par les équations de Navier-Stokes) couplée à l’électromagnétisme (équations de Maxwell). Entre la mécanique des fluides « classique » et la magnétohydrodynamique, se situe l’électrohydrodynamique ou mécanique des fluides ionisés en présence de champs électriques (électrostatique), mais sans champ magnétique.

Les centrales magnétohydrodynamiques offrent un potentiel de production d’électricité à grande échelle avec un impact réduit sur l’environnement. Les générateurs MHD sont également intéressants pour la production de grandes impulsions de puissance électrique.

Historique

Le premier scientifique à s’intéresser au sujet fut Humphry Davy en 1821 lorsqu’il montre qu’un arc électrique peut être dévié par un champ magnétique2. Une dizaine d’années plus tard, Michael Faraday envisage de démontrer l’existence d’une force électromotrice dans un conducteur électrique en déplacement soumis au champ magnétique terrestre ; c’est le phénomène d’induction électromagnétique. Dans cette optique, il met au point en janvier 1832 un premier concept de générateur MHD qu’il teste sur le pont Waterloo à Londres. Bien que fortuite, cette expérience aboutira à la loi de Lenz-Faraday.

Les recherches approfondies de génération d’électricité par MHD continuent au XXe siècle, tout d’abord menées par le physicien hongrois Béla Karlovitz (en) qui développe un générateur MHD au sein des laboratoires de Westinghouse en 1938. De son côté, le physicien suédois Hannes Alfvén, qui est le premier à employer le terme magnétohydrodynamique en 1942, étudie la propagation des ondes d’Alfvén dans le plasma de la magnétosphère. Interrompus pendant la seconde guerre mondiale, le développement et la recherche en MHD reprennent dans les années 1960 grâce aux travaux de Richard J. Rosa et au concours du département de l’Énergie des États-Unis qui engage alors des recherches dans les laboratoires Avco Everett.

Dans le même temps, les applications possibles de la physique des plasmas à de nouveaux développements technologiques (atténuation et réflexion d’ondes de choc, fusion nucléaire, propulsion MHD) orientent les premières études initiées par des ingénieurs propulsant la MHD comme vecteur de recherche stratégique durant la guerre froide comme en atteste un document déclassifié par l’armée de l’air américaine en 1992 et diffusé par le magazine Jane’s Defence Weekly en 1998. D’abord mis en scène par Tom Clancy dans son roman d’espionnage The Hunt for Red October, le mode de propulsion MHD a plus tard été dévoilé au grand public dans l’adaptation du roman au cinéma A la poursuite d’Octobre rouge en 1990. Cette fiction devient réalité le 19 juin 1992 avec la première navigation du démonstrateur civil japonais de navire à propulsion MHD, le Yamato 1.

Différentes modélisations de la MHD

Il existe plusieurs modèles de la magnétohydrodynamique selon le degré de complexité nécessaire. Parmi les plus utilisés et plus simples sont :

  • la « MHD idéale » ;
  • la « MHD résistive ».

Le choix de l’un ou l’autre de ces deux modèles dépend de la valeur du Nombre de Reynolds magnétique Rm. Ce nombre, utilisé en MHD est ainsi nommé par analogie au nombre de Reynolds en hydrodynamique, il indique l’importance du terme de convection par rapport à celui de diffusion dans un fluide soumis à un champ magnétique.

Cependant, outre le choix entre MHD idéale et MHD résistive s’impose celle de la viscosité du fluide dans lequel l’étude est faite. Pour ceci, on introduit le nombre de Hartmann qui est le rapport des forces magnétiques et des forces de viscosité.

MHD idéale

La MHD idéale, dite aussi à fort nombre de Reynolds magnétique (Rm ≫ 1), est la forme la plus simple de la MHD. Le fluide, soumis à un fort champ magnétique , est traité comme ayant peu ou pas de résistance électrique, et on l’assimile à un conducteur parfait. La loi de Lenz s’applique de telle sorte que fluide et les lignes de champ magnétique sont intimement liés : on dit que les lignes de champ sont « gelées » (« frozen in ») dans le fluide (on peut également dire que le fluide est gelé dans le champ magnétique). Dans le cas où le fluide est un conducteur parfait, plongé dans un champ magnétique constant et uniforme Bo dans lequel se propage dans le même sens que l’orientation de ce champ une onde dont le champ magnétique est orthogonal à Bo, on dit que le théorème d’Alfvén est satisfait. Une analogie consiste à comparer le fluide à un peigne et les lignes de champ aux cheveux : le mouvement des cheveux suit exactement ceux du peigne. Cette MHD idéale est étudiée dans les plasmas chauds, tels les plasmas astrophysiques et thermonucléaires d’origine naturelle (étoiles) ou artificielle (tokamaks).

Les équations de la MHD idéale consistent en l’équation de continuité, les lois de la quantité de mouvement, le théorème d’Ampère (dans la limite de l’absence de champ électrique et de diffusion de l’électron) et les équations de la thermodynamique (conservation de l’énergie). Comme toute description fluide d’un système cinétique, on effectue des approximations du flux de chaleur via des conditions adiabatiques ou isothermes.

MHD résistive

La MHD résistive, dite à faible nombre de Reynolds magnétique (Rm ≤ 1) décrit les fluides magnétisés et non parfaitement conducteurs. On parle en général d’une résistivité engendrée par les collisions entre les constituants du plasma, qui transforment l’énergie magnétique en chaleur (chauffage Joule). Lorsque la résistivité est non négligeable, (nombre de Reynolds petit), le théorème d’Alfven n’est plus satisfait et la topologie magnétique peut être brisée.

Dans un fluide considéré comme un conducteur non parfait, l’évolution du champ magnétique dans le fluide est donnée par l’équation d’induction résistive. La variation locale du champ magnétique avec le temps est le résultat de son advection par le fluide et de sa diffusion dans le fluide. Le nombre de Reynolds est en facteur inverse de l’opérateur de diffusion, plus il est grand et plus on peut négliger la diffusion par rapport à l’advection. On peut quantifier l’importance de la diffusion en construisant un temps de diffusion.

Par exemple, dans le Soleil, on estime le temps de diffusion à travers une région active (résistivité collisionnelle) en centaines ou milliers d’années, durée bien plus longue que la vie d’une tache solaire, on néglige donc la résistivité (cas de la MHD idéale). À l’inverse, un mètre cube d’eau de mer possède un temps de diffusion se mesurant en millisecondes, dont on doit tenir compte (MHD résistive). Par rapport à la MHD idéale, la MHD résistive implique un terme supplémentaire dans le théorème d’Ampère modélisant la résistivité collisionnelle.

Même dans les systèmes physiques assez grands et bons conducteurs, où il semblerait a priori que la résistivité puisse être ignorée, cette dernière peut tout de même être importante : beaucoup d’instabilités surviennent, notamment dans les plasmas, pouvant l’augmenter très fortement (d’un facteur 1 milliard). Cette résistivité augmentée est habituellement le résultat de la formation de structures à petite échelle, telles les courants électriques en strates, ou des turbulences électroniques et magnétiques localisées (voir par exemple l’instabilité électrothermique dans les plasmas à fort paramètre de Hall).

La MHD-gaz industrielle, utilisant des plasmas froids (gaz bi-température, hors d’équilibre, où seul le gaz d’électrons est chauffé à 10 000 K, alors que le reste du gaz (ions et neutres) est froid aux alentours de 4 000 K) entre dans cette catégorie de MHD à faible nombre de Reynolds magnétique.

D’autres modèles de MHD

Selon la finesse requise, on peut complexifier le modèle de base de la MHD en prenant en compte différents effets se produisant dans le fluide. On peut ainsi créer la MHD-Hall, la MHD bi-fluides

  • MHD-Hall : à l’échelle de la longueur d’inertie des ions, la loi d’Ohm idéale et/ou résistive n’est plus valable. En effet, à cette échelle, l’inertie des ions se fait sentir et tend à différencier localement leur mouvement de celui des électrons. Le courant ainsi formé crée un champ magnétique. Les électrons, sensibles à la force de Laplace, créent un champ électrique de charge d’espace pour conserver la quasi-neutralité. La MHD-Hall modélise ce phénomène en tenant compte de ce champ électrique en rajoutant la force de Laplace qui lui est égale, dans la loi d’Ohm, modifiant ainsi l’équation d’induction du champ magnétique. Le terme de Hall ainsi ajouté dans la loi d’Ohm insère une échelle caractéristique dans le système d’équation de la magnétohydrodynamique, qui en était jusqu’alors dépourvue. Cette longueur caractéristique est la longueur d’inertie des ions. On passe d’un système d’équation auto-similaire (c’est-à-dire, qui ne dépend pas de l’échelle considérée) à un système dépendant des échelles du système étudié. On peut aussi parfois tenir compte du gradient de pression électronique dans la loi d’Ohm de la MHD Hall. En 1960, M. J. Lighthill critique la théorie des MHD idéale et résistive appliquées aux plasmas, à cause de l’absence de courant de Hall, simplification fréquente en théorie de la fusion magnétique. La théorie Hall-MHD prend en compte cette composante du champ électrique de Hall dans la MHD.
  • MHD bi-fluides : la MHD bi-fluide revient à rajouter l’inertie des électrons dans la loi d’Ohm modélisant le champ électrique. Physiquement, cela revient à dire qu’à une certaine échelle (la longueur d’inertie des électrons), l’accélération des électrons ne peut plus être négligée, les électrons ne sont plus à l’équilibre statique.
  • MHD Hartmann : elle prend en compte la viscosité du fluide qui s’écoule dans un espace fermé : on retrouve ce phénomène dans la construction de tuyère magnétohydrodynamique entre autres, et est discutée en fonction du nombre de Hartmann
  • D’autres détails peuvent encore être ajoutés au modèle magnétohydrodynamique. On peut tenir compte de l’anisotropie de température créée par la direction du champ magnétique, on peut par exemple tenir compte des anisotropies dans le plan de gyration des particules en modélisant la température comme un tenseur 3×3 complet.

Observations et applications

Géophysique

Le noyau fluide de la Terre et d’autres planètes est, selon la théorie en vigueur, une gigantesque dynamo MHD qui génère le champ magnétique terrestre (géomagnétisme). Ce phénomène serait dû aux mouvements de convection du noyau externe métallique et aux courants électriques induits.

Astrophysique

L’astrophysique fut le premier domaine que décrivit la MHD. En effet, la matière observable de l’univers est composée de plasma à plus de 99 %, dont les étoiles, les milieux interplanétaire (l’espace entre les planètes d’un système stellaire) et interstellaire (entre les étoiles), les nébuleuses et les jets. Les taches solaires sont causées par le champ magnétique du Soleil, comme l’a théorisé Joseph Larmor en 1919. Le vent solaire est également gouverné par la MHD, tout comme les éruptions solaires (ruptures de continuité des lignes de champ et éjection de particules et de rayonnements à haute énergie).

Ingénierie

La MHD intervient dans la conception et la gestion des cuves d’électrolyse pour la production de l’aluminium. Les champs électromagnétiques intenses mettent en mouvement les fluides (aluminium et électrolyte) en créant des vagues imposant une distance minimale entre l’aluminium et les anodes.

La MHD est utilisée de manière théorique dans le confinement des plasmas (stabilisation, expulsion ou compression), notamment les plasmas chauds thermonucléaires dans les machines à fusion par confinement magnétique (comme les tokamaks) ou les dispositifs à striction magnétique (comme la Z machine).

La MHD est aussi directement au cœur d’applications technologiques sous forme de machines électromagnétiques sans pièce mobile, appelées des convertisseurs MHD, qui agissent sur le fluide au moyen de la force électromagnétique (dite force de Lorentz) et qui peuvent être utilisés :

  • pour la génération d’électricité (générateur MHD) ;
  • pour l’accélération de fluides (accélérateur MHD) ou leur freinage. Dans le cas particulier d’un plasma créé dans de l’air atmosphérique.

Les réalisations industrielles concrètes, au début du XXIe siècle, restent expérimentales ou couvertes par le secret militaire. Elles se heurtent à de nombreuses difficultés : production de forts champs magnétiques à l’aide d’électroaimants supraconducteurs, génération de puissances électriques suffisantes, matériaux conducteurs résistant à la corrosion… et spécifiquement à la MHD-gaz : matériaux résistant aux fortes températures et densités de courant, systèmes d’ionisation des gaz performants, maîtrise des aspects théoriques des plasmas froids à paramètre de Hall élevé, etc.

Navires

Dans le cadre de la propulsion par magnétohydrodynamique, on peut faire avancer un bateau à l’aide de ce phénomène : c’est ce qu’ont accompli les japonais avec le bateau Yamato 1 par la création d’une tuyère MHD.

La propulsion par MHD nécessite l’emploi d’électrodes. Entre celles-ci, lorsque le système est parcouru par une intensité continue, est créé un champ électrique orthogonal à un champ magnétique exerçant alors une poussée, ou force de Laplace. Le champ des vitesses dans la tuyère, formé par les électrodes et l’inducteur, s’obtient grâce aux équations de Maxwell et de l’hydrodynamique : le couplage du champ des vitesses à celui du champ magnétique permet de décrire le profil des vitesses. Dans le cadre d’un écoulement d’Hartmann (écoulement stationnaire et laminaire d’un fluide conducteur visqueux supposé incompressible entre deux plaques infinies parallèles), le champ des vitesses est régi par la loi d’Hartmann : celle-ci se discute selon la valeur du nombre d’Hartmann. Si ce type de propulsion est avantageux par l’indépendance des champs électrique et magnétique, l’électrolyse causée par l’emploi d’électrodes pose problème. Les interactions entre le champ électrique et les ions présents dans l’eau de mer causent une accumulation de ces derniers à la cathode se traduisant par un dégagement gazeux, entre autres d’hydroxyde de calcium et de magnésium, électriquement isolant. En plus de bloquer les propriétés conductrices du fluide, ce dégagement est extrêmement bruyant : à haute pression, il est semblable au phénomène de cavitation ; la vaporisation de l’eau, qui se fait à 100 °C, introduit un bruit spécifique qui rend impossible la discrétion de l’embarcation.

Générateur MHD

Un générateur MHD (magnétohydrodynamique) est un convertisseur MHD qui transforme l’énergie cinétique d’un fluide conducteur directement en électricité.

Le principe de base est fondamentalement le même que pour n’importe quel générateur électrique. Les deux types de générateur utilisent tous deux un inducteur (électroaimant) générant un champ magnétique dans un induit.

  • Dans le cas d’un générateur conventionnel, cet induit est solide : c’est une bobine constituée d’un enroulement de fil métallique.
  • Dans le cas d’un générateur MHD, cet induit est fluide : liquide conducteur (eau salée, métal liquide) ou gaz ionisé (plasma).

Les générateurs MHD n’utilisent donc pas de pièce mécanique mobile, contrairement aux générateurs électriques traditionnels. Le fluide est mis en mouvement dans le champ magnétique, ce qui génère un courant électrique, recueilli aux bornes d’électrodes immergées et commutées à une charge.

https://upload.wikimedia.org/wikipedia/commons/3/3c/MHD_generator.png

Principe

Force de Laplace.

Les particules chargées en mouvement dans un champ magnétique subissent une force magnétique dite force de Lorentz1 qui dévie leur trajectoire, selon l’équation :

 \vec F \ = \ q \; \vec v \wedge \vec B \,

Les vecteurs F, v et B sont perpendiculaires les uns aux autres et forment un trièdre dans l’espace selon la règle de la main droite.

Le sens de cette force dépend de la charge q, il est donc inverse pour les particules positives et les particules négatives.

Un fluide conducteur possède en son sein des atomes neutres ainsi que des charges positives (ions positifs) et des charges négatives (ions négatifs, plus des électrons libres s’il s’agit d’un plasma). Lorsqu’un tel fluide en mouvement uniforme traverse un champ magnétique, les forces de Laplace ont tendance à séparer les charges de signes différents de part et d’autre du fluide.

Si l’on plonge dans ce fluide des électrodes connectées à une charge, on recueille donc à leurs bornes une différence de potentiel.

Historique

Le concept de générateur MHD a pour la première fois été testé par Michael Faraday en 1832. À la suite de la découverte expérimentale du Danois Ørsted sur l’électromagnétisme et sa formulation théorique par le français Ampère avec l’électrodynamique, ce physicien anglais eut l’idée d’utiliser la composante verticale naturelle du champ magnétique terrestre, en plaçant de part et d’autre du pont de Waterloo des plaques de cuivre, plongées dans l’eau de la Tamise et reliées par un fil électrique long de 290 mètres. Cependant, l’équipement de l’époque ne permit pas de mettre en évidence le trop faible courant électrique généré, et c’est en 1851 que son compatriote le Dr. William Hyde Wollaston mesura effectivement, dans l’embouchure saumâtre du fleuve, une tension induite par la marée de la Manche.

Les recherches approfondies de génération d’électricité par MHD ont débuté au XXe siècle, tout d’abord avec le physicien Bela Karlovitz pour le compte de la société Westinghouse de 1938 à 1944. Ce générateur MHD était de type « Hall annulaire » (voir Tuyères plus loin) et utilisait un plasma issu de la combustion du gaz naturel ionisé par faisceaux d’électrons. Cette expérience ne fut pas concluante car la conductivité électrique du gaz était aussi limitée que les connaissances de l’époque en physique des plasmas. Une seconde expérience menée en 1961 au même laboratoire, utilisant un liquide composé d’un combustible fossile enrichi en potassium, fut elle un succès avec une puissance générée excédant 10 kW. La même année, une puissance identique fut générée aux laboratoires Avco Everett par le docteur Richard Rosa, en utilisant de l’argon enrichi par pulvérisation d’une poudre de carbonate de potassium (substance donnant facilement des électrons libres, ce qui augmente la conductivité électrique du plasma) et ionisé par arcs électriques à 3 000 K.

En 2007, un ensemble d’expériences concluantes réalisées aux États-Unis pour le compte de l’armée américaine, avec un fluide simulant une sortie de tuyère d’un avion hypersonique a permis d’obtenir une puissance générée supérieure à 1 MW. Ce type d’expérience est susceptible de relancer l’intérêt (notamment militaire) de la MHD, après une « mise en sommeil » de cette technique pendant de nombreuses années. Cette expérience est susceptible d’avoir également un impact sur la fusion contrôlée (voir Z machine).

Avantages

Les années 1960 virent un effort international très important en vue de construire les premières centrales MHD électriques industrielles, avec un gaz ionisé à très haute vitesse comme fluide conducteur. Les études préliminaires ont en effet dégagé un certain nombre d’avantages :

  • Rendement très important : la conversion énergétique doit permettre d’atteindre d’emblée 48 à 52 %, puis 70 % pour la seconde génération (les turbines à vapeur classiques des centrales thermiques ne dépassent pas les 40 %). Le rendement MHD croît comme le carré du champ magnétique. De la même manière, un générateur MHD d’électricité est connectable à un réacteur nucléaire à fission, en pompant le liquide de refroidissement du réacteur à travers le convertisseur MHD et avant un échangeur de chaleur, avec un rendement estimé à 60 %. Dans le futur, un générateur MHD sans électrodes pourrait être utilisé pour extraire directement l’énergie produite par une centrale électrique à fusion nucléaire contrôlée, l’expansion du plasma de fusion comprimant les lignes de champ magnétique d’un générateur MHD à induction, avec un rendement de plus de 80 %.
  • Impact environnemental minime : les températures de combustion élevées permettent de diminuer les résidus polluants de 90 %. L’accroissement de la conductibilité du fluide par un ensemencement au potassium permet alternativement de lier chimiquement cette substance avec les sulfures du charbon, réduisant les émissions de dioxyde de soufre de 99 %, et rendant l’utilisation de filtres superflue. La restriction d’oxygène dans le brûleur permet en outre de réduire les oxydes d’azote, alors que ces derniers sont finalement décomposés par la forte chute de température lors de la conversion MHD entre l’entrée et la sortie de la tuyère. Enfin, l’azote généré en quantité peut être récupéré pour servir à la fabrication de fertilisants agricoles.
  • Fiabilité : aucune partie mobile. Les matériaux sont capables de fonctionner plusieurs milliers d’heures (parois en céramique, électrodes composées d’un alliage spécial ou même de plasma).

Problèmes techniques

Bien qu’un effort mondial considérable ait été entrepris sur la conversion MHD dans la plupart des pays industrialisés dès le début des années 1960, pratiquement toutes les nations impliquées ont rapidement abandonné ces recherches au début des années 1970, face à des obstacles techniques apparemment insurmontables, à l’exception des États-Unis et de la Russie qui ont maintenu une veille technologique. La Russie est d’ailleurs le seul pays qui dispose aujourd’hui (depuis 1971) d’une centrale MHD fonctionnelle, délivrant par ce moyen 25 MW.

  • Une bonne interaction MHD requiert de puissants champs magnétiques (plusieurs teslas) qui sont idéalement produits par des électroaimants supraconducteurs.
  • La conductivité électrique d’un gaz est faible. Il faut donc y effectuer un « ensemencement » d’espèces alcalines (césium par exemple) favorisant la présence d’électrons libres, mais certains de ces produits sont potentiellement polluants et réagissent violemment avec l’eau. Une autre solution est de travailler à très haute température (plusieurs milliers de degrés) ce qui nécessite des matériaux résistants à la chaleur et supportant de très grandes densités de courant, la plupart du temps des céramiques composées d’oxyde d’yttrium ou de dioxyde de zirconium, ou du tungstène. Le générateur MHD russe U-25 utilise ainsi des parois en céramique et des électrodes en chromite de lanthane, avec un plasma composé à 40 % d’oxygène et à 60 % de gaz naturel, chauffé à 2000 degrés et enrichi par un mélange ionisant à base de potassium ou de césium et de mercure.
  • Les gaz ionisés bitempératures, en régime hors d’équilibre, soumis à des champs magnétiques intenses donnant un paramètre de Hall élevé, sont sujets à l’instabilité électrothermique. C’est le principal obstacle à la réalisation industrielle de centrales électriques à conversion MHD, qui a conduit à l’arrêt de ces recherches dans le monde au début des années 1970. Voir Gaz bitempérature plus loin.

Cycle ouvert ou fermé

Les années 1960 voient la définition de deux classes principales de fonctionnement :

  • Les générateurs à cycle ouvert utilisent directement les produits de la combustion d’une source d’énergie fossile. Ce type de générateur fut le plus étudié, avec un prototype à alcool générant 32 MW qui fonctionna en continu durant 3 minutes en 1965 aux États-Unis, et en URSS en 1971 avec la centrale pilote fonctionnelle à gaz naturel « U-25 » de 75 MW (50 MW thermiques + 25 MW MHD).
  • Les générateurs à cycle fermé sont envisagés pour fonctionner indirectement grâce à la chaleur émise par un réacteur à fission nucléaire voire par un combustible. Le fluide de travail est alors un gaz rare (qui nécessite dans ce cas un fonctionnement « bitempérature » hors d’équilibre, voir Gaz bitempérature plus loin) ou un métal liquide (approche développée par l’Argonne National Laboratory aux États-Unis).

Tuyères

Cette section est vide, insuffisamment détaillée ou incomplète. Votre aide est la bienvenue ! Comment faire ?

Régime de fonctionnement

Écoulement continu

La plupart des générateurs MHD industriels doivent fonctionner en régime continu, ils sont en cela analogues à une dynamo : ils génèrent un courant continu qui doit être converti en courant alternatif avant d’être transmis sur le réseau de distribution public. Les générateurs MHD à induction produisent par contre nativement un courant alternatif, analogues aux alternateurs.

Rafale impulsionnelle

La tenue délicate des matériaux face aux très hautes températures du gaz, requises pour un fonctionnement MHD optimal, a souvent restreint l’étude de ces dispositifs sur de courtes durées de fonctionnement. On distingue plusieurs régimes impulsionnels :

  • Générateurs MHD impulsionnels à rafales ultracourtes : c’est un simulateur de générateur MHD, appelé tube à choc (shock tube) développé à la fin des années 1960 aux États-Unis par Bert Zauderer, et reproduit à la même époque en France à l’IMFM (Institut de Mécanique des Fluides de Marseille) par Georges Inglesakis. Le tube à choc est une sorte de « canon à gaz » de 6 mètres de long, qui à l’aide d’un explosif crache un gaz rare pur ultra chaud (généralement de l’argon) à travers une tuyère de Faraday à électrodes segmentées très compacte (section carrée 5 × 5 cm sur une longueur de 10 cm). Le champ magnétique est généré par une batterie de condensateurs débitant dans une paire de solénoïdes durant 2 millisecondes. La rafale de gaz, à la pression atmosphérique de 1 bar, est très rapide (2 700 m/s) et ne dure que 200 microsecondes. En contrepartie, le gaz est porté à des températures de 10 000 degrés, ce qui le rend très conducteur, générant directement des dizaines de milliers d’ampères et des mégawatts électriques dans un champ magnétique pulsé de seulement 2 teslas.
    Cette rapidité de fonctionnement n’entraîne aucune contrainte mécanique ou thermique, et permet l’utilisation de matériaux simples tels que le Plexiglas pour la tuyère ou encore du cuivre rouge pour les électrodes. Les évolutions de ces générateurs MHD impulsionnels eurent une grande importance dans les années 1980, comme systèmes d’alimentation des armes spatiales à énergie dirigée (canons laser et à plasma) du programme militaire américain Initiative de défense stratégique (connu via les médias sous le nom de programme StarWars) initié par le président Reagan. En Russie, ce type de générateur a également été développé dans le programme équivalent mené au centre Arzamas-16 par les physiciens Evgeny Velikhov et Andreï Sakharov en donnant les générateurs MHD à moteur-fusée, aux côtés des générateurs magnétocumulatifs inventés par ce dernier.
  • Générateurs MHD impulsionnels à rafales longues : stade de recherches plus avancé, où le gaz chaud est craché à travers la tuyère durant plusieurs secondes. Quelques exemples :
  • Typhée : en France dans les années 1960, le CEA construisit directement un tel générateur MHD à Fontenay-aux-Roses. Le prototype Typhée, de type tuyère de Faraday à électrodes segmentées, utilisait de l’hélium ensemencé au césium chauffé à travers un échangeur à barres de tungstène à 3 000 degrés, avec des durées de fonctionnement d’une douzaine de secondes.
  • Pamir : En Russie, l’IVTAN (Institut des hautes températures de Moscou) conçoit depuis les années 1960 des générateurs MHD impulsionnels à moteur-fusée crachant un gaz à travers des tuyères de Faraday et débitant des millions d’ampères, tels que le modèle PAMIR-3U sous la direction du Pr. Victor A. Novikov. Les « machines Pamir » connues également sous le nom de « générateurs MHD de Pavlowsky » sont par ailleurs capables de déclencher des séismes et ont été accusées de servir d’arme sismique.

Gaz bitempérature

Chauffé en dessous de 1 500 °C, un gaz peut être utilisé en continu dans une tuyère, mais sa conductivité électrique et le rendement MHD restent faibles. Au-dessus de 5 000 °C, le gaz est cette fois correctement ionisé mais ne peut parcourir la tuyère plus de quelques secondes sous peine de détruire les électrodes.

Afin d’utiliser ces générateurs sur de longues durées, tout en accroissant leurs performances on peut tenter de baisser la température du plasma tout en conservant une conductivité électrique élevée. C’est envisageable en visant une ionisation d’origine thermique, en travaillant sur des plasmas « bitempératures », en état d’ionisation hors d’équilibre, une idée avancée pour la première fois par l’américain Jack L. Kerrebrock et le russe A. E. Sheindlin. Dans ce cas, seul le gaz d’électrons est chauffé à 3 000 °C (température électronique) température suffisante pour que le césium, semence du fluide caloporteur, enrichisse suffisamment le gaz en électrons libres. En maintenant la température à ce niveau, on s’efforce d’abaisser alors au maximum la température du gaz caloporteur, pour que celle-ci devienne compatible avec la température maximale que puissent encaisser les éléments de la boucle fermée. Il était exclu de tenter d’utiliser cette méthode avec des boucles ouvertes, des fluides issus de la combustion d’hydrocarbures. Ceux-ci auraient été en effet obligatoirement riches en CO2, qui interdit toute mise hors d’équilibre, vis-à-vis de cet accroissement non-thermique de la température électronique. En effet la section efficace de collision des électrons avec les molécules de CO2 est importante, des collisions qui, via tous les modes d’excitation de cette molécule : vibration, rotation, suivis d’une désexcitation radiative, jouent un rôle efficace de pompe à chaleur, vis-à-vis du gaz d’électrons. Seule filière envisageable : utiliser comme fluide caloporteur des gaz rares, qui ne possèdent que des états d’excitation électronique, représentant des niveaux d’énergie plus grands, gaz toujours enrichis en semence césium. Parmi les gaz rares, l’hélium était le meilleur candidat, du fait de sa forte conductivité thermique. En cas de succès, ceci aurait été couplé à des projets de réacteurs nucléaires haute température (HTR), dont on estimait à l’époque que les composants pourraient résister à une température de 1 500 °C. Le but était ainsi de réussir à fonctionner avec une température électronique en gros double de celle du gaz caloporteur. Cette situation aurait été analogue à celle qu’on crée dans la vapeur de mercure contenue dans un tube fluorescent.

Hélas, le régime bitempérature s’accommode très mal d’un paramètre de Hall élevé (lorsque le champ magnétique est relativement grand). Or, dilemme : dans un gaz pénétrant à vitesse V dans une tuyère MHD ou règne un champ B, celui-ci est soumis à un champ électrique électromoteur V B. Plus le champ B est élevé, plus ce champ électromoteur est intense, et plus importante sera la fraction de l’énergie qu’on pourra extraire sous forme électrique. Mais plus ce champ B est élevé et plus le plasma devient instable. Le paramètre de Hall est :

Hall parameter.JPG

Au dénominateur, à côté de la masse de l’électron figure la fréquence de collision électron-gaz. . Pour des conditions d’expérimentation données, on peut calculer la valeur critique de ce paramètre, au-delà de laquelle cette instabilité, dite aussi l’instabilité électrothermique, ou instabilité d’ionisation, découverte en 1962 par le Russe Evgeny Velikhov va se développer très rapidement (en un temps qui est de l’ordre du temps d’établissement de l’ionisation dans le milieu).

À cause de cette instabilité, le générateur MHD Typhée du CEA ne fonctionna pas (il fut conçu d’emblée dans l’optique d’un fonctionnement bitempérature). Mais cette instabilité a pu être maitrisée

Dès 1966 le physicien Jean-Pierre Petit mit en œuvre une première méthode. Elle fut testée avec succès dans un générateur MHD impulsionnel alimenté par un générateur de gaz chaud, à onde de choc (soufflerie à onde de choc appelée, plus communément tube à choc, « shock tube »). Le tube à choc crée une rafale de gaz à très haute température (couramment 10 000 °C pour une rafale de gaz rare, comme l’argon, la pression étant de l’ordre de l’atmosphère et la vitesse de 2 700 m/s). Ces rafales sont de courte durée (50 microsecondes) mais cependant suffisamment longues pour que les tests effectués puissent être considérés comme significatifs, vis-à-vis des phénomènes étudiés. Dans ces conditions expérimentales, l’instabilité se développe très rapidement, en quelques microsecondes. Jean-Pierre Petit a été un de ceux qui ont contribué à mieux cerner les conditions de développement de l’instabilité électrothermique. Pour des conditions gazodynamiques données, on peut calculer la valeur critique du paramètre de Hall au-delà de laquelle l’instabilité se développera. Quand le plasma est dit « coulombien » (Coulomb dominated plasma), c’est-à-dire lorsque la fréquence de collision électron-gaz est dominée par celles des collisions électron-ions, cette valeur critique est voisine de 2. Dans les expériences menées par Jean-Pierre Petit, compte tenu de la valeur du champ magnétique, de 2 teslas, le plasma en entrée de tuyère était a priori très instable (la valeur du paramètre de Hall était largement supérieure à sa valeur critique). Mais, comme il l’avait conjecturé, il s’avéra que la vitesse de développement de l’ionisation pouvait être suffisamment rapide pour que le plasma, passant en régime coulombien, voie sa fréquence de collision électron-gaz croître très vite, et par delà la valeur locale du paramètre de Hall descendre en dessous de la valeur critique. La croissance de cette fréquence de collision est liée aux fortes valeurs des sections efficaces de collision électron ion, qui sont de trois à quatre ordres de grandeur supérieures à celles liées aux collisions entre électrons et espèces neutres. Ainsi put-on réussir à faire fonctionner, en 1966, à l’Institut de Mécanique des Fluides de Marseille, un générateur MHD bitempérature, stable, avec un plasma homogène dans la tuyère MHD. Les premiers essais donnèrent une température électronique de 10 000 °C pour une température de gaz de 6 000 °C, avec une puissance électrique de 2 mégawatts.
Jean-Pierre Petit démontra immédiatement l’authenticité de cet état hors d’équilibre en adjoignant au gaz d’essai 2 % de gaz carbonique. La section efficace de collision, liée au phénomène d’excitation de ces molécules par les électrons étant élevée, ce phénomène absorbait très efficacement tout excès d’énergie détenu par le gaz d’électrons, ramenant la température de celui-ci à une voisine proche de celle du gaz. Ainsi cette situation hors d’équilibre se trouvait-elle annihilée par ces collisions entre électrons et CO2.

Cette expérience réussie fut ignorée pendant de longues années. Cette méthode est actuellement « redécouverte » (2003), comme cela arrive souvent, aux USA, aux Indes et au Japon.

Cet aspect permet de comprendre immédiatement pourquoi cet état hors d’équilibre ne peut être envisagé que pour des cycles fermés utilisant des gaz rares, ou des mélanges de gaz rares ensemencés par un alcalin, comme fluides caloporteurs. Dans les « cycles ouverts », fondés sur la combustion d’hydrocarbures, le gaz carbonique sera toujours présent, qui s’opposera immédiatement toute tentative d’établissement d’une situation bitempérature, celui-ci jouant le rôle de puits de chaleur, ramenant la température du gaz d’électrons à une valeur proche de celle des espèces lourdes.

Des essais ultérieurs, dans les jours qui suivirent, permirent d’abaisser la température du gaz à 4 000 °C. Ces résultats furent présentés au colloque international de Varsovie de 1966.

Mais il s’avéra impossible de descendre en dessous de cette valeur, qui restait bien au-delà des possibilités technologiques, car la vitesse de développement de l’ionisation, ayant un rôle stabilisateur, n’était alors pas assez grande, et l’instabilité d’ionisation prenait le dessus. Cette contrainte limita la portée de cette expérience.

Jean-Pierre Petit mit alors en œuvre au début des années 1980, dans un laboratoire de fortune installé dans une des caves de l’observatoire de Marseille une seconde méthode beaucoup plus prometteuse. Pour bien la comprendre il est nécessaire d’écrire l’expression (matricielle) de la conductivité électrique, avec effet Hall :

Conductivite electrique effet hall.jpg

Quand le paramètre de Hall est élevé, cette conductivité est proche de :

Conductivite electrique effet hall eleve.jpg

On comprend au passage l’aspect géométrique de l’effet Hall, lorsque ce paramètre est élevé. Soumettons le plasma à un champ électromoteur E. Le vecteur densité de courant J fera avec ce vecteur champ E un angle théta, correspondant aux expressions et à la figure ci-après :

Vecteur densite de courant.jpg

Si on veut créer un effet Hall important, c’est-à-dire une forte déviation du vecteur densité de courant J, vis-à-vis d’un champ électromoteur E, dans une situation bitempérature : l’instabilité d’ionisation, turbulence d’ionisation, contrariera ce projet aussitôt dès que la valeur du paramètre de Hall excédera la valeur critique. Pour s’en convaincre, il suffit de jeter un œil à l’animation présente dans la page consacrée à l’instabilité électrothermique, construite à partir d’illustrations présentes dans la thèse de doctorat de J.-P. Petit issues de résultats de calculs russes de 1968. Celle-ci montre comment les lignes de courant électrique se distordent et se resserrent selon des directions qui ne correspondent pas au schéma souhaité, qu’il s’agisse d’expérience de conversion MHD axées sur la production d’électricité ou d’accélération d’un plasma bitempérature. L’accroissement en ces régions de la densité de courant crée un feed back positif, c’est-à-dire un accroissement de la valeur locale de la conductivité électrique, phénomène de réponse très non-linéaire. Le courant tend à circuler dans ces strates plus ionisées, et non dans les directions souhaitées. Le plasma devient inhomogène et offre l’allure caractéristique d’un « mille-feuille ».

En revenant aux expressions ci-dessus, qui montrent que les deux conductivités, parallèle et transverse, se trouvent réduites quand la valeur locale du paramètre de Hall est élevée, Petit envisagea d’utiliser une distribution inhomogène de champ magnétique. Il conjectura que les régions à B fort pourraient se comporter comme des sortes de gaines isolantes, en tendant à canaliser les streamers de courant dans des allées où le champ était plus faible, c’est-à-dire la conductivité électrique plus élevées. L’expérience confirma cette intuition. Par ailleurs, en concentrant le flux de courant dans ces allées, on obtenait un accroissement de la densité électronique et de la conductivité électrique dans ces régions, donc un accroissement de la fréquence de collision, par passage en régime coulombien et, in fine, une annihilation de l’instabilité de Vélikhov.

Cette méthode est actuellement la seule qui permette de s’affranchir des effets catastrophiques de l’instabilité de Velikhov dans tout montage MHD bitempérature.

Dans le cadre général des plasmas froids soumis à de forts champs magnétiques, cette problématique est également au cœur de l’essor ou de l’abandon à court terme des applications propulsives hypersoniques de la MHD, connues sous le nom de magnétoaérodynamique.

Convertisseur MHD

Un convertisseur MHD (magnétohydrodynamique) est une machine électromagnétique sans pièce mécanique mobile, utilisant un classique inducteur pour produire le champ magnétique mais remplaçant l’induit habituellement solide par un fluide conducteur de l’électricité (eau salée, métal liquide, ou gaz ionisé que l’on appelle un plasma).

Comme toutes les machines électromagnétiques, un convertisseur MHD est réversible, qui permet indépendamment de :

Un générateur MHD ralentit le fluide lors de la conversion, phénomène utilisable pour des applications aéronautiques utilisant la magnétoaérodynamique (MAD).

Accélérateur MHD

Un accélérateur MHD (magnétohydrodynamique) est un convertisseur MHD qui met en mouvement un fluide conducteur, grâce à un champ électrique et un champ magnétique combinés.

Le principe de base est le même que celui d’un moteur électrique. Tous deux possèdent un inducteur (électroaimant) générant un champ magnétique dans un induit.

  • Dans le cas d’un moteur conventionnel, cet induit est solide : c’est une bobine constituée d’un enroulement de fil métallique.
  • Dans le cas d’un accélérateur MHD, cet induit est fluide : liquide conducteur (eau salée, métal liquide) ou gaz ionisé (appelé plasma).

Les accélérateurs MHD n’utilisent donc pas de pièce mécanique mobile, contrairement aux moteurs électriques traditionnels, ils convertissent directement l’énergie électromagnétique en énergie cinétique. Un fluide est mis en mouvement dans un champ magnétique, par un champ électrique débitant un courant électrique aux bornes d’électrodes immergées dans le fluide.

Principe

Mouvement d’une particule chargée dans un champ électrique (loi de Coulomb)

Cette section a besoin d’être recyclée (15 juillet 2020).
Motif : Pas clair du tout. Améliorez-le ou discutez des points à améliorer.

Sans champ magnétique, la présence d’un champ électrique (électrostatique) accélère[Information douteuse] les particules chargées d’un fluide conducteur par la force électrostatique (selon la loi de Coulomb) :

\vec F_e \ = \ q \; \vec E \,
Fe est la force électrostatique, en newtons
q est la charge de la particule, en coulombs
E est le champ électrique, en volts par mètre

Le sens de cette force est opposé pour les particules positives (accélérées du + vers le -) et les particules négatives (accélérées du – vers le +). Le fluide (par exemple un gaz ionisé ou plasma) est dans ce cas globalement neutre et reste statique. Dans le cas particulier où une seule espèce chargée est extraite d’un plasma (par exemple les électrons) et temporairement stockée, le plasma n’est plus neutre et les ions positifs restants peuvent être accélérés électrostatiquement, avec le reste du fluide par le jeu des collisions ion-ion et ion-neutre : c’est le principe du moteur ionique.

Mouvement d’une particule chargée dans des champs électrique et magnétique (force de Lorentz)

Dans le cas où un champ magnétique est présent, les particules chargées accélérées par un champ électrique au sein de ce champ magnétique subissent une force électromagnétique dite force de Lorentz selon l’équation :

 \vec F_{em} \ = \ q \, \vec E \ + \ q \, \vec v \wedge \vec B \,
Fem est la force électromagnétique ou force de Lorentz, en newtons
q est la charge de la particule, en coulombs
E est le champ électrique, en volts par mètre
v est la vitesse de la particule, en mètres par seconde
B est le champ magnétique, en teslas

Le sens de cette force dépend de la charge q, il est donc inverse pour les particules positives et les particules négatives.

Cas d’un conducteur solide (force de Laplace)

Cette force de Lorentz est souvent simplifiée, dans le cas d’un conducteur électrique solide tel qu’un fil électrique, en la force de Laplace :

{\displaystyle d{\vec {F}}\ =I\ d{\vec {L}}\wedge {\vec {B}}\,}I est le courant électrique, en ampères

Les vecteurs F, I et B sont perpendiculaires les uns aux autres et forment un trièdre dans l’espace selon la règle de la main droite (= trièdre direct).

Cas d’un conducteur fluide (MHD)

Cette section a besoin d’être recyclée (18 juillet 2020).
Une réorganisation et une clarification du contenu sont nécessaires. Améliorez-le ou discutez des points à améliorer.

Un fluide conducteur (liquide ou gaz ionisé) possède en son sein des porteurs de charge de différents signes : ions positifs et ions négatifs ainsi que, dans le cas d’un plasma, des électrons libres (négatifs).

La force de Lorentz dans une interaction MHD n’agit pas sur une particule chargée isolée, ni sur les électrons libres parcourant le réseau atomique d’un métal conducteur. C’est une densité de force ou « force volumique » (une force par unité de volume) agissant sur une densité de charge homogène dans le volume d’un fluide en mouvement :

{\displaystyle {\vec {f}}\ =Q{\vec {E}}+{\vec {J}}\wedge {\vec {B}}\,\!}
f est la densité de force ou force de Lorentz volumique, en newtons par mètre cube
Q est la densité de charge, en coulombs par mètre cube
J est la densité de courant, en ampères par mètre carré

Le champ électrique accélère les particules chargées vers les électrodes en sens opposé selon leur charge et le champ magnétique dévie ces particules chargées, durant leur accélération, également en sens opposé selon leur charge. Cette double inversion[pas clair], accélération électrique puis déviation magnétique, résulte en une distribution des forces de Lorentz toutes parallèles et de même sens[réf. nécessaire]. Le fluide est mis en mouvement uniforme, car toutes les particules, quelle que soit leur charge (positive et négative, de même que les particules neutres par le jeu des collisions), sont entraînées dans le même sens[pas clair].

MHD generator.png

Typologie

Champs électromagnétiques

On distingue les accélérateurs MHD :

  • à conduction : création de courants électriques dans le fluide par des électrodes, en présence d’un champ magnétique généralement uniforme ;
  • à induction : création de courants induits dans le fluide par un champ magnétique variable (selon la loi de Lenz), sans électrode.

Écoulement du fluide

Si le fluide est accéléré à l’intérieur d’un conduit dans lequel est concentrée l’interaction MHD, il s’agit d’un accélérateur MHD à écoulement interne (écoulement à la manière des tuyères des moteurs à réaction).

Si les champs électromagnétiques agissent sur le fluide environnant la paroi extérieure d’un appareil, il s’agit d’un accélérateur MHD à écoulement externe (écoulement à la manière des micro-organismes ciliés tels la paramécie).

Géométries

Les convertisseurs MHD fonctionnant sans pièce mécanique mobile, ils peuvent prendre une multitude de formes :

  • écoulement interne, dans des canaux à veine ronde, carrée, annulaire, hélicoïdale, etc. Exemples : tuyères de Faraday à électrodes planes ou segmentées, tuyères de Hall à électrodes décalées ;
  • écoulement externe, linéairement le long de surfaces planes ou quasi planes (tuiles MHD) ou radialement autour de formes en volume (géométries cylindrique, sphérique, coniques, discoïdales…).

Pompes électromagnétiques

Les pompes électromagnétiques se divisent en quatre grandes catégories :

  • les pompes à conduction
    • à courant continu
    • à courant alternatif monophasé
  • les pompes à induction à courants polyphasés
    • plates (à barres de court-circuit, FLIP en anglais)
    • annulaires (dites aussi cylindriques, ALIP en anglais)

Les pompes à conduction à courant continu se rapprochent de la roue de Barlow. Deux électrodes injectent un courant continu pendant qu’un électroaimant (ou un aimant permanent) crée le champ magnétique. Leur grand inconvénient est qu’il faut mettre en œuvre des intensités très élevées pour des tensions très faibles, d’où des pertes énormes par effet Joule proportionnel au carré de l’intensité (dans la pompe, dans l’alimentation en courant et dans le système redresseur). Leurs deux avantages fondamentaux sont leur compacité et leur capacité à supporter de hautes températures sans refroidissement. Dans certains cas particulier de pompes de petite taille, des bobinages en argent ont permis un fonctionnement à des températures pouvant atteindre 600 °C.

Les pompes à conduction à courant alternatif font appel aux deux phénomènes de conduction et d’induction. Leur fonctionnement rappelle celui de certains transformateurs à entrefer. Leur principal défaut, hormis leur très faible rendement, est la cavitation. La pression à l’entrée de la pompe doit donc à tout instant être suffisante (le plus souvent supérieure à un bar).

Les pompes à induction se rapprochent des moteurs asynchrones. Le rendement de ces machines est de l’ordre de 15 à 45 %. Il y a plusieurs causes à la limitation du rendement : les métaux liquides sont le plus souvent véhiculés par des conduits eux-mêmes métalliques, qui sont le siège de courants électriques parasites induits et de courants de dérivation dans le cas des pompes plates, l’ensemble provoquant des pertes très importantes par effet Joule. Les effets d’extrémités (à l’entrée et à la sortie de la pompe) génèrent des courants parasites diminuant de 15 % à 35 % la puissance d’une pompe et donc son rendement. L’épaisseur de l’entrefer est très importante, à cause d’une part de l’épaisseur du conduit et d’autre part de l’épaisseur des isolants thermiques à mettre en œuvre (sodium, aluminium, magnésium, zinc…). À cet entrefer physique s’ajoute un entrefer magnétique supplémentaire, dit entrefer de Carter, lié aux effets de denture de l’inducteur. Ces entrefers centimétriques génèrent des fuites magnétiques. Dans la majorité des cas ces champs magnétiques de fuite sont plus importants que les champs magnétiques utiles. Les bobinages devant produire les champs magnétiques inducteurs sont donc très volumineux et sont le siège de pertes par effet Joule importantes. Ils doivent donc être refroidis par de puissants systèmes de ventilation.

Tous ces types de pompes ont été très utilisés dans les circuits secondaires et de secours du réacteur nucléaire Superphénix pour faire circuler le sodium liquide, ainsi que dans certaines fonderies d’aluminium pour doser ou transférer l’aluminium liquide.

Propulsion spatiale

Les accélérateurs MHD dans l’espace sont généralement appelés propulseurs électromagnétiques à plasma (le plasma est un gaz ionisé). Ils s’inscrivent dans le futur proche de l’exploration spatiale au XXIe siècle1.

Un gaz ionisé peut être accéléré grâce aux forces de Lorentz, interaction de courants électriques, émis à travers ce gaz, avec des champs magnétiques soit directement induits par ces courants (self-field accelerators) soit générés par des solénoïdes externes (applied-field accelerators). Les propulseurs équipés de solénoïdes peuvent d’ailleurs être conçus pour fonctionner sans décharge électrique dans le gaz (et donc sans électrode), par induction. Dans ce cas, c’est un champ magnétique rapidement variable qui induit des courants électriques dans le gaz, la combinaison des deux générant les forces de Lorentz. La propulsion électromagnétique est la sous-catégorie la plus évoluée de la propulsion électrique2, qui en compte trois :

  1. Propulsion électrothermique. De telles interactions peuvent servir, dans une première approche, à compresser un arc électrique de grande intensité dans une colonne d’hydrogène, afin de chauffer ce gaz et de l’éjecter en expansion à travers une tuyère divergente : on parle alors de propulseur électrothermique, dont une réalisation est l’arcjet.
  2. Propulsion ionique électrostatique. On envisage ensuite d’utiliser ces forces pour contraindre magnétiquement un plasma à l’intérieur d’une enceinte dont on extrait uniquement des ions, accélérés par un champ électrique, ou encore pour contrôler magnétiquement la direction de diffusion de ces ions une fois sortis de l’enceinte : c’est un moteur ionique (à forces électrostatiques) où le champ magnétique joue un rôle de confinement. Ces moteurs ioniques électrostatiques permettent de grandes vitesses d’éjection (en moyenne, 40 km/s) mais génèrent de faibles poussées (à cause de la faible densité du flux ionique) et sont utilisés pour le contrôle fin de l’orbite de satellites et la propulsion de sondes spatiales où la durée de voyage n’est pas critique.
  3. Propulsion plasmique électromagnétique. Ces forces peuvent enfin être elles-mêmes de nature propulsive, en accélérant directement le plasma. On parle alors de propulseurs électromagnétiques à plasma.

Voici les principaux moteurs électromagnétiques à plasma, par puissance croissante :

  • PPT : Le Pulsed Plasma Thruster3 utilise l’énergie électrique pour décaper un matériau solide ablatif (généralement du téflon), processus qui l’ionise. Ce plasma peu dense est ensuite accéléré électromagnétiquement par une impulsion magnétique ultra-brève, générée par un solénoïde, qui induit des courants électriques dans le plasma s’opposant au champ magnétique inducteur, et in fine leur répulsion mutuelle par induction selon la loi de Lenz. La poussée est extrêmement courte et faible (quelques micronewtons), et est donc utilisée à des fins de pointage de précision ou pour remonter une orbite.
  • PIT (Pulsed Inductive Thruster, propulseur à induction pulsé)4 : utilise un solénoïde plat (généralement d’un mètre de diamètre) et un injecteur de gaz à valve ultra-rapide, qui injecte quelques milligrammes de propulsif au milieu de la bobine. Un banc de condensateurs se décharge dans le solénoïde en 10 microsecondes sous 30 kV, générant dans le gaz une brève impulsion de champ magnétique axial, inductif, qui ionise le gaz. Le gaz est alors repoussé vers la sortie sous l’effet des courants induits, selon la loi de Lenz. L’avantage principal de ce type de propulseur à induction est le confinement du plasma loin de la paroi, ainsi que l’absence d’électrodes et d’arc électrique, ce qui élimine l’érosion. Un autre avantage du PIT est sa polyvalence à fonctionner avec divers propulsifs, tels que l’argon, mais aussi l’hydrazine, l’ammoniac, le dioxyde de carbone… à des impulsions spécifiques maximales de 6000 secondes avec un rendement de 60 %, un PIT de 1 MW fonctionnerait en 200 Hz.
  • Propulseur MPD ou LFA : moteur électromagnétique de haute puissance (quelques centaines de kilowatts à plusieurs mégawatts électriques par propulseur) le plus étudié depuis les années 1960 est le propulseur MPD (magnétoplasmadynamique) également appelé LFA (Lorentz Force Accelerator) dans ses versions améliorées. Les propulseurs MPD les plus performants permettent à la fois une poussée très forte (jusqu’à 200 newtons) et des vitesses d’éjection élevées (atteignant la centaine de kilomètres par seconde, avec des impulsion spécifique de l’ordre de 10 000 secondes). Voir l’article propulseur magnétoplasmadynamique.
  • VASIMR : Le Variable specific impulse magnetoplasma rocket5 (Fusée magnétoplasma à impulsion spécifique variable) utilise une force propulsive continue, d’origine principalement électrothermique, avec une composante utilisant les forces électromagnétiques qui éjecte de l’hydrogène ou de l’hélium ionisé. L’appareil fait intensivement appel aux champs électromagnétiques variables (sans électrodes), à travers une série de plusieurs « cellules magnétiques ». À vitesse maximale (Escape Mode, pour s’extraire de la gravité planétaire), VASIMR doit être capable d’assurer une poussée continue -quoique temporaire- de 500 newtons avec une impulsion spécifique de 6 000 secondes. À vitesse de croisière (Cruise Mode, entre deux planètes) VASIMR doit donner continuellement une poussée de 50 newtons sous l’impulsion spécifique record de 30 000 secondes. Voir l’article VASIMR.
  • PMWAC (Propagating Magnetic Wave Plasma Accelerator)6 ou IPA (Inductive Plasma Accelerator)7 : Propulseur à induction par onde magnétique (sans électrode). De multiples solénoïdes sont placées en série les uns à la suite des autres autour d’une tuyère cylindrique, à l’intérieur de laquelle ils génèrent un champ magnétique axial. Ce champ est d’abord uniforme, il magnétise le plasma qui se retrouve accessoirement confiné loin de la paroi. Les solénoïdes subissent ensuite individuellement une élévation impulsionnelle du courant électrique les parcourant. Cette impulsion électrique est distribuée dans chaque solénoïde avec la même amplitude mais en déphasage par rapport au solénoïde précédent, de telle sorte qu’une onde magnétique péristaltique se met à parcourir l’intérieur du tube. Le plasma est accéléré en suivant cette onde, entraîné par le pincement des lignes de champ générant une hausse localisée de la pression magnétique (le plasma est diamagnétique et fuit les régions où le champ magnétique est élevé), et expulsé par les forces de Lorentz, générées par l’interaction du champ magnétique axial avec les courants azimutaux qu’il induit dans le plasma du fait de l’élévation rapide de son intensité. Ces forces de Lorentz ont en effet à la fois une composante centripète (confinante) et axiale (propulsive). Un propulseur à onde magnétique de 5 mètres de long et d’une puissance de 2 MW propulse un plasma à la vitesse de 300 km/s (Isp = 30 000 s) et une poussée record de 4 000 newtons. Une version de 25 mètres et 20 MW à la même poussée offre une vitesse d’éjection record de 1 000 km/s (Isp de 100 000 secondes)8.

Propulsion maritime

Les premières études sur la propulsion MHD en milieu océanique datent de la fin des années 1950 aux États-Unis9. En 1958, l’ingénieur Stewart Way, du département R&D de Westinghouse à Pittsburgh, publie un premier rapport officiel10 sur le sujet. En 1961, Warren A. Rice dépose le premier brevet11, en parallèle aux travaux des américains James B. Friauf12 et O. M. Phillips13. Un second rapport de Stewart Way14 est publié en 1964 par l’American Society of Mechanical Engineers (ASME). En 1966, S. Way teste avec succès le premier modèle-réduit de submersible à propulsion MHD muni de deux électrodes, long de 3 mètres et pesant 400 kg, dans la baie de Santa Barbara, en Californie. Ces recherches sont stoppées durant la décennie suivante, en raison de l’impossibilité de fabriquer les bobines produisant de très forts champs magnétiques nécessaires à un rendement MHD correct. Les Soviétiques continuent cependant les recherches militaires sur la propulsion MHD des sous-marins, afin de rendre ceux-ci silencieux et donc furtifs.

La disponibilité d’électroaimants supraconducteurs, capables de produire les champs magnétiques nécessaires (plusieurs teslas), relance ensuite ces études. Aux États-Unis, celles-ci sont destinées en priorité aux submersibles de l’US Navy15. Dans les années 1990, l’Université de Pennsylvanie mène des expériences au FBNML (Francis Bitter National Magnet Laboratory) du MIT (Massachusetts Institute of Technology) en circuit fermé une configuration hélicoïdale, et obtient des vitesses d’écoulement de 3,7 mètres par seconde et un rendement de 10 % avec un champ magnétique de 8 teslas16. En parallèle à ces recherches universitaires, l’US Navy ne commente pas les éventuelles réalisations effectives, mais publie à la même époque plusieurs brevets17 décrivant des sous-marins à propulsion MHD et à diminution de la traînée par contrôle de la couche limite en poupe.

Les Japonais mènent des recherches civiles sur la propulsion MHD depuis les années 1970. L’université de la marine marchande de Kobé réalise en 1976, sous la direction du physicien Yoshiro Saji, une première maquette suivie d’une seconde de 3,6 mètres de long pesant 700 kg en 1979, et envisage à cette époque la future construction d’un brise-glace sans hélices propulsé par MHD18. Le premier véritable navire à propulsion MHD, le Yamato 1 (utilisant 12 accélérateurs linéaires de Faraday) navigue pour la première fois en 1992.

La Chine teste également à la fin des années 1990 un prototype de bateau à propulseur MHD hélicoïdal muni d’un électroaimant de 5 teslas, le HEMS-119, et entreprend un partenariat avec le Japon pour tester la propulsion MHD en laboratoire avec des champs magnétiques de grande intensité (15 teslas)20.

En France, le physicien Jean-Pierre Petit du CNRS réalise, à l’Institut de Mécanique des Fluides de Marseille (IMFM), en 1976, l’annihilation de la vague d’étrave et de la turbulence de sillage autour d’un profil cylindrique, immergé dans un courant d’eau acidulée dans un champ magnétique de 4 teslas, par les forces de Lorentz en écoulement externe21. Dans les années 1990, la Marine nationale passe un contrat avec l’Université Grenoble-1, afin d’effectuer au LEGI (Laboratoire des écoulements géophysiques et industriels) une veille technologique sur la propulsion MHD. Une étude expérimentale d’une maquette de bateau à propulsion MHD est publiée en 2017, comparant avec succès la vitesse de croisière théorique aux vitesses mesurées en laboratoire pour une large gamme de paramètres22.

Propulsion atmosphérique

Cette section ne cite pas suffisamment ses sources (avril 2016)

L’action MHD sur l’air est aussi possible si cet air est rendu conducteur de l’électricité, par une ionisation qui le transforme en plasma.

Les applications propulsives de la MHD-gaz en milieu atmosphérique visent à vaincre le mur de la chaleur à vitesse hypersonique. Diverses études sont concernées, par ordre de difficulté technique croissant :

  • Rentrée atmosphérique à bouclier MHD sur les capsules spatiales
  • Contrôle de l’écoulement interne pour les moteurs à réaction (pontage MHD)
  • Contrôle de l’écoulement externe : réduction des ondes de choc, des traînées de frottement, de sillage et d’onde
  • Propulsion électromagnétique par poussée MHD

Ce cas particulier de la magnétohydrodynamique appliquée au milieu atmosphérique est la magnétoaérodynamique (MAD).

Canons à plasma

Cette section ne cite pas suffisamment ses sources (avril 2016)

Certains canons électromagnétiques accélèrent un plasma par les forces de Lorentz, soit pour la propulsion directe des particules chargées à vitesse relativiste, soit pour la poussée d’un obus matériel :

Propulseur magnétoplasmadynamique

MPD plume.jpg

Un propulseur magnétoplasmadynamique (MPD ou MPDT pour magnetoplasmadynamic thruster), appelé aussi accélérateur à force de Lorentz (LFA pour Lorentz Force Accelerator), est l’une des technologies de propulsion électrique s’inscrivant dans le futur proche de l’exploration spatiale au XXIe siècle. Cette propulsion de nature électromagnétique, conceptualisée dès 1964, utilise la force de Lorentz (force électromagnétique résultant de l’interaction entre un courant électrique et un champ magnétique) pour accélérer un gaz ionisé appelé plasma, qui procure une poussée par réaction. C’est un type d’accélérateur MHD (magnétohydrodynamique) spatial dont le fluide propulsif est un plasma.

Description

Propulseur MPD à champ induit (SF-MPDT)

Le propulseur magnétoplasmadynamique se compose d’une tuyère divergente munie d’électrodes. Au centre de la tuyère se situe la cathode sous forme d’une tige métallique axiale. Sur le pourtour du « coquetier » est placée l’anode circulaire.

De l’hydrazine, ou plus souvent un gaz rare (généralement de l’argon ou du xénon) est injecté à la base de la tige centrale. Un très fort arc électrique (intensité de plusieurs milliers d’ampères) est émis axialement depuis la cathode, ce qui ionise le gaz (le transformant en plasma). Ce fort courant électrique axial induit autour de lui un puissant champ magnétique azimutal, d’intensité maximale à cet endroit de plus forte densité de courant. Le courant électrique s’épanouit ensuite radialement en corolle vers l’anode en sortie de tuyère ; c’est là que ce courant d’allure radiale interagit avec le champ magnétique azimutal, en produisant des forces de Lorentz propulsives, dirigées selon l’axe du système. Le plasma est accéléré électromagnétiquement à travers la sortie divergente, assurant une poussée par réaction. À l’inverse de la propulsion spatiale classique, la propulsion n’est donc pas issue d’une combustion.

Modes de fonctionnement

L’énergie injectée et la poussée résultante sont le plus souvent appliquées de manière continue. Il existe cependant deux modes de fonctionnement en propulsion MPD :

  • Le SF-MPDT (Self-Field MagnetoPlasmaDynamic Thruster) : propulseur MPD « à champ induit », où le fort courant électrique émis par la cathode induit le champ magnétique azimutal. Le MPD à champ induit est alors très similaire à un propulseur électrothermique Arcjet, et est parfois à ce titre dénommé « MPD Arcjet ».
  • Le AF-MPDT (Applied-Field MagnetoPlasmaDynamic Thruster) : un solénoïde additionnel entoure le propulseur et procure un champ magnétique additionnel, améliorant le confinement et l’expulsion du plasma.

Au chapitre des inconvénients, on peut noter une érosion importante des électrodes, et un fonctionnement nécessitant des puissances électriques se chiffrant en centaines de kilowatts, loin de ce que peut proposer une source d’énergie embarquée dans un engin spatial habituel.

Le LFA ou MPDT amélioré

Une amélioration récente des propulseurs MPD est le LFA (Lorentz Force Accelerator)4. Par rapport à un propulseur MPD « classique », un LFA utilise plusieurs tiges cathodiques à l’intérieur d’un tube isolant. Le propulsif, fluide, circule à l’intérieur du tube, entre les tiges. C’est uniquement à la sortie du tube que le gaz est ionisé, protégeant les cathodes de l’érosion. Il existe divers modèles de LFA, dont deux principaux :

  • LiLFA (Lithium-Lorentz Force Accelerator): le propulsif est du lithium, substance à bas potentiel d’ionisation, vaporisé à la sortie du tube. Des propulseurs de ce type ont été testés en Russie durant 500 heures en continu sans érosion notable des électrodes. Un LiLFA « typique » fonctionnant avec une puissance de 200 kWe offre une poussée continue de 12 newtons, une vitesse d’éjection de 45 km/s (impulsion spécifique de 4500 secondes) et un rendement propulsif de 50 %. Ce rendement atteint 30 % dès 30 kWe.
  • ALFA2 (Advanced Lithium-Fed/Applied-field Lorentz Force Accelerator): version haute puissance des AF-LiLFA (équipée d’un solénoïde) à haut rendement (plus de 60 %) capable d’assurer des poussées de 200 newtons par propulseur dans la classe multi-mégawatts, pour de futurs vaisseaux interplanétaires habités.

Rendement et puissance

Le rendement propulsif MDP croît avec la puissance électrique injectée. Il atteint 30 % dès 30 kWe, et des rendements dépassant 60 % sont classiques.

Un propulseur LFA de classe « moyenne » (100 à 200 kW) atteint des rendements de 40 à 50 %, des poussées se chiffrant en dizaines de newtons et des Isp de plusieurs milliers de secondes (vitesses d’éjection en dizaines de km/s). Ces puissances électriques correspondent à la moyenne envisagée pour le défunt Projet Prometheus qui visait à produire des générateurs électriques nucléaires alimentant les prochains vaisseaux spatiaux de la NASA.

Les propulseurs LFA actuels les plus puissants (au-delà de 1 MW) offrent des possibilités records avec des poussées jusqu’à 200 newtons et des vitesses d’éjection importantes. Des propulseurs alimentés par des puissances de 10 à 20 MW sont envisagés pour les vols habités vers les planètes du système solaire.

Recherches et applications

De nombreuses expérimentations ont lieu dans le monde entier sur la propulsion MDP depuis les années 1960, en Allemagne à l’Université de Stuttgart, en Italie au Centrospazio, au Japon à l’ISAS et à l’Université d’Ōsaka, et principalement en Russie au MAI (Moscow Aviation Institute) et au RKK Energia, ainsi qu’aux États-Unis à l’Université de la Californie du Sud et surtout à l’EEPDyL (Electric Propulsion and Plasma Dynamics Lab) de l’Université de Princeton, où les recherches en propulsion MPD n’ont jamais cessé depuis 1967 ; et enfin directement à la NASA, au JPL (Jet Propulsion Laboratory) et au Glenn Research Center, qui ont résolu de nombreux problèmes relatifs à la performance, la stabilité et la durée de vie inhérents à ce type de propulseur.

Des prototypes pulsés quasi stationnaires ont été testés dans l’espace à bord de satellites de démonstration soviétiques, et le premier satellite à propulsion MPD opérationnelle, le SFU (Space Flyer Unit) a été lancé par les japonais en 1996.

Les technologies MPD et variantes LFA (principalement le ALFA²), en parallèle avec le propulseur électrothermique à contrôle du plasma par induction VASIMR, sont pressenties pour motoriser le futur vaisseau martien habité NEP (Nuclear Electric Propulsion) embarquant 2 réacteurs nucléaires totalisant 10 Mwe à l’horizon 2033.

Impulsion spécifique

Page d’aide sur l’homonymie

Pour les articles homonymes, voir ISP.

L’impulsion spécifique, généralement notée I s p {\displaystyle I_{\mathrm {sp} }} {\displaystyle I_{\mathrm {sp} }}, est une grandeur utilisée pour mesurer l’efficacité de moteurs à réaction et des moteurs-fusées. Elle mesure la force exercée par l’engin en fonction de la quantité de carburant consommé par unité de temps. Dans le domaine de l’astronautique, elle est le quotient de deux grandeurs, dont l’une est la poussée d’un propulseur, et l’autre le produit du débit massique de propergol par la valeur normale de l’accélération de la pesanteur (ou débit-poids du propergol éjecté). L’impulsion spécifique permet de comparer l’efficacité d’un système de propulsion : plus elle est grande, plus le système est efficace1.

Définition

L’impulsion spécifique, homogène à un temps, s’exprime en unités de temps (le plus souvent en secondes)2.

Elle indique la durée pendant laquelle un kilogramme de propergol produit la poussée nécessaire pour soulever une masse d’un kilogramme dans le champ gravitationnel terrestre (soit une force d’environ 9,81 N) : I s p = F q g 0 {\displaystyle I_{\mathrm {sp} }={\frac {F}{q\,g_{0}}}} {\displaystyle I_{\mathrm {sp} }={\frac {F}{q\,g_{0}}}}

où F {\displaystyle F} F désigne la poussée (en N), q {\displaystyle q} q le débit massique d’éjection des gaz (en kg/s) et g 0 {\displaystyle g_{0}} g_{0} l’accélération de la pesanteur (en m/s2 ou N/kg).

Attention, la quantité de mouvement est divisée par la masse de carburant emporté, les turboréacteurs ont donc une impulsion spécifique plus élevée parce qu’ils prennent appui sur une masse extérieure qui n’est pas emportée et leur impulsion spécifique n’est plus proportionnelle à la vitesse de sortie des gaz (pour un moteur fusée il suffit de multiplier l’impulsion spécifique par 9,81 pour obtenir la vitesse de sortie).

À poussée égale, plus l’impulsion spécifique d’un propulseur est grande, moins il consomme d’ergols.

Le couple dihydrogène liquide (LH2)/dioxygène liquide (LOX), utilisé sur l’étage principal (EPC) de la fusée Ariane 5, a une impulsion spécifique d’environ 440 s.

Valeur de l’impulsion spécifique pour différents types de moteurs à réaction.

Impulsion spécifique des moteurs-fusées

L’impulsion spécifique des moteurs-fusées est beaucoup plus faible que celle des moteurs à réaction car la quantité d’énergie consommée pour éjecter les gaz est plus forte (leur vitesse est plus élevée) et le moteur fusée doit embarquer son comburant. En pratique les moteurs fusées ont une impulsion spécifique qui plafonne à environ 500 secondes pour les mélanges carburant/comburant les plus efficaces tandis que les moteurs à réaction peuvent atteindre 6 000 secondes.

Pour les moteur-fusées, la vitesse d’éjection des gaz vaut 9,81 fois l’impulsion spécifique ce qui permet d’appliquer facilement l’équation de Tsiolkovski. (l’équation de Tsiolkovski est l’équation fondamentale de l’astronautique reliant l’accroissement de vitesse au cours d’une phase de propulsion d’un astronef doté d’un moteur à réaction au rapport de sa masse initiale à sa masse finale.)

Valeurs pour quelques mélanges d’ergols

Magnetohydrodynamic power generator (ARTICLE TRADUIT PLUS EN BAS)

Table of Contents

  • Introduction
  • Principles of operation
  • Major types of MHD systems
  • Development of MHD power generators

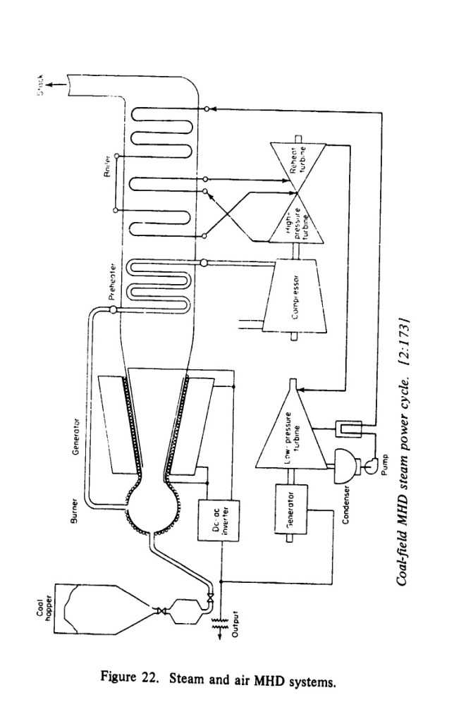
Magnetohydrodynamic power generator, any of a class of devices that generate electric power by means of the interaction of a moving fluid (usually an ionized gas or plasma) and a magnetic field. Magnetohydrodynamic (MHD) power plants offer the potential for large-scale electrical power generation with reduced impact on the environment. Since 1970, several countries have undertaken MHD research programs with a particular emphasis on the use of coal as a fuel. MHD generators are also attractive for the production of large electrical power pulses.

The underlying principle of MHD power generation is elegantly simple. Typically, an electrically conducting gas is produced at high pressure by combustion of a fossil fuel. The gas is then directed through a magnetic field, resulting in an electromotive force within it in accordance with Faraday’s law of induction (named for the 19th-century English physicist and chemist Michael Faraday). The MHD system constitutes a heat engine, involving an expansion of the gas from high to low pressure in a manner similar to that employed in a conventional gas turbogenerator (see figure). In the turbogenerator, the gas interacts with blade surfaces to drive the turbine and the attached electric generator. In the MHD system, the kinetic energy of the gas is converted directly to electric energy as it is allowed to expand.

Comparison of the operating principles of (A) a turbogenerator and (B) an MHD generator.

Encyclopædia Britannica, Inc.

Interest in MHD power generation was originally stimulated by the observation that the interaction of a plasma with a magnetic field could occur at much higher temperatures than were possible in a rotating mechanical turbine. The limiting performance from the point of view of efficiency in heat engines was established early in the 19th century by the French engineer Sadi Carnot. The Carnot cycle, which establishes the maximum theoretical efficiency of a heat engine, is obtained from the difference between the hot source temperature and the cold sink temperature, divided by the source temperature. For example, if the source temperature is 3,000 K (about 2,700 °C, or 4,900 °F) and the sink temperature 300 K (about 30 °C, or 85 °F), the maximum theoretical efficiency would be 90 percent. Allowing for the inefficiencies introduced by finite heat transfer rates and component inefficiencies in real heat engines, a system employing an MHD generator offers the potential of an ultimate efficiency in the range of 60 to 65 percent. This is much better than the 35 to 40 percent efficiency that can be achieved in a modern conventional plant. In addition, MHD generators produce fewer pollutants than conventional plants. However, the higher construction costs of MHD systems have limited their adoption.

Principles of operation

The basic structure of an MHD generator is shown in the figure. In an MHD generator the hot gas is accelerated by a nozzle and injected into a channel. A powerful magnetic field is set up across the channel. In accordance with Faraday’s law of induction, an electric field is established that acts in a direction perpendicular to both the gas flow and the magnetic field. The walls of the channel parallel to the magnetic field serve as electrodes and enable the generator to provide an electric current to an external circuit.

Simple MHD generatorThe load current is represented by I and the voltage by V.

Encyclopædia Britannica, Inc.

The power output of an MHD generator for each cubic metre of its channel volume is proportional to the product of the gas conductivity, the square of the gas velocity, and the square of the strength of the magnetic field through which the gas passes. For MHD generators to operate competitively with good performance and reasonable physical dimensions, the electrical conductivity of the plasma must be in a temperature range above about 1,800 K (about 1,500 °C, or 2,800 °F). The turbine blades of a gas-turbine power system are unable to operate at such temperatures. An adequate value of electrical conductivity—10 to 50 siemens per metre—can be achieved if an additive, typically about 1 percent by mass, is injected into the hot gas. This additive is a readily ionizable alkali material, such as cesium, potassium carbonate, or sodium, and is referred to as the “seed.” While cesium has the lowest ionizing potential (3.894 electron volts), potassium (4.341 electron volts) is less costly. Even though the amount of seed material is small, economic operation requires that a system be provided to recover as much of it as possible.

The hot gas with its seed is at a pressure of several million pascals. It is accelerated by a nozzle to a speed that may be in the range of 1,000 to 2,000 metres (about 3,300 to 6,600 feet) per second. The gas then enters the channel or duct, across which the magnetic field is applied. To produce a competitive MHD system, this magnetic field must have high intensity. Typically, a superconducting magnet is employed to provide a magnetic field in the range of three to five teslas across the channel. An electromotive force acting in a direction perpendicular to both the flow and the field is set up, and the walls parallel to the magnetic field serve as electrodes to provide current to an external electric circuit. The remaining two walls of the channel are electric insulators. Theoretically, an MHD system with a gas conductivity of 25 siemens per metre, an average magnetic field of three teslas, and an average gas velocity of 1,000 metres per second is capable of generating electric power with a density of about 250 million watts per cubic metre of channel volume.

A complicating feature of a plasma MHD generator is the occurrence of a pronounced Hall effect. This results from the behaviour of electrons in the presence of both magnetic and electric fields. Electrons in the plasma have a much higher mobility than ions. When electric load current flows across the channel, the electrons in this current experience a force directed along the channel. This is the Hall effect—named for its discoverer, the American physicist Edwin H. Hall. As a result of this effect, the electric current flows at an angle across the channel. An additional electric field, called the Hall field, is established along the axis of the channel. This in turn requires that either the electrode walls in a typical generator configuration (see figure) be constructed to support this Hall field or that the Hall field itself be used as the output to drive current through the electric circuit external to the MHD system.

A number of generator configurations have been devised to accommodate the Hall effect. In a Faraday generator, as shown in part A of the figure, the electrode walls are segmented and insulated from each other to support the axial electric field and the electric power is taken out in a series of loads. In the alternate configuration known as a Hall generator, as shown in part B of the figure, the Faraday field across each sector of the channel is short-circuited and the sectors are connected in series. This allows the connection of a single electric load between the ends of the channel. A further generator configuration is shown in part C of the figure. Consideration of the electric potentials at different points in the channel leads to the observation that an equipotential runs diagonally across the insulator walls and that electrodes may be appropriately staggered to match the equipotentials. The series connection of these electrodes in this diagonal generator permits a single electric load to be used.

MHD generator configurations(A) Segmented Faraday generator. (B) Hall generator. (C) Diagonal generator. (D) Disk generator.

Encyclopædia Britannica, Inc.

An attractive alternative to the linear Hall generator in part B of the figure is the disk generator shown in part D of the figure. In this configuration the load current flows radially, and the short-circuited Faraday currents flow in closed circular paths. The Hall output appears between the centre and the periphery of the disk. This disk generator is attractive when nonequilibrium ionization is used.

Major types of MHD systems

Coal-fired MHD systems

The choice of type of MHD generator depends on the fuel to be used and the application. The abundance of coal reserves throughout much of the world has favoured the development of coal-fired MHD systems for electric power production. Coal can be burned at a temperature high enough to provide thermal ionization. However, as the gas expands along the duct or channel, its electrical conductivity drops along with its temperature. Thus, power production with thermal ionization is essentially finished when the temperature falls to about 2,500 K (about 2,200 °C, or 4,000 °F). To be economically competitive, a coal-fired power station would have to combine an MHD generator with a conventional steam plant in what is termed a binary cycle. The hot gas is first passed through the MHD generator (a process known as topping) and then on to the turbogenerator of a conventional steam plant (the bottoming phase). An MHD power plant employing such an arrangement is known as an open-cycle, or once-through, system.

Coal combustion as a source of heat has several advantages. For example, it results in coal slag, which under magnetohydrodynamic conditions is molten and provides a layer that covers all of the insulator and electrode walls. The electrical conductivity of this layer is sufficient to provide conduction between the gas and the electrode structure but not so high as to cause significant leakage of electric currents and consequent power loss. The reduction in thermal losses to the walls because of the slag layer more than compensates for any electrical losses arising from its presence. Also, the use of a seed material in conjunction with coal offers environmental benefits. In particular, the recombination chemistry that occurs in the duct of an MHD generator favours the formation of potassium sulfate in the combustion of high-sulfur coals, thereby reducing sulfur dioxide emissions to the atmosphere. The need to recover seed material also ensures that a high level of particulate removal is built into an MHD coal-fired plant. Finally, by careful design of the boiler and the combustion controls, low levels of nitrogen oxide emissions can be achieved.

Other MHD systems

In addition to natural gas as a fuel source, more-exotic MHD power generation systems have been proposed. Conventional nuclear reactors can employ hydrogen, or a noble gas such as argon or helium, as the working fluid, but they operate at temperatures that are too low to produce the thermal ionization used in MHD generators. Thus, some form of nonequilibrium ionization using seeding material is necessary.

In theory, solar concentrators can provide thermal energy at a temperature high enough to provide thermal ionization. Thus, solar-based MHD systems have potential, provided that solar collectors can be developed that operate reliably for extended periods at high temperatures.

The need to provide large pulses of electrical power at remote sites has stimulated the development of pulsed MHD generators. For this application, the MHD system basically consists of a rocket motor, duct, magnet, and connections to an electrical load. Such generators have been operated as sources for pulse-power electromagnetic sounding apparatuses used in geophysical research. Power levels up to 100 megawatts for a few seconds have been achieved.

A variation of the usual MHD generator employs a liquid metal as its electrically conducting medium. Liquid metal is an attractive option because of its high electrical conductivity, but it cannot serve directly as a thermodynamic working fluid. The liquid has to be combined with a driving gas or vapour to create a two-phase flow in the generator duct, or it has to be accelerated by a thermodynamic pump (often described as an ejector) and then separated from the driving gas or vapour before it passes through the duct. While such liquid metal MHD systems offer attractive features from the viewpoint of electrical machine operation, they are limited in temperature by the properties of liquid metals to about 1,250 K (about 975 °C, or 1,800 °F). Thus, they compete with various existing energy-conversion systems capable of operating in the same temperature range.

The use of MHD generators to provide power for spacecraft for both burst and continuous operations has also been considered. While both chemical and nuclear heat sources have been investigated, the latter has been the preferred choice for applications such as supplying electric propulsion power for deep-space probes.

Development of MHD power generators

The first recorded MHD investigation was conducted in 1821 by the English chemist Humphry Davy when he showed that an arc could be deflected by a magnetic field. More than a decade later, Michael Faraday sought to demonstrate motional electromagnetic induction in a conductor moving through Earth’s geomagnetic field. To this end, he set up in January 1832 a rudimentary open-circuit MHD generator, or flow meter, on the Waterloo Bridge across the River Thames in London. His experiment was unsuccessful owing to the electrodes being electrochemically polarized, an effect not understood at that time.

Faraday soon turned his attention to other aspects of electromagnetic induction, and MHD power generation received little attention until the 1920s and ’30s, when Bela Karlovitz, a Hungarian-born engineer, first proposed a gaseous MHD system. In 1938 he and Hungarian engineer D. Halász set up an experimental MHD facility at the Westinghouse Electric Corporation research laboratories and by 1946 had shown that, through seeding the working gas, small amounts of electric power could be extracted. The project was abandoned, however, largely because of a lack of understanding of the conditions required to make the working gas an effective conductor.

Interest in magnetohydrodynamics grew rapidly during the late 1950s as a result of extensive studies of ionized gases for a number of applications. In 1959 the American engineer Richard J. Rosa operated the first truly successful MHD generator, producing about 10 kilowatts of electric power. By 1963 the Avco Research Laboratory, under the direction of the American physicist Arthur R. Kantrowitz, had constructed and operated a 33-megawatt MHD generator, and for many years this remained a record power output. The assumption in the late 1960s that nuclear power would dominate commercial power generation, and the failure to find applications for space missions, led to a sharp curtailment of MHD research. The energy crisis of the 1970s, however, brought about a revival of interest, with the focus centred on coal-fueled systems. By the late 1980s, development had reached the point where construction of a complete demonstration system was feasible. However, the performance and economic risks have deterred electric power utilities from making deep investments in such systems. This situation may change if energy prices or environmental considerations shift significantly.

William D. Jackson G. Ralph Strohl

Citation Information

Article Title: Magnetohydrodynamic power generator

Website Name: Encyclopaedia Britannica

Publisher: Encyclopaedia Britannica, Inc.

Date Published: 21 March 2016

URL: https://www.britannica.com/technology/magnetohydrodynamic-power-generator

Access Date: May 29, 2021

Groupe électrogène magnétohydrodynamique (ARTICLE TRADUIT PLUS EN BAS)

Table des matières

  • introduction
  • Principes de fonctionnement
  • Principaux types de systèmes MHD
  • Développement de groupes électrogènes MHD

Générateur d’énergie magnétohydrodynamique , l’un quelconque d’une classe de dispositifs qui génèrent de l’énergie électrique au moyen de l’interaction d’un fluide en mouvement (généralement un gaz ou un plasma ionisé ) et un champ magnétique . Les centrales magnétohydrodynamiques (MHD) offrent le potentiel de production d’électricité à grande échelle avec un impact réduit sur l’environnement. Depuis 1970, plusieurs pays ont entrepris des programmes de recherche MHD avec un accent particulier sur l’utilisation du charbon comme combustible. Les générateurs MHD sont également intéressants pour la production de grandes impulsions de puissance électrique.

Le principe sous-jacent de la production d’énergie MHD est d’une simplicité élégante. Typiquement, un gaz électriquement conducteur est produit à haute pression par combustion d’un combustible fossile . Le gaz est ensuite dirigé à travers un champ magnétique, ce qui entraîne une force électromotrice en son sein conformément à la loi d’induction de Faraday (du nom du physicien et chimiste anglais du XIXe siècle Michael Faraday ). Le système MHD constitue un moteur thermique, impliquant une détente du gaz de haute à basse pression d’une manière similaire à celle employée dans un turbogénérateur à gaz conventionnel ( voir figure). Dans le turbogénérateur, le gaz interagit avec les surfaces des pales pour entraîner la turbine et legénérateur électrique . Dans le système MHD, l’ énergie cinétique du gaz est convertie directement en énergie électrique car elle est autorisée à se dilater.

https://cdn.britannica.com/s:1500x700,q:85/36/336-004-08BF8623/Comparison-principles-turbogenerator-MHD-generator.jpg

Comparaison des principes de fonctionnement (A) d’un turbogénérateur et (B) d’un générateur MHD.

Encyclopædia Britannica, Inc.

L’intérêt pour la production d’énergie MHD a été à l’origine stimulé par l’observation que l’interaction d’un plasma avec un champ magnétique pouvait se produire à des températures beaucoup plus élevées que ce qui était possible dans une turbine mécanique rotative. Les performances limites du point de vue de l’efficacité des moteurs thermiques ont été établies au début du XIXe siècle par l’ingénieur français Sadi Carnot . Le cycle de Carnot , qui établit le rendement théorique maximal d’un moteur thermique, est obtenu à partir de la différence entre la température de la source chaude et la température du puits froid, divisée par la température de la source. Par exemple, si la température de la source est de 3000 K (environ 2700 ° C ou 4900 ° F) et la température du puits de 300 K (environ 30 ° C ou 85 ° F), l’efficacité théorique maximale serait de 90%. En tenant compte des inefficacités introduites par des taux de transfert de chaleur finis et des inefficacités des composants dans les moteurs thermiques réels, un système utilisant un générateur MHD offre le potentiel d’une efficacité ultime de l’ordre de 60 à 65%. C’est bien mieux que l’efficacité de 35 à 40% qui peut être obtenue dans une usine conventionnelle moderne. De plus, les générateurs MHD produisent moins de polluants que les centrales conventionnelles. Cependant, les coûts de construction plus élevés des systèmes MHD ont limité leur adoption.

Principes de fonctionnement

La structure de base d’un générateur MHD est illustrée sur la figure. Dans un générateur MHD, le gaz chaud est accéléré par une buse et injecté dans un canal. Un champ magnétique puissant est mis en place à travers le canal. Conformément à la loi d’induction de Faraday, un champ électrique est établi qui agit dans une direction perpendiculaire à la fois au flux de gaz et au champ magnétique. Les parois du canal parallèles au champ magnétique servent d’électrodes et permettent au générateur de fournir un courant électrique à un circuit externe.

https://cdn.britannica.com/s:1500x700,q:85/37/337-004-06CEACE5/MHD-generator-load-current-V-voltage.jpg

MHD simple GeneratorLe courant de charge est représenté par I et la tension par V .

Encyclopædia Britannica, Inc.

La puissance de sortie d’un générateur MHD pour chaque mètre cube de son volume de canal est proportionnelle au produit de la conductivité du gaz, du carré de la vitesse du gaz et du carré de la force du champ magnétique à travers lequel le gaz passe. Pour que les générateurs MHD fonctionnent de manière compétitive avec de bonnes performances et des dimensions physiques raisonnables, la conductivité électrique du plasma doit être dans une plage de température supérieure à environ 1800 K (environ 1500 ° C ou 2800 ° F). Les aubes de turbine d’un système d’alimentation à turbine à gaz sont incapables de fonctionner à de telles températures. Une valeur adéquate de conductivité électrique – 10 à 50 siemens par mètre – peut être obtenue si un additif, typiquement d’environ 1 pour cent en masse, est injecté dans le gaz chaud. Cet additif est un matériau alcalin facilement ionisable , tel que le césium , le carbonate de potassium ou le sodium , et est appelé «germe». Alors que le césium a le potentiel ionisant le plus bas (3,894 électron-volts), le potassium (4,341 électron-volts) est moins coûteux. Même si la quantité de matériel de semence est faible, le fonctionnement économique nécessite la mise en place d’un système pour en récupérer autant que possible.

Le gaz chaud avec sa semence est à une pression de plusieurs millions de pascals . Il est accéléré par une buse à une vitesse qui peut être comprise entre 1 000 et 2 000 mètres (environ 3 300 à 6 600 pieds) par seconde. Le gaz pénètre alors dans le canal ou le conduit, à travers lequel le champ magnétique est appliqué. Pour produire un système MHD compétitif, ce champ magnétique doit avoir une intensité élevée. Typiquement, un aimant supraconducteur est utilisé pour fournir un champ magnétique dans la plage de trois à cinq teslas à travers le canal. Une force électromotrice agissant dans une direction perpendiculaire à la fois à l’écoulement et au champ est établie, et les parois parallèles au champ magnétique servent d’électrodes pour fournir du courant à un circuit électrique externe. Les deux autres parois du canal sont des isolants électriques. Théoriquement, un système MHD avec une conductivité du gaz de 25 siemens par mètre, un champ magnétique moyen de trois teslas et une vitesse moyenne du gaz de 1000 mètres par seconde est capable de générer de l’énergie électrique avec une densité d’environ 250 millions de watts par mètre cube. du volume du canal.

Une caractéristique compliquée d’un générateur plasma MHD est l’apparition d’un effet Hall prononcé . Cela résulte du comportement des électrons en présence à la fois de champs magnétiques et électriques. Les électrons du plasma ont une mobilité beaucoup plus élevée que les ions. Lorsque le courant de charge électrique traverse le canal, les électrons de ce courant subissent une force dirigée le long du canal. C’est l’effet Hall – du nom de son découvreur, le physicien américain Edwin H. Hall. En raison de cet effet, le courant électrique circule sous un angle à travers le canal. Un champ électrique supplémentaire, appelé champ de Hall, est établi le long de l’axe du canal. Cela nécessite à son tour que les parois d’électrode dans une configuration de générateur typique ( voir figure) soient construites pour supporter ce champ Hall ou que le champ Hall lui-même soit utilisé comme sortie pour conduire le courant à travers le circuit électrique externe au système MHD.

Un certain nombre de configurations de générateur ont été conçues pour s’adapter à l’effet Hall. Dans un générateur de Faraday, comme le montre la partie A de la figure, les parois des électrodes sont segmentées et isolées les unes des autres pour supporter le champ électrique axial et l’énergie électrique est prélevée dans une série de charges. Dans la configuration alternative connue sous le nom de générateur à effet Hall, comme le montre la partie B de la figure, le champ de Faraday à travers chaque secteur du canal est court-circuité et les secteurs sont connectés en série. Cela permet la connexion d’une seule charge électrique entre les extrémités du canal. Une autre configuration de générateur est représentée dans la partie C de la figure. La prise en compte des potentiels électriques en différents points du canal conduit à l’observation qu’une équipotentielle passe en diagonale à travers les parois de l’isolant et que les électrodes peuvent être décalées de manière appropriée pour correspondre aux équipotentielles. La connexion en série de ces électrodes dans ce générateur diagonal permet d’utiliser une seule charge électrique.

https://cdn.britannica.com/s:1500x700,q:85/38/338-004-FBC3CAEA/generator-configurations-MHD-Faraday-Hall-Disk.jpg

Configurations du générateur MHD (A) Générateur Faraday segmenté. (B) Générateur de Hall. (C) Générateur diagonal. (D) Générateur de disque.

Encyclopædia Britannica, Inc.

Une alternative intéressante au générateur de Hall linéaire dans la partie B de la figure est le générateur de disque montré dans la partie D de la figure. Dans cette configuration, le courant de charge circule radialement et les courants de Faraday court-circuités circulent dans des chemins circulaires fermés. La sortie Hall apparaît entre le centre et la périphérie du disque. Ce générateur de disque est intéressant lorsque l’ionisation sans équilibre est utilisée.

Principaux types de systèmes MHD

Systèmes MHD au charbon

Le choix du type de générateur MHD dépend du carburant à utiliser et de l’application. L’abondance des réserves de charbon dans une grande partie du monde a favorisé le développement de systèmes MHD alimentés au charbon pour la production d’électricité. Le charbon peut être brûlé à une température suffisamment élevée pour fournir une ionisation thermique. Cependant, à mesure que le gaz se dilate le long du conduit ou du canal, sa conductivité électrique diminue avec sa température. Ainsi, la production d’énergie avec ionisation thermique est essentiellement terminée lorsque la température tombe à environ 2 500 K (environ 2 200 ° C ou 4 000 ° F). Pour être économiquement compétitive, une centrale au charbon devrait combiner un générateur MHD avec une centrale à vapeur conventionnelle dans ce qu’on appelle un cycle binaire. Le gaz chaud est d’abord passé à travers le générateur MHD (un processus connu sous le nom d’étêtage), puis sur le turbogénérateur d’une centrale à vapeur conventionnelle (la phase de fond). Une centrale électrique MHD employant un tel agencement est connue sous le nom de système à cycle ouvert ou à passage unique.

La combustion du charbon comme source de chaleur présente plusieurs avantages. Par exemple, il en résulte un laitier de charbon qui, dans des conditions magnétohydrodynamiques, est fondu et fournit une couche qui recouvre toutes les parois de l’isolant et de l’électrode. La conductivité électrique de cette couche est suffisante pour assurer une conduction entre le gaz et la structure d’électrode mais pas suffisamment élevée pour provoquer une fuite significative de courants électriques et une perte de puissance conséquente. La réduction des pertes thermiques aux parois du fait de la couche de laitier compense largement les éventuelles pertes électriques liées à sa présence. En outre, l’utilisation d’un matériau de semence en conjonction avec du charbon offre des avantages environnementaux. En particulier, la chimie de recombinaison qui se produit dans le conduit d’un générateur MHD favorise la formation de sulfate de potassium lors de la combustion de charbons à haute teneur en soufre, réduisant ainsi les émissions de dioxyde de soufre dans l’atmosphère. La nécessité de récupérer le matériel de semence garantit également qu’un niveau élevé d’élimination des particules est intégré dans une centrale au charbon MHD. Enfin, grâce à une conception soignée de la chaudière et des commandes de combustion, de faibles niveaux d’émissions d’oxyde d’azote peuvent être atteints.

Autres systèmes MHD

En plus du gaz naturel comme source de carburant, des systèmes de production d’électricité MHD plus exotiques ont été proposés. Les réacteurs nucléaires conventionnels peuvent utiliser de l’ hydrogène , ou un gaz rare tel que l’ argon ou l’ hélium , comme fluide de travail, mais ils fonctionnent à des températures trop basses pour produire l’ionisation thermique utilisée dans les générateurs MHD. Ainsi, une certaine forme d’ionisation hors équilibre utilisant un matériau d’ensemencement est nécessaire.

En théorie, les concentrateurs solaires peuvent fournir de l’énergie thermique à une température suffisamment élevée pour assurer une ionisation thermique. Ainsi, les systèmes MHD basés sur l’énergie solaire ont un potentiel, à condition que des capteurs solaires puissent être développés pour fonctionner de manière fiable pendant de longues périodes à des températures élevées.

La nécessité de fournir de grandes impulsions d’énergie électrique sur des sites éloignés a stimulé le développement de générateurs MHD pulsés. Pour cette application, le système MHD se compose essentiellement d’un moteur de fusée, d’un conduit, d’un aimant et de connexions à une charge électrique. Ces générateurs ont été utilisés comme sources pour des appareils de sondage électromagnétique à impulsions utilisés dans la recherche géophysique. Des niveaux de puissance allant jusqu’à 100 mégawatts pendant quelques secondes ont été atteints.

Une variante du générateur MHD habituel utilise un métal liquide comme milieu électriquement conducteur. Le métal liquide est une option intéressante en raison de sa conductivité électrique élevée, mais il ne peut pas servir directement de fluide de travail thermodynamique. Le liquide doit être combiné avec un gaz ou une vapeur d’entraînement pour créer un écoulement diphasique dans le conduit du générateur, ou il doit être accéléré par une pompe thermodynamique (souvent décrite comme un éjecteur) puis séparé du gaz ou de la vapeur d’entraînement. avant qu’il ne traverse le conduit. Alors que de tels systèmes MHD à métal liquide offrent des caractéristiques intéressantes du point de vue du fonctionnement de la machine électrique, ils sont limités en température par les propriétés des métaux liquides à environ 1 250 K (environ 975 ° C ou 1 800 ° F). Ainsi, ils sont en concurrence avec divers systèmes de conversion d’énergie existants capables de fonctionner dans la même plage de température.

L’utilisation de générateurs MHD pour fournir de l’énergie aux engins spatiaux pour les opérations en rafale et en continu a également été envisagée. Bien que les sources de chaleur chimiques et nucléaires aient été étudiées, cette dernière a été le choix préféré pour des applications telles que la fourniture d’énergie de propulsion électrique pour les sondes dans l’espace lointain.

Développement de groupes électrogènes MHD

La première enquête MHD enregistrée a été menée en 1821 par le chimiste anglais Humphry Davy lorsqu’il a montré qu’un arc pouvait être dévié par un champ magnétique . Plus d’une décennie plus tard, Michael Faraday a cherché à démontrer l’induction électromagnétique motionnelle dans un conducteur se déplaçant à travers le champ géomagnétique de la Terre . À cette fin, il installa en janvier 1832 un générateur rudimentaire MHD à circuit ouvert, ou débitmètre, sur le pont de Waterloo sur la Tamise à Londres. Son expérience a échoué en raison de la polarisation électrochimique des électrodes, un effet non compris à ce moment-là.

Faraday s’est rapidement tourné vers d’autres aspects de l’induction électromagnétique, et la production d’énergie MHD a reçu peu d’attention jusqu’aux années 1920 et 1930, lorsque Bela Karlovitz, un ingénieur d’origine hongroise, a proposé pour la première fois un système MHD gazeux. En 1938, lui et l’ingénieur hongrois D. Halász ont mis en place une installation expérimentale de MHD dans les laboratoires de recherche de Westinghouse Electric Corporation et en 1946 avaient montré qu’en ensemencant le gaz de travail, de petites quantités d’énergie électrique pouvaient être extraites. Cependant, le projet a été abandonné, en grande partie à cause d’un manque de compréhension des conditions requises pour faire du gaz de travail un conducteur efficace.

L’intérêt pour la magnétohydrodynamique s’est développé rapidement à la fin des années 1950 à la suite d’études approfondies sur les gaz ionisés pour un certain nombre d’applications. En 1959, l’ingénieur américain Richard J. Rosa a exploité le premier générateur MHD vraiment réussi, produisant environ 10 kilowatts d’énergie électrique. En 1963, le laboratoire de recherche Avco, sous la direction du physicien américain Arthur R. Kantrowitz, avait construit et exploité un générateur MHD de 33 mégawatts, et pendant de nombreuses années, cela resta une puissance record. L’hypothèse de la fin des années 1960 selon laquelle l’énergie nucléaire dominerait la production d’électricité commerciale et l’incapacité de trouver des applications pour les missions spatiales ont conduit à une forte réduction de la recherche sur les MHD. La crise énergétique des années 70 a cependant suscité un regain d’intérêt, l’accent étant mis sur les systèmes alimentés au charbon. À la fin des années 80, le développement avait atteint le point où la construction d’un système de démonstration complet était possible. Cependant, les performances et les risques économiques ont dissuadé les compagnies d’électricité de faire des investissements importants dans de tels systèmes. Cette situation peut changer si les prix de l’énergie ou les considérations environnementales changent de manière significative.

William D. Jackson G. Ralph Strohl

Informations de citation

Titre de l’article: Générateur d’énergie magnétohydrodynamique

Nom du site Web: Encyclopaedia Britannica

Éditeur: Encyclopaedia Britannica, Inc.

Date de publication: 21 mars 2016

URL: https://www.britannica.com/technology/magnetohydrodynamic-power-generator

Date d’accès: 29 mai 2021

Générateur de puissance magnétohydrodynamique (ARTICLE TRADUIT PLUS EN BAS)

Table des matières

  • introduction
  • Principes de fonctionnement
  • Principaux types de systèmes MHD
  • Développement de groupes électrogènes MHD

Générateur de puissance magnétohydrodynamique, l’un quelconque d’une classe de dispositifs qui génèrent de l’énergie électrique au moyen de l’interaction d’un fluide en mouvement (généralement un gaz ionisé ou plasma) et un champ magnétique. Les centrales magnétohydrodynamiques (MHD) offrent le potentiel de production d’électricité à grande échelle avec un impact réduit sur l’environnement. Depuis 1970, plusieurs pays ont entrepris des programmes de recherche MHD avec un accent particulier sur l’utilisation decharboncomme carburant. Les générateurs MHD sont également intéressants pour la production de grandes impulsions de puissance électrique.

Le principe sous-jacent de la production d’énergie MHD est d’une simplicité élégante. Typiquement, un gaz électriquement conducteur est produit à haute pression par la combustion d’uncombustibles fossiles. Le gaz est ensuite dirigé à travers un champ magnétique, ce qui entraîne unforce électromotrice en son sein conformément à Loi d’induction de Faraday (du nom du physicien et chimiste anglais du XIXe siècle Michael Faraday). Le système MHD constitue un moteur thermique, impliquant une détente du gaz de haute à basse pression d’une manière similaire à celle employée dans un turbogénérateur à gaz conventionnel (voir figure). Dans le turbogénérateur, le gaz interagit avec les surfaces des pales pour entraîner leturbine et la pièce jointe générateur électrique. Dans le système MHD, leénergie cinétique du gaz est converti directement en énergie électrique car il est autorisé à se dilater.

Comparaison des principes de fonctionnement (A) d’un turbogénérateur et (B) d’un générateur MHD.

Encyclopædia Britannica, Inc.

L’intérêt pour la production d’énergie MHD a été à l’origine stimulé par l’observation que l’interaction d’un plasma avec un champ magnétique pouvait se produire à des températures beaucoup plus élevées que celles possibles dans une turbine mécanique rotative. Les performances limites du point de vue de l’efficacité des moteurs thermiques ont été établies au début du XIXe siècle par l’ingénieur françaisSadi Carnot. leCycle de Carnot, qui établit le rendement théorique maximal d’un moteur thermique, est obtenu à partir de la différence entre la température de la source chaude et la température du puits froid, divisée par la température de la source. Par exemple, si la température de la source est de 3000 K (environ 2700 ° C ou 4900 ° F) et la température du puits de 300 K (environ 30 ° C ou 85 ° F), l’efficacité théorique maximale serait de 90%. En tenant compte des inefficacités introduites par des taux de transfert de chaleur finis et des inefficacités des composants dans les moteurs thermiques réels, un système utilisant un générateur MHD offre le potentiel d’une efficacité ultime de l’ordre de 60 à 65%. C’est bien mieux que l’efficacité de 35 à 40% qui peut être obtenue dans une usine conventionnelle moderne. De plus, les générateurs MHD produisent moins de polluants que les centrales conventionnelles. cependant,

Principes de fonctionnement

La structure de base d’un générateur MHD est illustrée sur la figure. Dans un générateur MHD, le gaz chaud est accéléré par une buse et injecté dans un canal. Un champ magnétique puissant est mis en place à travers le canal. Conformément à la loi d’induction de Faraday, un champ électrique est établi qui agit dans une direction perpendiculaire à la fois au flux de gaz et au champ magnétique. Les parois du canal parallèles au champ magnétique servent d’électrodes et permettent au générateur de fournir un courant électrique à un circuit externe.

Générateur MHD simple Le courant de charge est représenté par I et la tension par V.

Encyclopædia Britannica, Inc.

La puissance de sortie d’un générateur MHD pour chaque mètre cube de son volume de canal est proportionnelle au produit de la conductivité du gaz, du carré de la vitesse du gaz et du carré de la force du champ magnétique à travers lequel le gaz passe. Pour que les générateurs MHD fonctionnent de manière compétitive avec de bonnes performances et des dimensions physiques raisonnables, la conductivité électrique du plasma doit être dans une plage de température supérieure à environ 1800 K (environ 1500 ° C ou 2800 ° F). Les aubes de turbine d’un système d’alimentation à turbine à gaz sont incapables de fonctionner à de telles températures. Une valeur adéquate de conductivité électrique – 10 à 50siemenspar mètre – peut être obtenu si un additif, typiquement d’environ 1 pour cent en masse, est injecté dans le gaz chaud. Cet additif est unalcali matériel, tel que césium, carbonate de potassium, ou sodium, et est appelée la «graine». Alors que le césium a le potentiel ionisant le plus bas (3,894 électron-volts), le potassium (4,341 électron-volts) est moins coûteux. Même si la quantité de matériel de semence est faible, le fonctionnement économique nécessite la mise en place d’un système pour en récupérer autant que possible.

Le gaz chaud avec sa graine est à une pression de plusieurs millions pascals. Il est accéléré par une buse à une vitesse qui peut être comprise entre 1 000 et 2 000 mètres (environ 3 300 à 6 600 pieds) par seconde. Le gaz pénètre alors dans le canal ou le conduit, à travers lequel le champ magnétique est appliqué. Pour produire un système MHD compétitif, ce champ magnétique doit avoir une intensité élevée. En règle générale, unsupraconducteur l’aimant est utilisé pour fournir un champ magnétique de l’ordre de trois à cinq teslas à travers le canal. Une force électromotrice agissant dans une direction perpendiculaire à la fois à l’écoulement et au champ est établie, et les parois parallèles au champ magnétique servent d’électrodes pour fournir du courant à un circuit électrique externe. Les deux autres parois du canal sont des isolants électriques. Théoriquement, un système MHD avec une conductivité du gaz de 25 siemens par mètre, un champ magnétique moyen de trois teslas et une vitesse moyenne du gaz de 1000 mètres par seconde est capable de générer de l’énergie électrique avec une densité d’environ 250 millions de watts par mètre cube. du volume du canal.

Une caractéristique compliquée d’un générateur de plasma MHD est l’apparition d’un prononcé effet Hall. Cela résulte du comportement des électrons en présence à la fois de champs magnétiques et électriques. Les électrons du plasma ont une mobilité beaucoup plus élevée que les ions. Lorsque le courant de charge électrique traverse le canal, les électrons de ce courant subissent une force dirigée le long du canal. C’est l’effet Hall – du nom de son découvreur, le physicien américain Edwin H. Hall. En raison de cet effet, le courant électrique circule sous un angle à travers le canal. Un champ électrique supplémentaire, appelé champ de Hall, est établi le long de l’axe du canal. Cela nécessite à son tour que les parois d’électrode dans une configuration de générateur typique (voir figure) soient construites pour supporter ce champ Hall ou que le champ Hall lui-même soit utilisé comme sortie pour conduire le courant à travers le circuit électrique externe au système MHD.

Un certain nombre de configurations de générateur ont été conçues pour s’adapter à l’effet Hall. Dans un générateur de Faraday, comme le montre la partie A de la figure, les parois des électrodes sont segmentées et isolées les unes des autres pour supporter le champ électrique axial et l’énergie électrique est prélevée dans une série de charges. Dans la configuration alternative connue sous le nom de générateur à effet Hall, comme le montre la partie B de la figure, le champ de Faraday à travers chaque secteur du canal est court-circuité et les secteurs sont connectés en série. Cela permet la connexion d’une seule charge électrique entre les extrémités du canal. Une autre configuration de générateur est représentée dans la partie C de la figure. La prise en compte des potentiels électriques en différents points du canal conduit à l’observation qu’une équipotentielle passe en diagonale à travers les parois de l’isolant et que les électrodes peuvent être décalées de manière appropriée pour correspondre aux équipotentielles. La connexion en série de ces électrodes dans ce générateur diagonal permet d’utiliser une seule charge électrique.

Configurations du générateur MHD (A) Générateur Faraday segmenté. (B) Générateur de Hall. (C) Générateur diagonal. (D) Générateur de disque.

Encyclopædia Britannica, Inc.

Une alternative intéressante au générateur de Hall linéaire dans la partie B de la figure est le générateur de disque montré dans la partie D de la figure. Dans cette configuration, le courant de charge circule radialement et les courants de Faraday court-circuités circulent dans des chemins circulaires fermés. La sortie Hall apparaît entre le centre et la périphérie du disque. Ce générateur de disque est intéressant lorsque l’ionisation sans équilibre est utilisée.

Principaux types de systèmes MHD

Systèmes MHD au charbon

Le choix du type de générateur MHD dépend du carburant à utiliser et de l’application. L’abondance decharbonLes réserves dans une grande partie du monde ont favorisé le développement de systèmes MHD alimentés au charbon pour la production d’énergie électrique. Le charbon peut être brûlé à une température suffisamment élevée pour fournir une ionisation thermique. Cependant, à mesure que le gaz se dilate le long du conduit ou du canal, sa conductivité électrique diminue avec sa température. Ainsi, la production d’énergie avec ionisation thermique est essentiellement terminée lorsque la température tombe à environ 2 500 K (environ 2 200 ° C ou 4 000 ° F). Pour être économiquement compétitive, une centrale au charbon devrait combiner un générateur MHD avec une centrale à vapeur conventionnelle dans ce qu’on appelle un cycle binaire. Le gaz chaud est d’abord passé à travers le générateur MHD (un processus connu sous le nom d’étêtage), puis sur le turbogénérateur d’une centrale à vapeur conventionnelle (la phase de fond).

La combustion du charbon comme source de chaleur présente plusieurs avantages. Par exemple, il en résulte un laitier de charbon qui, dans des conditions magnétohydrodynamiques, est fondu et fournit une couche qui recouvre toutes les parois de l’isolant et de l’électrode. La conductivité électrique de cette couche est suffisante pour assurer une conduction entre le gaz et la structure d’électrode mais pas suffisamment élevée pour provoquer une fuite significative de courants électriques et une perte de puissance conséquente. La réduction des pertes thermiques aux parois du fait de la couche de laitier compense largement les éventuelles pertes électriques liées à sa présence. En outre, l’utilisation d’un matériau de semence en conjonction avec du charbon offre des avantages environnementaux. En particulier, la chimie de recombinaison qui se produit dans le conduit d’un générateur MHD favorise la formation de sulfate de potassium lors de la combustion de charbons à haute teneur en soufre, réduisant ainsi les émissions de dioxyde de soufre dans l’atmosphère. La nécessité de récupérer le matériel de semence garantit également qu’un niveau élevé d’élimination des particules est intégré dans une centrale au charbon MHD. Enfin, grâce à une conception soignée de la chaudière et des commandes de combustion, de faibles niveaux d’émissions d’oxyde d’azote peuvent être atteints.

Autres systèmes MHD

En plus de gaz naturelcomme source de carburant, des systèmes de production d’électricité MHD plus exotiques ont été proposés. Conventionnelréacteurs nucléaires peut employer hydrogène, ou un gaz rare tel que argon ou alors hélium, comme fluide de travail, mais ils fonctionnent à des températures trop basses pour produire l’ionisation thermique utilisée dans les générateurs MHD. Ainsi, une certaine forme d’ionisation hors équilibre utilisant un matériau d’ensemencement est nécessaire.

En théorie, les concentrateurs solaires peuvent fournir de l’énergie thermique à une température suffisamment élevée pour assurer une ionisation thermique. Ainsi, les systèmes MHD basés sur l’énergie solaire ont un potentiel, à condition que des capteurs solaires puissent être développés pour fonctionner de manière fiable pendant de longues périodes à des températures élevées.

La nécessité de fournir de grandes impulsions d’énergie électrique sur des sites éloignés a stimulé le développement de générateurs MHD pulsés. Pour cette application, le système MHD se compose essentiellement d’un moteur de fusée, d’un conduit, d’un aimant et de connexions à une charge électrique. Ces générateurs ont été utilisés comme sources pour des appareils de sondage électromagnétique à impulsions utilisés dans la recherche géophysique. Des niveaux de puissance allant jusqu’à 100 mégawatts pendant quelques secondes ont été atteints.

Une variante du générateur MHD habituel utilise un métal liquide comme milieu électriquement conducteur. Le métal liquide est une option intéressante en raison de sa conductivité électrique élevée, mais il ne peut pas servir directement de fluide de travail thermodynamique. Le liquide doit être combiné avec un gaz ou une vapeur d’entraînement pour créer un écoulement diphasique dans le conduit du générateur, ou il doit être accéléré par une pompe thermodynamique (souvent décrite comme un éjecteur) puis séparé du gaz ou de la vapeur d’entraînement. avant qu’il ne traverse le conduit. Alors que de tels systèmes MHD à métal liquide offrent des caractéristiques intéressantes du point de vue du fonctionnement de la machine électrique, ils sont limités en température par les propriétés des métaux liquides à environ 1 250 K (environ 975 ° C ou 1 800 ° F). Ainsi,

L’utilisation de générateurs MHD pour fournir de l’énergie aux engins spatiaux pour les opérations en rafale et en continu a également été envisagée. Bien que les sources de chaleur chimiques et nucléaires aient été étudiées, cette dernière a été le choix préféré pour des applications telles que la fourniture d’énergie de propulsion électrique pour les sondes dans l’espace lointain.

Développement de groupes électrogènes MHD

La première enquête MHD enregistrée a été menée en 1821 par le chimiste anglais Humphry Davy quand il a montré qu’un arc pouvait être dévié par un champ magnétique. Plus d’une décennie plus tard,Michael Faraday a cherché à démontrer l’induction électromagnétique motionnelle dans un conducteur se déplaçant à travers la Terre champ géomagnétique. À cette fin, il installa en janvier 1832 un générateur rudimentaire MHD à circuit ouvert, ou débitmètre, sur le pont de Waterloo sur la Tamise à Londres. Son expérience a échoué en raison de la polarisation électrochimique des électrodes, un effet non compris à ce moment-là.

Faraday s’est rapidement tourné vers d’autres aspects de l’induction électromagnétique, et la production d’énergie MHD a reçu peu d’attention jusqu’aux années 1920 et 1930, lorsque Bela Karlovitz, un ingénieur d’origine hongroise, a proposé pour la première fois un système MHD gazeux. En 1938, lui et l’ingénieur hongrois D. Halász ont mis en place une installation expérimentale de MHD à laWestinghouse Electric Corporationles laboratoires de recherche et en 1946 avaient montré qu’en ensemencant le gaz de travail, de petites quantités d’énergie électrique pouvaient être extraites. Cependant, le projet a été abandonné, en grande partie à cause d’un manque de compréhension des conditions requises pour faire du gaz de travail un conducteur efficace.

L’intérêt pour la magnétohydrodynamique s’est développé rapidement à la fin des années 1950 à la suite d’études approfondies sur les gaz ionisés pour un certain nombre d’applications. En 1959, l’ingénieur américain Richard J. Rosa a exploité le premier générateur MHD vraiment réussi, produisant environ 10 kilowatts d’énergie électrique. En 1963, le laboratoire de recherche Avco, sous la direction du physicien américain Arthur R. Kantrowitz, avait construit et exploité un générateur MHD de 33 mégawatts, et pendant de nombreuses années, cela resta une puissance record. L’hypothèse de la fin des années 1960 selon laquelle l’énergie nucléaire dominerait la production d’électricité commerciale et l’incapacité de trouver des applications pour les missions spatiales ont conduit à une forte réduction de la recherche sur les MHD. La crise énergétique des années 70 a cependant suscité un regain d’intérêt, l’accent étant mis sur les systèmes alimentés au charbon. À la fin des années 1980, le développement avait atteint le point où la construction d’un système de démonstration complet était possible. Cependant, les performances et les risques économiques ont dissuadé les compagnies d’électricité de faire des investissements profonds dans de tels systèmes. Cette situation peut changer si les prix de l’énergie ou les considérations environnementales changent de manière significative.

William D. Jackson G. Ralph Strohl

Informations de citation

Titre de l’article: Générateur d’énergie magnétohydrodynamique

Nom du site Web: Encyclopaedia Britannica

Éditeur: Encyclopaedia Britannica, Inc.

Date de publication: 21 mars 2016

URL: https://www.britannica.com/technology/magnetohydrodynamic-power-generator

Date d’accès: 29 mai 2021

M.H.D. : une technologie du futur mise au placard

1ère partie

Marsha Freeman Gil Rivière-Wekstein

La magnétohydrodynamique a longtemps été l’enfant chéri des ingénieurs russes. Elle a été également étudiée aux États-Unis et en France, mais rapidement abandonnée.

Rares sont ceux qui croient encore au potentiel de cette technologie. Son fantastique potentiel ne mérite pourtant pas un abandon aussi rapide. Les auteurs rappellent les éléments physiques de base de cette technologie et font l’historique de son développement expérimental. Dans une deuxième partie, à paraître dans notre prochain numéro, ils examineront les applications industrielles possibles.

Si cette fin de siècle semble être marquée par une course tech­nologique provoquant des bouleversements  importants dans la robotique, l’informatiques et les communications, nous sommes pourtant fort loin de l’optimisme scientifique des années 50 et 60. Des moteurs à propulsion nucléaire pour la colonisation de Mars à l’énergie contrôlée et inépuisable de la fusion thermonucléaire en passant par les trains à lévitation magnétique par­courant Los Angeles-New York  en une demi-heure, tout semblait alors possible pour l’humanité. Les limites étaient simplement celles qu’impo­sait notre imagination.

Ce ne fut pas l’irréalisme des pro­jets de l’époque, mais plutôt le changement progressif dans les choix po­litiques en Europe et surtout aux Etats­-Unis qui arrêta – momentanément, espérons-le – l’enthousiasme scien­tifique de l’après-guerre.

C’est également le cas en ce qui concerne les recherches liées à la magnétohydrodynamique (M.H.D.). A l’exception de quelques résistants disséminés de par le monde, rares sont ceux qui croient encore aux possibilités technologiques que ca­chent ces trois lettres. Et pourtant…

Et pourtant, imaginez une méthode­ de production électrique qui doublerait la quantité d’électricité en­gendrée par une tonne de charbon, de gaz naturel ou d’uranium! Imagi­nez que de surcroît cette technologie ne produise pratiquement pas de pollution!

Telle était effectivement l’idée des chercheurs qui, depuis la fin des an­nées 50, travaillaient à un extraordi­naire projet : la conversion directe d’énergie. En effet, dans toutes les formes actuelles de centrales thermiques (gaz, charbon, nucléaire), la con­version de l’énergie calorifique en énergie électrique s’accomplit grâce à un système de turbines à vapeur, technologie développée depuis plus d’un siècle et demi. Or, grâce à la déclassification des secrets militaires concernant la bombe H, on a pu entreprendre des recherches sérieuses pour maîtriser l’énergie de fusion. Cependant, on ne pouvait en aucun cas envisager l’utilisation d’une turbine à vapeur à basse température pour la conversion d’énergie dégagée par un plasma de plusieurs millions de degrés.

C’est alors que des savants comme l’Américain Arthur Kantrowitz virent dans le phénomène bien connu de l’interférence entre champ magnéti­que et champ électrique l’opportuni­té de développer un mode de conver­sion d’énergie nouveau, révolution­naire.

L’idée d’utiliser cette interférence pour produire de l’électricité remon­te en fait à 1832, lorsque l’anglais Michael Faraday tira un fil de cuivre, long de 290 mètres, au-dessus de la Tamise, fixant à chaque extrémité du fil une plaque métallique plongée dans l’eau (Figure l). Faraday écrit dans son journal :  » (…) l’eau du fleuve entre les plaques ferma le circuit et, étant en mouvement, devrait produire grâce à l’ind11ction magnéto-électrique un courant repérable ,,. En effet, le gal­vanomètre que Faraday avait con­necté au fil de cuivre indiqua l’exis­tence d’un faible courant.

Fig. 1 – L’expérience de Faraday

Michael Faraday réalisa en 1832 la première expérience démontrant qu’on pouvait produire un courant électrique par conversion directe. Le fluide chargé en mouve­ment est ici constitué par l’eau salée de la Tamise; le champ magnétique exteme est celui de la Terre; et les électrodes  qui permettent de recueillir le courant de Faraday sont les plaques métalliques immergées dans le fleuve.

L’explication de ce phénomène fait appel à des notions de dynamique des fluides et d’électromagnétisme postérieures à Faraday. Une force, appelée force de Lorentz (Figure 2), est engendrée lorsqu’un fluide tra­verse un champ magnétique, per­pendiculaire à sa direction. Agissant sur le fluide, elle sépare les ions (par­ticules chargées positivement) des électrons (particules chargées négati­vement) ; la différence de potentiel ainsi générée produit un courant élec­trique, le courant de Faraday. (Figu­re 3)

Lorsqu’un flux de particules chargées passe dans un champ magnétique B, dont la direction fait un angle droit avec celle du flux, une force s’exerce sur les particules chargées. Cette force de Lorentz sépare les particules selon leur charge, positive et négative, et fournit donc le potentiel électrique à partir duquel on peut obtenir un courant en connectant une charge.

Le courantde Faraday dans un M.H.D. résulte de l’action de la force de Lo­rentz sur les pmticules d’un fluide ionisé. Le courant généré est perpendiculaire à la direction du mouvement d’un fluide et au champ magnétique externe.

Lorsque Faraday fit ses expérien­ces, il démontra l’existence de ce phénomène pour les fluides conduc­teurs mais également pour tous les corps conducteurs. En fait, il fit la plupart de ses travaux, en dehors de l’expérience du Pont de Waterloo sur la Tamise, avec des métaux conducteurs liquides, comme le mercure.

Dès la fin des années 50, ce princi­pe a été appliqué à de nombreux projets: la propulsion d’engins spa­tiaux, la recherche géophysique, la réalisation de systèmes générateurs d’électricité portables où la taille et le poids imposent des restrictions, la conversion directe d’énergie dans les centrales thermiques, nucléaire ainsi que la fusion thermonucléaire.

Cependant, le domaine dans lequel le développement des systèmes M.H.D. a reçu la plus grande atten­tion à l’échelle internationale est sans aucun doute la conversion électrique pour les centrales thermiques à charbon ou à gaz.

La M.H.D. pour les centrales thermiques

Le principal avantage de la M.H.D. par rapport aux turbines à vapeur vient du fait qu’elle permet d’avoir un rendement supérieur en électrici­té grâce à une température bien plus élevée. En effet, la limite extrême pour des turbines à vapeur est de 1000°C, limite due aux contraintes des matériaux et à la rotation des énormes engins. Or, pour ioniser partiellement le combustible fossile de manière à ce qu’il puisse servir de fluide conducteur dans un générateur MHD, il faut obtenir des températures de combustion de l’ordre de 2000°C. De cette température de 2000°C à l’entrée, le gaz qui traverse le générateur M.H.D. tombe à envi­ron 1000°C. C’est ce différentiel im­portant qui donne à la conversion M.H.D. un haut rendement.

L’on estime que pour la première génération d’une centrale fossile M.H.D., la conversion énergétique pourrait atteindre 48 à 52°C et jus­qu’à 70% pour la seconde généra­tion, contre 35 à 40% pour les turbi­nes à vapeur actuelles. Une telle aug­mentation équivaut donc à doubler le rendement de chaque unité des centrales thermiques.

La M.H.D. présente bien d’autres avantages, dont un qui n’est pas négligeable : son impact sur l’environ­nement est minime. En effet, les tem­pératures de combustion sont telle­ment élevées que les résidus polluants sont fortement réduits (jusqu’à 90%). Ensuite, les expériences ont montré que si l’on ajoute du potassium au fluide conducteur afin d’accroître sa conductibilité, ce potassium se lie chimiquement avec tous les sulfures du charbon, réduisant ainsi les émissions de dioxyde de soufre de 99%. Il n’y a donc plus besoin de filtre ! En­fin, on peut également réduire les émissions d’oxyde d’azote en dimi­nuant simplement la quantité d’air dans le brûleur. Et de plus, l’on a remarqué que la forte baisse de tem­pérature du gaz (1000°C) décompose les oxydes d’azote.

De plus, la M.H.D. est intrinsèque­ment plus fiable qu’un cycle à turbi­ne du fait qu’elle n’a aucune partie mobile. Ainsi, il est tout à fait envisageable de construire des unités capa­bles de fonctionner 6000 heures. Les réparations et la maintenance sont faciles à réaliser en stockant les pièces principales, telles les électrodes, et en concevant un système d’aimant faci­lement amovible.

Avec tous ces avantages en pers­pective, il n’était pas difficile de convaincre les pouvoirs publics et privés d’investir dans la recherche M.H.D.

Les principaux travaux de recher­ches et d’expériences se sont concen­trés sur différents types de tuyères, sur l’accroissement du champ ma­gnétique et de la conductibilité du fluide.

Les tuyères

Plusieurs types de tuyères M.H.D. ont été étudiés afin de maximaliser la production électrique provenant de l’interaction complexe entre le champ magnétique et le champ électrique.

Le premier, et le plus simple, est le générateur dit de Faraday, qui extrait simplement le courant produit par la force de Lorentz, sans utiliser ni le courant de Hall (voir Figure 4) ni la poussée du courant de Faraday dans le générateur.



Cette image a un attribut alt vide ; le nom du fichier est image-147.png

Le courant de Faraday crée un champ électrique autour de lui qui fait apparaître une force de dérive que l’on appelle l’effet Hall. E étant le champ électrique induit, l’effet Hall agitcomme un « frein« ,au courant de Faraday, J Le champ magnétique B va de la page vers le lecteur ; le courant de Faraday, le champ magnétique et la direction du mouvement du fluide, u, sont tous perpendiculaires deux à deux.

Si les électrodes situées le long de la tuyère forment une nappe unique de matériau conducteur, le courant de Hall (produit parallèlement auflux du fluide travail) va provoquer un court-circuit. Afin de modérer l’effet Hall, Avco et Westinghouse ont dé­veloppé depuis 1959, des configu­rations d’électrodes de Faraday seg­mentées, qui sont individuellement isolées. (Figure 5) Le générateur de Hall a été conçu et testé au début des années 60. Mais, en court-circuitant le courant de Faraday, on provoque une perte importante de puissance, ce qui représente un désavantage cer­tain.

Un autre système semblait être plus prometteur : les électrodes disposées en séries diagonales étaient capables de capturer très efficacement le courant de Faraday. La charge est placée entre le début et la fin de la tuyère, alors que les paires d’électrodes sont placées sur le chemin du champ élec­trique provenant de l’effet Hall.

Cette image a un attribut alt vide ; le nom du fichier est image-150.png

Dans le générateur à électrodes segmentées, chaque électrode placée sur la paroi de la tuyère est connectée à une électrode qui lui est directement opposée. Les charges sont placées entre chaque paire d’électrodes. Le générateur plus communément utilisé connecte ses électrodes en diagonale. La charge est placée comme indiqué sur la figure et le courant recueilli est le courant de Faraday affecté par l’effèt Hall. Dans la configuration de Hall, la charge est connectée entre les électrodes d’entrée et de sortie mais le courant de Faraday qui traverse la tuyère en largeur est court-circuité.

Le problème majeur des électrodes réside dans le fait qu’elles doivent résister à l’environnement corrosif dû au charbon gazéifié et aux températures élevées. Plusieurs expériences ont été élaborées pour résoudre ce problème, entre autres en utilisant des scories de charbon comme .. en­ duit » sur les électrodes de cuivre. Cette idée fut testée par le prototype Avco Marck VI. Le Dr Edward Scan­ nell, ancien directeur du programme M.H.D. de Reynolds Metals, a conçu par ailleurs plusieurs modèles d’élec­trodes à gaz ou à plasma.

La température de combustion

La température étant le principal paramètre déterminant Je degré de conductibilité du gaz, il est possible, en préchauffant l’air utilisé lors de la combustion, d’augmenter de maniè- re appréciable sa conductibilité. Si différents types de préchau.ffage ont été envisagés comme, par exemple, un système indépendant employant un combustible propre ou l’utilisa­ tion d’un système d’échangeur de chaleur entre le gaz de la M.H.D. et l’air, !es efforts ont plutôt porté sur le recyclage du gaz de la M.H.D. dans la chambre de combustion. La société américaine Fluidyne Corporation de Minneapolis travailla sur des systè­ mes de préchauffage de l’air et a réa­ lisé, en 1978, une simulation d’un système M.H.D. avec un échangeur de chaleurde haute température pen­ dant une période de 900 heures. Malheureusement, ce ne fut pas suf­fisant pour une utilisation commer­ ciale. De leur côté, les Soviétiques ont élaboré un système qui ajoute de l’oxygène lors de la combustion afin d’accroître la température.

l’effet Hall et le nombre de Reynolds

En 1879, Edwin H. Hall, de l’université Johns Hopkins, découvrit qu’il existait, dans le cas de figure décrit, une relation plus complexe: « l’effet Hall ». Il démontra qu’autour du courant de Faraday se crée un nouveau champ électrique, proportionnel à la densité du courant et à la force du champ magnétique, perpendiculaire au courant, mais parallèle à la direction du fluide. Le champ ainsi induit tend à contrebalancer le courant produit par le champ magnétique.

En 1883, Osborn Reynolds étudia différents effets secondaires se produisant dans ce genre d’expériences. Il se pencha en particulier sur le problème de l’apparition subite de turbulences dans les fluides et démontra qu’il était possible de décrire le comportement d’un fluide quelconque en matière de turbulence par un nombre « sans dimension », fonction de la viscosité du fluide (sa résistance interne) et de son inertie.

Parexemple, si on en choisit les dimensions et la vitesse de façon à obtenir le même «nombre de Reynolds », un fiux d’air et un flux d’eau traversant des orifices similaires se comporteront de mamere semblable. Le nombre de Reynolds est en effet dépendant de la dimension de l’orifice (longueuret largeur) et de la vitesse des fluides. Il existe également un nombre de Reynolds magnétique » qui dépend des paramètres de perméabilité (le rapport entre la densité magnétique du flux et la force du champ magnétique externe), de la conductibilité électrique, de la vitesse du fluide et de la taille du conduit. Si l’on connaît le nombre de Reynolds d’un système, on peut maintenir le fluide dans des conditions de non turbulence et avoir ainsi une efficacité maximale de la conversion énergétique.

La puissance du champ magnétique

Outre la conductibilité électrique du gaz et la configuration des électro­des, le troisième facteur déterminant pour l’efficacité de la M.H.D. reste la puissance du champ magnétique. Les systèmes conventionnels d’aimants refroidis à l’eau ne peuvent atteindre qu’une puissance de 3 teslas (l tesla correspond à 10.000 gauss), or une centrale M.H.D. nécessite des aimants d’une puissance de 5 à 7 teslas mini­mum.

Pour que la centrale produise plus d’énergie que celle qui est nécessaire à l’alimentation des aimants, il faut obligatoirement passer par la technologie des supraconducteurs. Ce sonl les japonais qui réalisèrent les premiers un générateur utilisant des aimants supraconducteurs, (le ETL Mark V). Ceux-ci ont atteint une puissance de 5 teslas et servant de laboratoire aux expériences sur la M.H.D.

En 1974, le laboratoire national de l’Argonne construisit un aimant supraconducteur de 40 tonnes qui fut envoyé à Moscou pour être testé sur l’installation soviétique U-25, tandis que la réalisation d’un aimant supra­ conducteur de 7 mètres de long et de 4 mètres de haut fut commencée en 1978 par General Electric et le MIT.

Expériences de générateurs M.H.D.

C’est sous la direction d’Arthur Kantrowitz que l’Avco Everett Re­search Laboratory (Massachusetts) a mené depuis 1959 une série d’expé­riences sur des générateurs M.H.D. de plus en plus grands afin de tester les différents composants, et en particu­lier la tuyère. Le premier générateur d’Avco, le Mark I, fut construit par le Dr Richard Rosa. Il atteignit une puissance crête de 11,5 kilowatts et réus­sit à maintenir un niveau de puissan­ce de 10 kW pendant 10 secondes. La tuyère était longue de 50 centimètres avec 40 paires d’électrodes séparées.
Le Mark lI, construit en 1960 avec le soutien de l’American Electric Power Services Corp, atteignit un ni­veau de puissance de 1,5 MW en employant un combustible à base d’alcool et d’oxygène. Sa tuyère me­surait 1,5 mètres de long, l’aimant atteignait 32.000 gauss et le débit moyen était de 2,7 kg/s.

Le Mark V, opérationnel en 1965, utilisant le même combustible, fut soutenu par l’armée de l’air américai­ne et par le Advanced Research Project Agency du département de la Défen­se. En effet, les militaires voyaient dans ce projet la possibilité de dé­montrer la faisabilité d’une grande fusée avec un générateur M.H.D. pour les applications spatiales. Le débit moyen fut porté à 45 kg/s, avec une puissance obtenue de 32 MW pen­dant 1 à 2 seconde. Le système d’aimant consommait 8,5 MW.

C’est vers le milieu des années 70 que le Mark VI d’Avco fut construit. Ce prototype simulait du combusti­ble-charbon en employant un combustible-pétrole dans lequel on avait injecté des cendres. En 1976, le Mark VI fonctionna sans interruption pen­dant 95 heures avec une puissance de 200 kW mais avec beaucoup de pro­blèmes, et en particulier le fait que les scories encrassaient fortement les murs du conduit. On conçut de nou­velles électrodes afin d’avoir une dis­tribution uniforme du courant et les parois de la tuyère furent réalisées en céramique.

Deux années plus tard, le Mark VI tourna pendant 250 heures avec une puissance de 220 kW et avec une puissance crête de 500 kW.

Les recherches sur la M.H.D. pro­gressaient donc bien au niveau international : le Marck VI d’Avco avait fonctionné pendant 250 heures con­sécutives, le U-25 soviétique à base de gaz naturel avait atteint une puissan­ce de 20,4 MW pendant une période de 30 minutes, et le Mark V japonais avait utilisé, pour une courte durée, un aimant supraconducteur. D’autres applications avaient été expérimen­tées à plus petite échelle.

Sous la direction du Dr William Jackson, le projet de I’Administra­tion américaine en charge de la re­cherche et du développement élec­trique, l’ERDA, était de construite pour 1978 le CDIF, Component Deve­lopment Integration Facilîty, à Monta­na. Les parties clefs devaient être tes­tées et intégrées dans un seul bloc utilisant du charbon comme com­bustible, un prototype de 50 MW thermiques. Un second prototype, de 250 MW thermiques, le Engînee­ring Test Facility, était planifié pour 1982; et un réacteur commercial de 1000 MWdevait voir le jour en 1989. Les sociétés électriques pourraient alors commencer à commander des unités de production à M.H.D.

Cette image a un attribut alt vide ; le nom du fichier est image-152.png

Dans ce schéma d’un système M.H.D. à cycle ouvert au charbon conçu par Avco Everett., le charbon est brûlé avec des germes de potassium, destinés à améliorer la conductivité électrique, et accéléré ensuite dans le tunnel M.H.D. Le courant généré le long de la tuyère est dirigé vers un convertisseur qui permet de passer ensuite sur le réseau altematif. L’eau est chauffée grâce à la chaleur résiduelle du générateur M.H.D., de même que l’air qui retourne au brûleur. La vapeur produite va ensuite dans une turbine conventionnelle; le gaz restant est nettoyé et les germes sont récupérés pour être recyclés. Le gaz nettoyé est ensuite éjecté à l’air libre et le générateur à turbo-alternateur produit un courant qui vient s’ajouter à celui généré par le système M.H.D.

Dans ce schéma d’un système M.H.D. à cycle ouvert au charbon conçu par Avco Everett, le charbon est brûlé avec des germes de potassium, destinés à améliorer la conductivité électrique, et accéléré ensuite dans le twmel M.H.D. Le courant généré le long de la tuyère est dirigé vers un convertisseur qui permeet de passer ensuite sur le réseau altematif. L’eau est chauffée grâce à la clwleur résiduelle du générateur M.H.D., de même que l’air qui retourne au brûleur.

La vapeur produite va ensuite dans une turbine conventionelle ; le gaz restant est nettoyé et les germes sont récupérés pour être recyclés. Le gaz nettoyé est ensuite éjecté à l’air libre et le générateur à turbo-alternateur produit du courant qui vient s’ajouter à celui généré par le système M.H.D.

Le cycle fermé de M.H.D. à combustible fossile

Outre les systèmes « ouverts  » qui viennent d’être décrits, il existe également des expériences utilisant un système  » fermé  » où le fluide conducteur n’est pas le combustible lui-même, mais un plasma ou un gaz rare chauffé.

Jusqu’au début des années 70, les scientifiques ne prévoyaient l’utilisation de gaz rare (argon ou hélium) dans un système de conversion M.H.D. que dans le cadre de réacteurs nucléaires à haute température. Cependant, vers les années 1975, certains réalisèrent que ces réacteurs ne seraient pas disponibles dans un futur proche étant donné qu’il n’y avait aucun effort national pour les développer, surtout aux Etats.Unis. L’intérêt se porta alors naturellement sur les combustibles fossiles.

Le système dit ‘fermé’ comporte un certain nombre d’avantages. D’abord, il est possible d’ioniser de l’argon à des températures de 1000 à 1500°C contre les 2000 à 2500°C nécessaires au.x systèmes ouverts. Ensuite l’argon propre est moins hostile pour les électrodes et les parois de la tuyère qu’un gaz sale provenant du charbon.

Dans ce type de système, c’est l’échangeur qui pose problème : il doit fonctionner à une température minimum de 1000°C pour permettre le transfert de chaleur de la combustion d’un charbon de nature corrosive vers un gaz, par exemple l’argon.

Les Américains comme les Soviétiques avaient expérimenté un système d’échangeur de chaleur basé sur l’idée d’un « lit de cailloux en céramique ». La chaleur émise par le combustible fossile est accumulée dans des cailloux en céramique et transférée à un gaz d’argon lorsque celui-ci passe à travers l’échangeur de chaleur. Le laboratoire de science spatiale de General Electric, à Valley Forge en Pensyl­vanie, a un programme de cycle fermé depuis 1972, et poursuit ce type d’expérien­ces depuis 1975. Le Lewis laboratory de la NASA, à Cleveland en Ohio ainsi que l’université de Technologie de Eindhoven aux Pays-Bas ont également réalisé des essais sur ce type de système fermé.

Coup de frein sur les programmes

Au moment même où l’on envisa­geait d’étudier la faisabilité d’un système M.H.D. commercial, l’Adminis­tration Carter nomma James Schle­singer à la tête du nouveau départe­ment de l’Energie (DOE). Sa première décision fut de limoger William Jack­son de son poste de dirigeant du programme fédéral de M.H.D. Selon Schlesinger, il n’y avait pas de « solution technologique à la crise énergéti­que.

Trois ans après le début de la prési­dence Carter, en janvier 1979, un rapport déposé par la Commission ad hoc sur la technologie M.H.D. concluait que « l’état de la technologie M.H.D. ne donne aucune garantie pour une éventuelle future commercialisa­tion ». Evidemment, cette prophétie s’avéra correcte, puisqu’il était déci­dé, suite à ce rapport, de ne plus lui attribuer de crédit !

La situation empira lors des deux présidences Reagan. En effet, le Président Reagan s’était promis de ne pas accorder d’aide fédérale pour le développement de nouvelles technolo­gies. La justification idéologique de cette politique résidait dans l’idée que tout ce qui est commercialement développable peut être financé par le secteur privé qui en tirerait ensuite profit.

A l’approche de la réélection du Président Reagan, il était donc clair que le DOE n’approuverait pas la construction d’un site pilote M.H.D. Et effectivement, en 1984, il annon­ça qu’on enterrait l’idée d’une expé­rience grandeur nature sur un site intégrant toutes les technologies et composants nécessaires au système M.H.D. au profit d’une autre idée, le « proof-of-concept M.H.D. » (preuve par la conception). Pour diminuer les frais, il fallait, disait le DOE, tester séparément trois sous-systèmes : le cycle primaire, le cycle secondaire, et la régénération. (Figure 7)

Partant du fait qu’aucune société ne commanderait un nouveau systè­ me de production électrique simple­ ment en voyant dans différentes par­ ties du pays, des sous-systèmes fonctionner parfaitement, la communau­té M.H.D. -savants, ingénieurs, par­tenaires industriels et chercheurs universitaires – proposa une nou­ velle idée : ajouter à une centrale à charbon existante, un cycle primaire M.H.D. afin d’avoir un premier site commercial utilisant la technologie M.H.D. aux Etats-Unis. Un an plus tard, la M.H.D. Developpement Corp. fut créée, avec la participation de Montana Power Company, Montana Energy Research and Development Institut, Montain StatesEnergy, Wes­tinghouse, Textron Defense Systems, General Dynamics, etc. Cette asso­ciation de producteurs électriques pri­vés, de l’Etat du Montana, et des principaux chercheurs en M.H.D., donnait à la M.H.O. Development Corp. tous les atouts pour relever le défi.

En 1987, le DOE finança des étu­des examinant la possibilité de « réaménager » certaines centrales à char­bon. Ces études, achevées en 1989- 90, ont confirmé la faisabilité techni­que d’un tel projet ; il ne restait qu’à savoir d’où allaient provenir les 600 millions de dolIars estimés nécessai­res à la réalisation. L’Administration Bush, en 1989, s’engagea dans un nouveau program­me, intitulé « Clean Coal Technolo­gy demonstration » (démonstration de technologies propres pour le charbon), et débloqua à cet effet plusieurs nùlliards de dollars. Mais, jusqu’à présent, les 42 projets de R&D, qui ont reçu 4,6 milliards de dollars, n’ont étudié que de simples améliorations dans les équipements existants de contrôle de pollution. Le 6 juillet 1992, le DOE entama sa cinquième et dernière « offre de pros­pection » auprès des industries pour des projets « Charbon-propre ». Les projets sélectionnées devaient bénéficier d’aides fédérales pour un total de 568 millions de dollars. La publica­tion officielle de ces projets devait se faire en mai 1993, et d’après le DOE, la sélection se fera en fonction « des besoins d’énergie et d’environnement des années 2000 ». Les projets proposés doivent « faire avancer de manière si­gnificative les performances d’efficacité tout en préservant l’environnement ». En réalité, seules les technologies M.H.D. répondent à ces exigences. Mais l’élection du nouveau prési­dent Clinton, qui n’est soumis à aucun de ses prédécesseurs, vient encore bou­leverser le calendrier. Depuis lors, chaque négociation budgétaire voit les conseillers de la Maison Blanche, de la même trempe que Schlesinger (« il n’y a pas de solution technologique, on ne peut que partager la pénu­rie d’énergie ,,), cherchent à arrêter définitivement les programmes de recherches. Des députés convaincus de l’avenir de la technologie sont parvenus à chaque fois à sauver quel­ques miettes. Mais deux équipes de recherche sur le M.H.D. ont déjà été démantelées en deux ans et les budgets accordés à celles qui restent ne permettent même pas determiner la réalisation de projets déjà très avan­cés, sans parler d’en entamer de nou­veaux.

Un Système de conversion d’énergie MHD fait bnïler le charbon à une température de plus de 2000°C et produit de l’électricité directement dans la tuyère M.H.D. A gauche, figure le cycle primaire. A droite, le cycle secondaire recycle le gaz chaud sortant de la tuyère M.H.D. dans des turbines à vapeur conventionnelles. Les deux cycles, primaire et secondaire, produisent de l’électricité.

Le cycle primaire sera testé à la CDIF de Montana, démontrant la possibilité de produire de l’électricité directement à partir de la combustion de charbon à haute température. Ceci sera fait en utilisant un bruleur correspondant à une centrale de 50 MW thenniques, avec une possibilité d’éten­dre ces résultats jusqu’à 200 à 300 MW. La tuyère de démonstration, qui convertit le gaz de combustion en élec­tricité, sera menée de façon à optimiser la durée de vie,c’est­ à-dire le nombre total d’heures de fonctionnement continu.

Le diffuseur du cycle secondaire, placé en sortie de tuyère, relie les cycles primaire et secondaire de l’usine M.H.D. Elle sert surtout à réduire la vitesse de sortie des gaz de la tuyère avant qu’ils n’entrent dans la chaudière, qui est connectée ensuite à la turbine à vapeur du cycle secondaire.

Le contrôle de la puissance et la mise en forme du signal électrique produit par les électrodes placées le long de la tuyère sont effectués par un sous-système contrôle-commande réalisé par Westinghouse pour le CDIF. Ce sous­ système comprend aussi le convertisseur qui permet de passer du courant continu au courant alternatif utilisable sur le réseau.

La récupération de la chaleur transportée par les gaz de combustion en sortie du diffuseur sera testée à la Coal Fired Flow Facility, située dans l’Institut spatial de l’Université de Tennessee, à Tullahoma. Les chaudières convectives et radiantes produisent de la vapeur pour générer du courant électrique de façon conventionnelle, dans un turbo-alterna­teur; elles servent également à préchauffer l’air utilisé pour la combustion.

La chaudière radiante permet la décomposition des oxydes d’azote en azote élémentaire et en oxygène, ce qui permet de respecter les normes de pollution aérienne. Le surchauffeur dégage de la vapeur par le refroidissement convectif des gaz de combustion. Cet équipement en contact avec des gaz chauds doit être capable de résister à de hautes températures et à l’environnement corrosif des germes de potassium, ajoutés pour accroître la conductivité électrique du gaz de charbon.

Le système de récupération des germes, permettant de réuti­liser le potassium, est en développement par TRW. Des précipiteurs électrostatiques conventionels permettront de retirer toutes les particules restant dans le gaz de sortie.

La M.H.D. en France

C’est au début des années 60 que l’EDF, le CEA, la CGE, l’Institut du Pétrole et quelques autres institutions françaises étudièrent la M.H.D. Après des travaux exploratoires importants, les premiers bancs d’essais furent construits divisant la recherche en deux partie. : le CEA prenait en charge le cycle fermé éventuellement utilisable pour le nucléaire et l’EDF s’ocuppait du cycle ouvert pour la combustib1e fossile.

Rapidement, la France réalisa des dispositifs expérimentaux, et, en 1964, pays ­hôte du Symposium international de la M.H.D., elle mit en service un des bancs d’essai les plus performants d’Europe: celui du Centre de Recherche EDF des Renardières, avec une puissance thermique de 10 MW et un champ magnétique de 3 teslas. C’est là que furent testés plusieurs types de tuyères : la tuyère de Faraday, la tuyère à effet Hall ainsi que la tuyère dite  » de Montardy, avec des électrodes inclinées qui fut ensuite employée dans les réalisations à plus grande échelle aux Etats-Unis et en URSS.

La France n’était donc pas en reste.

Malheureusement, vers la fin des années soixante, l’EDF d’abord, le CEA ensuite, décidèrent d’arrêter progressivement les travaux sur la M.H.D., évoquant plusieurs raisons techniques : d’abord la corrosion dans la tenue des électrodes provenant du sodium et du potassium; ensuite le fait que le courant généré est un courant continu de basse tension qui doit donc ensuite être reconverti en courant alternatif pour le transport; et enfin le fait que l’augmentation du rendement n’était estimée qu’à 5 à 10%, résultat que l’on peut très bien obtenir avec un cycle combiné à gaz (c’est-à-dire deux turbines).

Si ces problèmes sont réels, il faut plutôt se tourner vers la logique de rentabilité financière et l’absence de pensée à long terme pour comprendre l’arrêt des recherches. Ce n’est plus l’apport de la M.H.D. dans les technologies comme l’avenir comme la fusion, qui devient le critère fondamental, mais simplement le fait que le prix du charbon et du pétrole étaient relativement bas, et surtout le fait que la France ait choisi le nucléaire comme filière principale pour la production électri­que. Or, du côté du nucléaire, le CEA estima que la M.H.D. ne pourrait s’appliquer ni aux centrales alors développées, ni même aux types futurs de réacteurs à haute température, étant donné l’impossibilité de chauffer suffisamment le gaz conduc­teur. N’étant plus rentable pour le charbon, du fait de la baisse des prix, ni utilisable à moyen terme pour le nucléaire, la M.H.D. vit l’intérêt qu’on lui portait s’estomper.

Du côté russe, la M.H.D. ne se porte pas particulièrement bien, même si les efforts se poursuivent en dépit des grandes difficultés politi­ ques et économiques que traversent les Etats de l’ex-URSS.

L’Institut des températures élevées (IVTAN) à Moscou poursuit  encore un programme sur la génération d’électricité par M.H.D. quoiqu’il se trouve lui aussi dans une situation d’incertitude, de chaos budgétaire et de réorganisation.

En 1961, l’URSSconstruisait le pre­ mier petit prototype d’essai et un an plus tard, l’académicien Alexandre Cheindline,  directeur  de  l’IVTAN, annonçait un futur programme de recherche avec deux grosses installations. Contrairement aux études fai­ tes dans le reste du monde, centrées uniquementsur legénérateur M.H.D., les chercheurs soviétiques avaient étudié l’ensemble des problèmes dont dépend la mise en pratique de la M.H.D., et ils construisirent un mo­ dèle complet, le U-02, dès 1964.

L’étape suivante était naturelle­ment la réalisation d’une installation semi-industrielle : l’U-25 fut opéra­tionneL avec une puissance de 20 MW, dès 1971! Il fonctionne avec un aimant supraconducteur réalisé par le laboratoire américain d’Argonne. En effet, à l’époque les Etats-Unis et l’Union soviétique avaient établi une collaboration étroite dans le domaine de la M.H.D. Cette collaboration prit forme avec l’accord signé par le président Nixon et le président du Présidium Nikoli Podgorny, en 1974, sur l’énergie non nucléaire, maisl’Ad­ministration Carter y a mis fin lors de l’invasion des Soviétiques en Afgha­nistan, en 1979.

Le U-25 permit la réalisation de nombreuses expériences donnant aux scientifiques russes une expérience unique dans la M.H.D.

Cette expérience devait permettre aux Russes de construire le premier groupe M.H.D. industriel au monde, prévu pour le quinquennat de 1981- 85. Mais le discours du Président Rea­gan du 23 mars 1983 – annonçant l’Initiative de défense stratégique – bouleversa les programmes de recherches soviétiques. Il était devenu im­pératif de faire un effort supplémen­taire dans le domaine de la recherche militaire sur les armes à laser, au détriment des recherches civiles. La construction, à Riazan, du généra­teur M.H.D. de 250 MW avec sa tur­bine à vapeur standard de 300 MW consommant du gaz naturel ne fut pas achevée et les équipements des laboratoires annexes sont encore at­tendus.

Cependant, lors du 30ème collo­que sur la M.H.D., le Symposium on Engineering Aspects of Magnetohy­drodynamics (SEAM), tenu à Baltimore (Etats-Unis), en juin 1992, le Dr E.M. Shelkov, directeur-adjoint d’IV­TAN, a exprimé les espérances que ses confrères russes plaçaient dans leur programme MHD.

La tuyère de l’U-25 soviétique. Les protubérances rondes sur les côtés sont les électrodes segmentées. La tuyère est recouverte de briques en céramique.

Il a tout d’abord expliqué que les équipements du laboratoire de l’lns­titut, y compris son générateur M.H.D., unique au monde, seraient réorganisés et améliorés. Le généra­teur U-25, qui produisait dans le pas­sé l’électricité pour le réseau de Mos­cou, va maintenant vendre à la fois son électricité et sa production de chaleur aux industries moscovites. C’est ainsi, a expliqué Shelkov, que tous les instituts de l’Académie des Sciences essayent de financer leurs projets et leurs chercheurs.

En plus du générateur principal fonctionnant au gaz naturel, le U-25, un prototype dé.rivé U-25G utilisant du charbon est en cours de réalisa­ tion. Ce prototype moderne, conçu avec un aimant supraconducteur ita­ lien, devrait produire 25 à 35 MW d’énergie thermique.

Shelkov a expliqué que l’Institut bénéficierait égalementd’autres sour­ ces de revenus grâce aux retombées industrielles de la recherche sur la M.1-1.D. , par exemple, les brûleurs et les dispositifs de préchauffage à hau­ te-température, utilisés dans la M.H.D. pour brûler efficacement le combustible fossile. L’on estime que les dispositifs de préchauffage per­ mettent d’accroître le rendement de la production de coke pour la sidérur­ gie de 20 à 25 %.

Un autre prototype, le U-25M, de­ vait être construit en 1993. Il avait été élaboré par le ministère russe de !’Ener­ gie. Les essais auraient dû se dérouler en été, à cause de l’insuffisance chro­ niqued’énergie et de chaleur nécessai­ re au fonctionnement de l’industrie au Nord de Moscou pendant les mois de novembre à mars. Malheureuse­ ment, l’état de chaos dans lequel se trouve l’Etat russe, du fait de la théra­pie de choc que le FMI lui applique depuis trois ans, a mené à l’annula­tion de tous ces projets.

Complexes «énergie-technologie»

La vision la plus passionnante dé­veloppée autour du concept M.H.D., fut décrite par Shelkov lorsqu’il imagina un système de production élec­trique par M.H.D. intégré à d’autres industries, par exemple chimiques ou métallurgiques.

Lorsque un site M.H.D. utilise un mélange d’air et d’oxygène pour sa combustion, une quantité variable d’azote est produite. Stabilisé, par exemple par combinaison avec de l’oxygène, l’azote devient utilisable pour les fertilisants agricoles. Un com­plexe chimique, construit à côté du centre de production électrique pour­rait alors produire de l’ammoniac et de l’oxyde d’azote, ainsi que du sou­fre élémentaire, sous-produit du charbon brûlé.

Ce concept d’industrie entourant et intégrant un site énergétique a été élaboré au début de l’ère de l’énergie nucléaire sous le nom de Nuplexe. L’idée de ces nuplexes, de ces com­ plexes agro-industriels basé sur l’énergie nucléaire, était de pouvoir don­ner tout à la fois de l’électricité, des technologies avancées et de nouvel­les industries aux parties du monde encore sous-développées. L’électrici­té aurait alors révolutionné leur ni­veau de vie et leur mode de travail.

Shelkov et ses collègues estiment que ces complexes M.H.D. intégrant énergie et technologies, en particu­lier production d’électricité et usines chimiques, pourraient faire diminuer d’un facteur deux le coût de l’électricité grâce à la vente de produits chi­miques. Voilà qui devrait donner encore plus d’arguments, même à ceux pour qui les problèmes de renta­bilités sont déterminants !

Les applications industrielles de la M.H.D.

Marsha Freeman Gil Rivière-Wekstein

Dans notre premier article, nous avons rappelé les bases physiques de la conversion magnétohydrodynamique (M.H.D.). Nous avons également fait un court historique de son développement expérimental. Nous continuons ici cet historique en abordant les différentes applications industrielles possibles.

Cet article étant en grande partie traduit d’un article datant de 1980, certaines données numériques peuvent être dépassées. Dans une troisième partie, nous examinerons avec des spécialistes français de Grenoble l’actualité de la M.H.D.

1. La fission nucléaire

Les produits de combustion des réacteurs nucléaires conventionnels ne sont pas des particules chargées électriquement. En fait, le principal produit de la réaction de fission nucléaire est de l’énergie thermique, qu’il faut transférer à un fluide de travail, pouvant être ionisé pour une conversion M.H.D. directe de puissance. Il existe principalement deux approches pour résoudre ce problème.

La premjère a déjà été décrite dans notre numéro précédent. Elle utilise, pour les systèmes M.H.D. « fermés » de type charbon, un gaz noble (hélium ou argon enrichi en césium), comme fluide de travail. Pour une température de 1700° C, on estime l’efficacité de conversion de ce type de système entre 50 et 54%. Jusqu’aux années 75, cette méthode était considérée comme la plus réalisable.

Hélas, dès que l’administration Carter mit fin aux projets de réacteurs à haute température, les recherches dans ce domaine diminuèrent fortement aux Etats-Unis. Par contre, les Japonais se lancèrent dans un projet appelé Disk Il, inspiré par les essais du MIT d’une configuration M.H.D. particulière en forme de disque. Cette configuration à effet Hall utilise un plasma d’argon et ne possè- de qu’une seule charge électrique, plutôt qu’une douzaine de paires d’électrodes connectées séparément. Tant que les surgénérateurs à métal liquide apparaissaient comme la future génération de réacteur, un effort international important était consacré à l’étude des systèmes M.H.D., utilisant différentes formes de métaux liquides ou gazeux comme flui- de conducteur.

La M.H.D. à métal liquide

Aux Etats-Unis, c’est le Laboratoire National d’Argonne (Illinois), qui a engagé les travaux les plus importants sur la M.H.D. à métal liquide, également appelée L.M.M.H.D. Les expériences ont commencé en 1972 et quelques prototypes furent opéra-tionnels vers 1980.

La difficulté principale dans l’uti- lisation de métal liquide réside dans le fait qu’il n’est pas compressible et, qu’il ne peut donc pas être suffisamment accéléré dans la tuyère de la M.H.D. Cependant, différents systèmes à deux phases ont été mis à l’étude afin de remédier à ce problème.

L’avantage non négligeable de la L.M.M.H.D. c’est que le métalliquide est fortement conducteur et génère donc un courant électrique important. De plus, l’utilisation de métal liquide dans les réacteurs rapides et les réacteurs de fusion résoud le problème de l’interface entre l’eau et le métal que l’on trouve dans une turbine à vapeur.

Enfin, la conversion électrique d’un système à métal liquide peut être obtenue avec des températures bien plus basses qu’avec un gaz noble. Des expériences à Argonne ont été conduites sur un prototype proche d’un système commercialisable avec des températures allant de 200° C à 540° C .

Dans un modèle L.M.M.H.D. de base, on se sert d’un gaz inerte comme fluide de travail. Il parcourt la tuyère M.H.D., véhiculant le métal liquide avec lequel il a été préalablement mélangé dans le champ magnétique (Figure 1). Le métal liquide ayant une capacité calorifique élevée, la détente se fait à température quasi constante, de telle sorte que le liquide agit comme une source « infinie » de chaleur pour le gaz.

Une grande partie de la chaleur restée dans le gaz après la conversion M.H.D., peut être récupérée une fois ce dernier séparé du liquide et renvoyé dans le mélangeur. La chaleur peut également être utilisée pour une turbine à vapeur ou à gaz.

Les résultats d’Argonne, rendus publics en juin 1979, étaient très encourageants: le LT-4 à température ambiante de 20 kW électriques, fonctionnant avec un mélange de sodium- potassium liquide et d’azote gazeux, a opéré à des courants dont les densités étaient supérieures ou égales à celles requises pour les systèmes habituels, avec des niveaux de puissance de 32 MW par centimètre cube. Le rendement de conversion mesuré à cette température basse était supérieur à 60%, et les chercheurs pensent pouvoir l’optimiser pour atteindre 80%.

En 1977, les chercheurs d’Argonne ont démarré des expériences utilisant un mélange homogène de gaz et de liquide (avec un pourcentage du volume de gaz élevé par rapport au volume total), sous forme de mousse. On crée celle-ci dans le mélangeur et on la détruit dans le séparateur ; elle a une durée de vie d’un dooème de seconde, le temps de la traversée dans la tuyère M.H.D. Argonne a testé plusieurs agents à surface active ou poudres pour produire la mousse, l’étape suivante étant de la tester dans un générateur expérimental.

Le premier modèle L.M.M.H.D. du monde fut le HT-1 construit à Argonne. Au cours d’essais, le HT-1 a fonctionné pendant une durée totale de 325 heures à des températures allant de 200° C à 540° C, avec un flux monophase (sodium liquide) et un flux biphase (sodium liquide et azote gazeux).

Au Japon, le département d’ingénierie nucléaire de l’Université d’Osaka conduit des essais sur les effets du champ magnétique dans les générateurs L.M.M.H.D. En effet, le courant de Faraday généré par le métal liquide conducteur étant beaucoup plus important dans la L.M.M.H.D. que dans les systèmes M.H.D. à plasma, l’effet Hall, produit par ce courant de Faraday, est également plus important. Les Japonais étudient les effets de pincement dans le fluide et la formation de bulles dans le flux à deux phases.

C’est en Union soviétique que les programmes M.H.D. furent les plus ambitieux. L’Institutdes Hautes Températures de l’Académie des Sciences et l’Institut de l’Energie Atomique à Kurchatov étudièrent toutes les formes possibles d’applications de la conversion M.H.D. avec des sources de chaleur d’origine nucléaire.

Un groupe de savants soviétiques annonça, lors d’une visite aux Etats- Unis en 1979, qu’ils étudiaient quatre à cinq mélanges différents de métaux liquides, parmi lesquels: le système monophase avec plusieurs types de liquides; un système à métal liquide mélangé avec de la vapeur injectée ; des systèmes biphases semblables à ceux des Etats-Unis; différents systèmes utilisant des mousses ; et d’autres modèles prometteurs, en particulier un modèle qui utilise le combustible nucléaire comme fluide de travail.

Presque tous les modèles de L.M.M.H.D. qui ont été développés pourraient être pleins d’avenir. En fait, aux Etats-Unis, la seule contrainte est l’indisponibilité de réacteur rapide et de réacteur à haute température, ce qui n’a pas, malgré tout, empêché les scientifiques de concevoir des réacteurs à fission plus adaptés à la conversion M.H.D.

Dans un système M.H.D. à métal liquide, on applique la chaleur au fluide de travail gazeux et au métal liquide. On les mélange ensuite avant d’entrer dans la tuyère M.H.D., où l’on extrait électriquement la puissance. Le fluide biphasé est ensuite accéléré à grande vitesse, afin que le gaz et le liquide puissent être séparés. Dans ce concept, le gaz est repris et régénéré par un échangeur de chaleur afin que l’énergie restant dans le gaz sous fonne de chaleur puisse être renvoyée dans le cycle. Le métal liquide est récupéré par un diffuseur, où sa vitesse est ralentie et sa pression accrue; après réchauffement, il retourne au mélangeur.

Les réacteurs à cavité

Richard Rosa, l’un des scientifi- ques les plus créatifs dans le domaine de la M.H.D. a décrit dans un livre ses idées sur les générations futures de technologies nucléaires M.H.D. Rosa, qui a construit le réacteur Mark 1 d’Avco, souhaitait atteindre des tem- pératures très élevées dans les réacteurs nucléaires.

Un de ses projets était le réacteur avec cavité ou à régulateur externe (Figure 2). Si, explique-t-il, une quantité suffisante de combustible uranium sous forme de gaz, de liquide, ou de poussières était injectée dans la cavité, et mélangée avec un propul- seur ou un gaz de travail, le mélange dans le réacteur pourrait atteindre de très hautes températures. Le point de fusion de l’uranium se situant autour de 1400° K, si cette température était atteinte, le combustible, avec quel- ques additifs chimiques qui accroîtraient l’ionisation, pourrait donc lui- même être utilisé comme fluide de travail. La densité du combustible injecté permettrait l’auto-entretien de la réaction en chaîne, qui serait contrôlée en employant, par exemple, du béryllium, du carbone ou de l’eau lourde.

D’autres chercheurs ont essayé d’adapter le réacteur à cavité à la propulsion de fusées. Mais, cette application est bloquée par le fait qu’elle obligerait à éjecter un combustible nucléaire. En effet, pour atteindre la masse critique, il faut plus de combustible que l’on n’en consomme pendant la durée de vie du réacteur.

Pour un générateur d’électricité à cycle fermé, le combustible nucléaire et le gaz de travail seraient mélangés et inject.és dans la tuyère M.H.D. Les molécules gazeuses d’uranium se condenseraient à un moment donné du cycle, après quoi, il serait possible de les séparer du gaz de travail. Dans tous les cas, le combustible nucléaire resterait à l’intérieur du système et serait réutilisé.

Dans un réacteur à cavité (modéré de façon externe), on utilise les produits de la réaction de fission nucléaire comme fluide de travail dans une conversion directe M.H.D. Dans ce concept simplifié, la chaleur des gaz de sortie du générateur M.H.D. peut être utilisée dans un échangeur de chaleur pour fermer le cycle du système. Le concept permet aussi la réutilisation du combustible nucléaire.

La conversion M.H.D. par induction

Le Dr. Erik Witalis de l’Institut suédois de Recherche de la Défense Nationale, à Stockholm, a publié un texte en 1979 dans lequel il explique les avantages de la conversion M.H.D. par induction par rapport à la conversion M.H.D. par conduction.

Tous les modèles de M.H.D. décrits utilisent des électrodes pour conduire un courant de Faraday ou courant M.H.D. provoqué par effet Hall dans le fluide conducteur. Un facteur important qui limite l’efficacité de la conversion tient à la conductibilité électrique du fluide, bien que celle-ci puisse être améliorée en utilisant des aimants supraconducteurs à champ magnétique élevé. De plus, les modèles les plus répandus de tuyère en diagonale nécessitent un conditionnement du courant parce que les tensions ne sont pas réparties également le long des tuyères. Enfin, le courant continu et doit passer par un convertisseur à courant alternatif avant d’être délivré au réseau.

L’on peut avoir un courant par induction dans le cas où l’interaction entre le gaz (ou le conducteur) et le champ magnétique externe est non stationnaire : soit le flux est soumis à un champ magnétique oscillant, soit le fluide est pulsé ou oscillant dans un champ constant. Il se crée alors une différence de potentiel à chaque extrémité du conducteur dans le premier cas, et un courant induit peut être récupéré dans le second cas.

Erik Witalis fait référence aux travaux réalisés en 1957par S.A. Colgate et R.L. Aamodt, qui proposèrent un système M.H.D. par induction d’un « flux véritablement non constant, par exemple de vapeur d’uranium enrichi oscillant dans la tuyère d’un générateur M.H.D. reliant deux cavités de réacteur à cœur gazeux, ou encore, deux chambres à explosion».

Witalis explique ce concept :

..   « L’idée était que la haute densité réali- sée dans l’une des deux chambres per- mettrait au gaz fissile d’atteindre la masse critique, d’exploser, de pousser le gaz de fission fortement ionisé jusqu’à l’autre chambre où le même processus se produirait, etc. pendant les années 60, ce concept également appelé le réacteur « Poof-Poof » faisait sourire».

Au milieu des années 70, l’académicien soviétique E.P. Velikhov développa une idée similaire pour les réacteurs à fusion dans lesquels se produisent des micro-explosions de réactions thermonucléaires par radiation laser ou par rayons de particules chargées.

En 1979, Witalis proposa un projet qui n’était qu’une modification et une amélioration du schéma de Colga te et d’Aamodt. Il suggéra, afin d’augmenter la conductibilité électrique du fluide – chose encore plus importante dans le cas de la M.H.D. par induction que par conduction – , d’utiliser un composé de fluorure d’uranium comme combustible pour les réacteurs à cœur gazeux. De plus, des sels alcalins pourraient être ajou- tés au flux de gaz pour augmenter l’ionisation thermique aux températures relativement basses de 1200°C à 1100° C

Witalls émit l’idée que des poussières métalliques pourraient être utilisées pour accroître encore la conductibilité électrique : chaque particule métallique serait entourée d’un nuage d’électrons résultant de l’émission thermique. En d’autres termes, la température ne serait pas suffisamment élevée pour ioniser les particu- les de métal elles-mêmes mais les électrons « libres » des particules de métal seraient portés à des températures de 2200°C . Comme le remarque Witalis, ce procédé est très complexe et « les expériences de ce genre pour la M.H.D. sont rares ».

Ce type de conversion directe révolutionnerait entièrement l’efficacité et donc la rentabilité de la conversion de la chaleur provenant d’une centrale électrique nucléaire. S’il n’y a pas eu d’expérience pour ces systèmes, c’est simplement parce que les technologies avancées dans le domaine du nucléaire ont été arrêtées pour des raisons politiques, et cela dans pratiquement tous les pays.

2. La fusion nucléaire

La combinaison idéale serait évidemment une source d’énergie utilisant comme combustible des particu- les électriquement chargées et avec système M.H.D. employant ces particules pour convertir directement l’énergie en électricité. Dans les années 70, l’on prévoyait que la première génération des réacteurs à fusion utiliserait une réaction deutérium- tritium, celle-ci produisant 77% de l’énergie sous forme de particules neutres et le reste sous forme de particules alpha, c’est-à-dire d’hélium chargé positivement. Dans le cas de la fusion deutérium-deutérium, 70 à 80% de l’énergie produite se présenterait sous forme de particules chargées électriquement. Mais la conversion M.H.D. est déjà envisageable avec la première génération de réacteurs de fusion, qu’ils soient basés sur le confinement magnétique ou inertiel.

Au début des années 60, lors de la première conférence sur la M.H.D., ceci fut évidemment objet de discus- sions : les scientifiques du Laboratoire de Physique des Plasmas de Princeton et du Laboratoire de Radiation de Lawrence, travamant sur la fusion, firent un exposé sur les développements de la fusion. Entre la fin des années 60 et le début des années 70, des percées importantes furent réalisées aussi bien dans le confinement que dans la montée en température, stimulant d’autant les études de systèmes de fusion M.H.D., aux Etats-Unis et en Union soviétique.

Deux concepts de base de réacteur à fusion furent étudiés pour la conversion directe. Le premier est à réaction de fusion à l’équilibre, tandis que le second est le modèle pulsé. Ce dernier est très important pour la recherche dans les armes du futur et a beaucoup intéressé les Soviétiques. Déjà en 1977, l’on s’interrogeait pour savoir si les modèles de fusion à pulsion avec M.H.D. n’étaient pas utilisés pour produire d’énormes impulsions électriques servant aux armes à laser antimissiles.

Les réactions à l’équilibre

Les réactions à l’équilibre concernent essentiellement les réacteurs de type tokamak, mais des méthodes similaires pourraient être appliquées pour n’importe quel réacteur à fusion de deutérium-tritium.

Si l’on utilise un cycle de conver- sion M.H.D. fermé, comme décrit ci- dessus avec un gaz inerte comme fluide de travail, la température élevée de la fusion pourrait accroître l’ionisation et donc l’efficacité de conversion par rapport au réacteur nucléaire traditionnel qui utilise des températures bien plus faibles. Kan- trowitz et Rosa ont décrit un tel système (Figure 3).

Ce couplage entre un système con- ventionnel M.H.D. et un réacteur à fusion nécessiterait un tapis de gra- phite autour de la zone de réaction pour absorber les neutrons et les rayons X et pour chauffer un gaz de travail tel que l’hélium. Comme le graphite ne contient pas de produit fissible et comme il a de bonnes propriétés de structure jusqu’à 2500° C , un tel système devrait pouvoir être opérationnel pendant une longue durée.

Avec une température de l’hélium de 2200° C en sortie, des estimations ont montré que l’efficacité du cycle serait supérieure à 60%.

Rosa et James R. Powell du Laboratoire national de Brookhaven ont conçu un système M.H.D. pour la fusion, combinant une turbine à gaz et un cycle à vapeur, qui aurait une efficacité estimée de 75%. lls ont également examiné la possibilité de produire de l’énergie pulsée en faisant circuler le fluide d’hélium de travail et de refroidissement, seulement quand le réacteur se trouve entre les phases d’allumage du plasma.

Les Soviétiques ont étudié différentes variantes de cette technologie M.H.D. pour la fusion, s’intéressant plus particulièrement aux aspects de non équilibre dans l’ionisation du gaz noble à des températures aussi élevées.

La chaleur engendrée par une réaction de fusion peut être utilisée dans un système M.H.D. en boucle fermée identique à celui d’un réacteur à haute température. Dans ce concept, la zone de réaction est entourée d’une couverture de graphite qui transfère la chaleur de fusion directement au fluide de refroidissement (un gaz rare). La chaleur restant dans le fluide de travail après le cycle M.H.D. peut être récupérée par un échangeur de chaleur connecté à un turbocompresseur, et le fluide de travail est réutilisé.

3. La propulsion

C’est cependant dans un domaine pour le moins inattendu que les premières applications de la M.H.D. se sont avérées les plus spectaculaires.

En effet, en juin 1992, la technologie de la M.H.D. était à la une des journaux spécialisés suite à la réalisation du bateau japonais Yamato 1. Ce prototype, long de 30 mètres, est propulsé par deux « moteurs-M.H.D. », c’est-à-dire des moteurs qui ne contiennent aucune partie mobile.

L’idée géniale utilisée par l’équipe japonaise, qui a conçu Yamato 1, est de se servir d’un effet « secondaire» de la M.H.D. En effet, lorsqu’une différence de potentiel électrique est générée par le circuit du système M.H.D., la température et la vitesse du fluide décroissent. Inversement, si l’on applique un courant dans un fluide électriquement conducteur entamé d’un champ magnétique, la vitesse du fluide augmente. En se servant de l’eau de mer, qui contient du sel dissous, comme fluide conducteur, les moteurs M.H.D. de Yamato 1 propulsent le bateau grâce à l’éjection de l’eau par l’arrière, exactement comme un ballon lorsque l’air s’échappe par un trou.

Mais, examinons la genèse de cette application. C’est en 1985 que la Fondation Ship and Ocean, au Japon, créa un comité de Recherche et Développement afin d’élaborer les techniques applicables à la propulsion M.H.D. pour bateaux. Depuis, plus de 40 millions de dollars ont été consacrés à la conception et la construction de Yamato 1. En fait, d’après son principal concepteur, le Professeur Seizo Motora, le projet avait également pour dessein de stimuler les ingénieurs des chantiers navals – une industrie en stagnation – afin qu’ils développent de nouveaux bateaux techniquement difficiles à réaliser.

Cependant l’intérêt pour la propulsion M.H.D. navale remonte aux années 60, en particulier aux États- Unis.

A l’époque, les milieux militaires étaient très intéressés à remplacer les systèmes conventionnels de propul- sion par des systèmes silencieux, pour leurs opérations sous-marines. Le premier brevet de propulsion M.H.D. navale fut alors déposé en 1961 par W.A. Rice. Cependant, le principal obstacle était la faible puissance des aimants, limités à des champs de 2 teslas, ce qui est insuffisant pour propulser un bateau d’une taille ac- ceptable. Il fallut attendre le développement d’aimants supraconducteurs suffisamment fiables avec un champ d’au moins 6 teslas pour rendre la technologie M.H.D. applicable à ce domaine.

L’avantage essentiel des systèmes de supraconductivité réside dans le fait qu’ils ne produisent pas de pertes de chaleur. Une fois qu’un courant est envoyé à travers des bobines su- praconductrices, réalisées dans un alliage niobium/étain, il suffit de peu d’énergie pour maintenir l’aimantation, dans la mesure où l’aimant est maintenu à la température cryogénique de l’hélium – environ 4° K (ou -269 ° C) – utilisé ici comme re- froidisseur.

Les Japonais se sont donc lancés dans un programme intense de recherche sur la supraconductivité afin de permettre son application dans les domaines à usages commerciaux, tel les systèmes M.H.D., le système de transport à lévitation magnétique, les générateurs et les moteurs industriels, ainsi que pour d’autres applications spéciales comme les ascenseurs magnétiques. Ils ont également lancé un programme très ambitieux dans le développement et la production de matériaux nouveaux permettant la supraconductivité à des températures élevées. L’idée était de pouvoir diminuer le poids des systèmes ainsi que leur besoin en énergie. En effet, d’une part le poids est un facteur important pour la propulsion M.H.D. navale, comme d’ailleurs pour les applications dans l’espace, et d’autre part, étant donné qu’il est meilleur marché de maintenir une température de 77° K (-196° C) en utilisant de l’azote liquide que celle de 4° K (-269° C)avec l’hélium utilisé actuellement, les nouveaux matériaux supraconducteurs deviendraient peu coûteux.

Cependant, il fallut surmonter beaucoup de défis techniques avant que la propulsion M.H.D. navale ne puisse devenir une réalité. Il fallait des aimants supraconducteurs per- formants et fiables ainsi que leurs équipements annexes, des électrodes qui résistent au chlore de l’eau de mer, du matériel de construction lé- ger remplaçant l’acier, et un profil hydrodynamique.

Les deux moteurs M.H.D. identi- ques de Yamato 1, construits par deux sociétés différentes, ce qui est remar- quable en soi, sont situés sur les deux côtés de la poupe du bateau, bien au- dessous du niveau de l’eau afin de diminuer les turbulences.

Suite à des études approfondies sur le type de construction géométrique le plus efficace pour les systèmes M.H.D., les architectes ont décidé de diviser le système de circulation de l’eau en six circuits séparés à l’intérieur du moteur, chacun avec une paire d’aimants dipôles magnétiques supraconducteurs.

Les spécifications pour la construction du bateau-test demandaient que les deux moteurs apportent suffisamment de puissance pour le faire avancer à une vitesse de 8 nœuds. Les architectes ont calculé qu’il fallait une force de l’ordre de 8000 Newtons pour déplacer à cette vitesse un bateau d’une longueur de 30 mètres, d’un poids net de 280 tonnes et transportant 10 passagers. Etant donné que l’efficacité de conversion de ce système expérimental M.H.D. était estimée à 50%, les deux moteurs devaient ensemble produire une poussée de 16.000 N.

Dès son premier essai en mer, en juin 1992, Yamato 1 atteignit une vitesse de 7,5 nœuds, très proche de son objectif. Il finit son programme de tests à la fin de l’été 1992 et, l’évaluation des résultats terminée, la fondation Ship and Ocean démarrera la construction de Yamato 2, plus grand et plus efficace que son prédécesseur. Les « bateaux M.H.D. » futurs devraient atteindre des vitesses supérieures à 100 nœuds, et ne faire pratiquement aucun bruit. Ce sont justement les turbulences induites par leurs propulseurs, qui limitent les bateaux actuels aux vitesses maximales de 30 à 35 nœuds.

Les Japonais sont également intéressés par le développement d’un submersible à propulsion M.H.D. pour le transport de marchandises. A une profondeur de 15 à 30 mètres en dessous de la surface de l’eau, le freinage diminue et il n’y a plus de contrainte climatique. En fait, le Professeur Motora estime que la vitesse d’un tel bateau sera alors virtuellement illimitée. Le transport maritime pourrait remplacer de manière rentable le transport aérien coûteux, pour les marchandises périssables et à valeur ajoutée élevée. C’est un aspect crucial pour une ile comme le Japon, qui ne peut pas utiliser, pour son commerce international, des systèmes de transport terrestre comme la voie ferrée.

Cependant, l’expérience de Yamato 1 a procuré aux scientifiques, ingénieurs, architectes et industriels japonais bien plus qu’un mode révolutionnaire de transport. Le projet a largement fait progresser l’art et la technologie de la supraconductivité, la conception des bateaux, la conversion directe d’électricité par M.H.D., et bien d’autres applications. De plus, le projet a démontré la faisabilité de la M.H.D. pour des systèmes de grande taille. Il a suscité de vives réactions aux États-Unis : le Dr. Michael Petrick, du Argonne National Laboratory (Illinois), a déclaré que Yamato 1 était « provocateur dans sa simplicité », et la propulsion M.H.D. est maintenant réexaminée.       

MAGNETOHYDRODYNAMIC POWER GENERATION

I. INTRODUCTION
Magnetohydrodynamics (MHD) is the study of using ionized gas or plasma to perturb a magnetic field thus producing a current flow if a load (resistance) is applied. There are three types of MHD:
(1) ionized gas, (2) liquid metal, and (3) nuclear. All three types use the same theoretical principles.
Since the ionized gas is the most widely used, and the most promising, only it will be discussed in detail in this paper.
A plasma is any state of matter which contains enough free charged particles for its dynamic behavior to be dominated by electromagnetic forces. Very low degrees of ionization are sufficient for a gas to demonstrate electromagnetic forces. About 1/10 percent ionization of a gas achieves over one half its possible maximum electrical conductivity. A 1 percent ionization conductivity is nearly that of completely ionized gas. With the exception of the Earth, the majority of the matter in the universe is plasma. The natural occurrence of plasma on the Earth’s surface is non-existant [ 1″1 ] .*
The purpose of this paper is to explore the area of MHD in an attempt to give a brief, but thorough, overall view of MHD structure and energy conversion, its applications, and its developmental history.

II. HISTORY

A. Theory

« When Faraday discovered the principle of electromagnetic induction, he understood that it applied to conducting fluids as well as to solids.
In his time the heat engine was also in use, even though the principles of thermodynamics and gas dynamics had yet to be formulated. The primary ingredient that Faraday lacked was a knowledge of the electrical properties of gases. This knowledge, which necessarily encompasses the science of atomic and molecular physics, began to be acquired through the study of gas discharges in the late nineteenth and early twentieth centuries. These empirical studies were accompanied by the development of the kinetic theory, statistical mechanics, and the quantum theory, all of which were in large part efforts to explain what was observed in discharges, » [2:4-5].

The first patents dealing with MHD power generation began to appear in 1910. These patents were very vague about the method of ionization and the resulting electrical properties of the working ,fluid or plasma.
Magnetohydrodynamics first became a distinct science because of the efforts of scientists (specifically astronomers) who were trying to understand certain astrophysical phenomena. During and after World War II the pursuit of controlled nuclear fusion created additional quests for plasma knowledge [2:5].

•Number following colon indicates page number.
1984017390-005

B. Research

In the 1940’s a large, sophisticated MHD generator was built at Westinghouse Electric; it failed because sufficient knowledge of the properties of ionized gases was still not available.
In 1959, an experimental MHD generator was built at AVCO that produced 11.5 kW of power and obtained a sufficiently strong interaction between the gases and the magnetic field to cause an appreciable pressure drop. The plasma was argon at a temperature of 3000°K [2:5].

Calculations in the 1950’s and 1960’s indicated quick success. An
ambitious, large scale program was undertaken in Amelica. Although progress was made, these large scale programs were not successful.
Scientists turned to small experimental setups in which many problems were solved [3:1 ].

In 1964 work began on a generator to supply power for a high enthalpy wind tunnel at the Arnold Engineering Development Center in Tullahoma, Tennessee. This project is still operating [2:8].

The MHD generator for the wind tunnel at Arnold Engineering is known as LORHO. It was designed to produce 20 MW peak, and actually achieved 18 MW for ten seconds [3:4].

In 1963, Avco-Everett Research Laboratory designed, built, and put into operation the first large MHD generator that worked. It produced 32 MW for a few seconds. It was called the Avco Mark V [3:4].

A new project is in progress at Arnold Engineering. It will be discussed later.

C. Geography

World development of MHD has been on a relatively intense basis during the last fifteen years, though less than that for nuclear reactors. The major countries that are doing MHD research are GreatBritain, France, Germany, Poland, Japan, the United States, and the Soviet Union. America and Russia are doing most of the development.
National fuel situations have led to different types of development in various countries. In Russia natural gas MHD is being developed.
While the USA is working with coal and Japan is working with oil [3:2-3].

III. BASIC CONCEPTS

A. Theory

Consider the coordinate system in Figure 1. The plasma is moving in the x+ direction with velocity u, and a scalar conductivity o. Let B denote the magnetic field. Using the right hand rule, u x B is in the positive y direction, u x B is the induced electromotive force or the potential. Therefore the current j = o (u x B – E) is defined as the Faraday Current where E is the electric field, j x B produces F in the negative x direction. Define F = j x B as the Hall Current. The Hall Current is due to the Hall Effect which is caused when charged particles drift randomly in the magnetic field producing F. The basis of MHD is the utilization of j and F to produce power. Power is defined as P = j E

MHD power is a direct extraction of enthalpy from the ionized gases.
A MHD generator that utilizes Faraday Current is called a Faraday Generator; one that uses Hall Current is called a Hall Generator [2:10]. Figure 2 shows the flow field patterns for potential and current between electrodes in an MHD generator.

B. Structure

The MHD generator consists of a very large magnet that fits around the combustion channel, This magnet is called a saddle coil. Magnet mass is directly proportional to power production (Fig. 3).
At the beginning of the combustion channel is the burner where fuel and oxidizer are mixed and combusted. Within the walls of the channel are electrodes (Fig. 4, top) which are attached to loads which receive the current generated. Also in the channel are probes which measure temperature, pressure, velocity (as a function of distance and time), and enthalpy (to be discussed later). At the end of the channel, according to the system, there may be a diffuser and seed recovery apparatus, or there may be an additional mode of power generation. All dimensions of the above apparatus depend on the amount of power desired, the type of fuel to be used, and the type of MHD generator to be used [2].
Figure 5 is a schematic for the Arnold Engineering MHD project in Tullahoma, Tennessee. Figures 6 and 7 are schematics of the entire system, while Figure 8 shows the flow and field alignments [4].

C. Engineering Problems

In choosing the type of MHD generator to use, one must consider the following: (1) hall generators produce high voltage and low current, solid electrodes are needed to receive Hall current (Fig. 9); (2) Faraday generators produce low voltage and high current, segmented electrodes are needed to receive Faraday current (Fig. 9). However, there is an alternative. Build a generator that uses the point of intersection of thefigure (Fig. 10). This can be accomplished by using segmented electrodes to receive the higia amount of Faraday current and by diagonalizing these electrodes to increase the voltage. The result is a happy median or the best of both generators. (Figure 11 shows the three types of generators: (1) Hall, (2) A Faraday, and (3) Diagonalized [2].
Also the channel and especially the electrodes are subject to erosion and heat damage. Erosion is due to the velocity of the plasma and from slagging effects. Also the 3000°K temperature damages ‘, the electrodes. Materials are the number one cencern in designing an MHD generator [5].
Much heat is lost through the channel walls at such high temperatures. Most channel walls are water cooled, composite (layered), metal. Electrodes are made of steel, zirconia, and other metals.
Carbon has been used but does not hold up. The Russians have
developed metal water cooled electrodes !that are able to run 24 hours per day and year round. Their sacrifice is lower efficiency, about 10 percent.
Ion slip, due to the atoms deionizing and reionizing is minute at high pressure, and thus is not too much of a problem [2].
After materials, heat loss and excessive magnet cost are the two main design concerns. Along with low pressure ion slip, these three form an operations envelope (Fig. 12). This envelope controls the interaction length [2:148 ].

MHD generators produce direct current. Direct current-alternating current inverters are expensive.
However, many industries, especially metalurgical industries, need direct current anyway. The final problem is due to the high temperatures of ionization. The heat of ionization, when expressed in electron volts, is called the ionization potential. Most common gases, such as air, carbon monoxide, carbon dioxide, and the noble gases, which are used in MHD, have high ionization potentials.
This problem is overcome by adding one of the alkali metals, which have low ionization potentials, to the gas in small amounts. The common gases mentioned above ionize around 4000°K, while the alkali metals ionize around 2000°K. One or less parts alkali metal per one hundred parts gas is sufficient to lower the ionization temperature to 3000°K. This process is called seeding. The seeding process results in temperatures low enough to be withstood by some solid materials [2:17].
There are many other very small problems to be diagnosed and
solved in the future that cut the resulting efficiency.

D. Energy Conversion

The MHD generator transforms the internal energy of a gas into
electric power in .aauch the same way as a turbine generator. In the turbine generator the energy of a gas is converted into the motion of a solid conductor by the means of the turbine blades and a connecting mechanical linkage. But the MHD generator uses the gas itself as a conductor and by expanding through a nozzle, the gas moves. In both cases the motion of a conductor through a magnetic field produces an electromotive force and a current J flow. The conventional turbine generator carries current to an external load through brushes. This same process is carded out in MHD by the electrodes [2″1-2].
A generator producing the eq,_ivalent of ten large power plants is possible for MHD, that is approximately 107 KW. Applications for which MHD is well-suited are those calling for high power and high temperature. This includes many public and military requirements.
« Today an output of 1000 MW from a single plant is not uncommon; and the steam cycle uses only a small fraction of the available temperature from fossil fuels. » Higher efficiencies are obtainable with MHD topping of the steam cycle [2:3].
An MHD generator uses a Brayton cycle. (Figure 4 gives MHD-Turbine comparison.) (Figure 13) shows T-S diagrams of the Brayton cycle.
The pseudo-Brayton cycle does not use a compressor, while I the Brayton cycle utilizes a compressor [2:3-4].) (figure 14 gives a comparison of closed Brayton cycles with and without steam bottoming.) (Figures 15 through 18 give magnetic field strength, voltage, current, power, burner pressure, flame temperature, fuel and seed flow, etc., for the Arnold Engineering MHD Generator. These figures will give one a feel for the parameters involved in MHD power production [2:4,4,6].
The power production efficiency is defined as follows:

where r/= efficiency, hi = enthalpy (initial), and hf =
enthalpy (final)

Efficiency can be calculated by computer utilizing a component composition analysis program.
All modern MHD generators are computer monitored and controlled.
An enthalpy probe has been designed that measures Ah (actual) by measuring (velocity) time, and temperature difference. After being calibrated for the system, it is fairly accurate [5].
The highest Russian (Moscow Project) efficiency obtained to date is 10 percent. The highest efficiency obtained in the world is 12 percent at the Arnold Engineering Development Center. It is believed that the highest achievable is 15 percent, while the theoretical efficiency is 20 percent. Costper kilowatt hour is estimated at $10 to $20. (Figs. 19 and 20 give Arnold Engineering enthalpy charts.)

IV. MULTI-SYSTEM UNITS
A. Design

The steam generator required for an MHD binary system is of somewhat different design than that for conventional power plants because of the high temperature of the MHD exhaust, the presence of ash, seed, and slag in tile combustion products. Another important component required by an MHD system is an inverter to convert direct current to alternating current. Much inverter progress has been made in Russia [3:9-10].
The MHD steam unit (Fig. 21 and the top of Fig. 22) consists of a coal or natura! gas fired MHD channel. Attached at the end of the channel is a steam generator (somewhat like a boiler) which produces steam to drive turbines. Beyond the steam generator is a seed recover3, system which sends seed back to the combustor. Next we have attached a nitrogen and sulfur remover (sulfur is the number 1 drawback in coal combustion) which removes nitrogen and sulfur in the forms of acid. Both of these acids are in demand in industry. Only clean gas goes out of the plant [3:9].

Binary system efficiency is defined as the following:

Most steam plants have efficiencies of 30 to 35 percent. Therefore a binary efficiency of 40 to 50 percent is obtained with 60 percent a good possibility [5].
A similar setup uses air instead of steam (Fig. 22, bottom). This system is basically the same, but uses air instead of steam turbines. It is not quite as efficient [3:9].
Most MHD applications use a Brayton (gas) cycle rather than a Rankine (vapor) cycle. Working fluids suitable for use in high temperature Rankine cycles tend to be highly corrosive. Most of these fluids are metals and not gases. On the other hand, gases seeded with metals are less corrosive and do not present as much materials problems. This favors binary systems. The products of fossil fuel combustion are gases and therefore result in a Brayton cycle and binary possibilities [2:164-165].
An MHD-steam cycle utilizes the waste heat (Qout) from the Brayton cycle to produce steam and run turbines. Most proposals for commercial fossil-fueled power plants have included steam bottoming [2:170]

Pros and Cons
The strong points of MHD binary systems seem to outweigh the weaker points. Over a period of time initial costs would be absorbed by lower power production costs (a result of higher efficiency.)
A factor of increasing concern is pollution control. A coal fired power plant produces three types of pollution: (1) thermal, (2) particulate, and (3) chemical. An MHD steam plant rejects only half of the heat of conventional steam plants. MHD has an advantage of 3 to 1 in heat loss as compared to nuclear.
The process of seed recovery removes most of the particulate pollution. Chemical pollution from power plants consist of NO and SO2. These are removed in the forms of acids in the MHD system. The initial costs for MHD are greater than steam, but comparable to nuclear. In summation it appears that MHD has something to offer from an economic as well as ecological viewpoint [2:174-175].

C. Reynolds Metals Project


Consider the Reynolds Multisystem MHD plant project. This system is not a true binary system, but its efficiency and usage warrant its mention in this section. The following project was researched in the seventies. Reynolds Metals, an aluminum producer, needed a means to combat rising electricity costs.
Aluminum production needs large amounts of direct current. High temperatures are needed for smelting.
Much hot water is needed for processing. A pi!,ot project at Listerhill, Alabama, was conducted by Ed Scannell, Ph.D. Dr. Scannell claimed an overall efficiency (total ene total energy, not electricity) of 80 percent with the following explanation:
1) Direct current was generated and used in processing.
2) The generator was a water cooled system. Instead of the plant heating water as usual, coolwater was used to cool the generator yielding hot water as a by product which in turn was used in processing.
3) The plasma at the end of the generator could be used directly in the furnace to melt the ore.
4) Hot air from No. 3 above could be used in the processing also.

As one can see, MHD is perfectly suited for the metalurgical industry.
This project ended two years ago when Billy Reynolds (who supported it) died.

V. OTHER TYPES OF MHD

A. Liquid Metal MHD

Liquid-metal MHD uses a flowing melted metal instead of an ionized gas to produce current.
The metal is very corrosive and electrodes do not last long. Most research has used coal for heat and sodium as the metal. This can be coupled with steam turbines in a Rankine cycle. Liquid-metal does not look as promising as ionized gas MHD.

B. Nuclear MHD

In nuclear MHD, nuclear fission takes place and the nuclear plasma is allowed to flow through the MHD channel in a closed system. Steam bottoming would also be used. It is feared that in nuclear MHD radioactive material would be allowed to leak from the system because of the high temperatures. Nuclear MHD requires a temperature of 2500°K, while nuclear reactors operate at 1000°K.

Because of the absence of hot, highly stressed, moving parts, both in the generator and the rest of the cycle, it is possible that nuclear MHD would require little maintenance. The e; pensive pai t| of the generator is the field coil, and it is outside of the channel. If the channel became contaminated, it could be discarded and the magnet saved.
Theoretically the nuclear MHD system would be more efficient than the standard nuclear reactor. Costs would be approximately the same [2:178-179].

Vl. SUMMARY AND CONCLUSION

A. Summary

MHD generators produce current by passing a high velocity conducting fluid through a very strong magnetic field. The conducting fluid is an ionized gas, or plasma, or a liquid metal. The simplest MHD system is an open system, in it an alkali metal is used to seed the combustion products.
The other system is a closed system, in which a very pure inert gas is heated in a heat exchanger I and seeded with an alkali metal. The inert gas is recycled.
In a liquid-metal MHD system, a mixture of metal and gas is heated to a high temperature andexpanded in the channel as a foamlike substance. This foam is used as the working fluid.
Open cycles have l_igher efficiencies than closed cycles. For this reason, MHD power systems are being considered for advanced power plants.
The MHD working fluid exits the MHD channel at high temperatures.
To design high performance power plants, this exit heat must be utilized. This is generally done by using steam bottoming. Heat exchangers are normally used to produce the steam.
The disadvantages of MHD are their complexity compared to standard steam plants, construction time is longer, costs are higher, direct current must be converted to alternating current, and all the drawbacks are not yet known.
The advantages are high potential 7or high efficiency and low cost per unit power, and cleaner emissions.

B. Conclusions

The author believes that much additional research is warranted.
Although the costs of MHD are high, the good points override the weak points. With the coal reserves of America and the antipollution setups of MHD, MHD generation seems to be one of the best ways to utilize the resource of coal.
One of the best areas for research in the near future is MILD. In due time the efficiencies will be raised asproblems are solved and discoveries are made.
Magnetohydrodynamics does have a future in power production for America and the world.

PRODUCTION D’ÉNERGIE MAGNETOHYDRODYNAMIQUE

INTRODUCTION
La magnétohydrodynamique (MHD) est l’étude de l’utilisation d’un gaz ou d’un plasma ionisé pour perturber un champ magnétique produisant ainsi un flux de courant si une charge (résistance) est appliquée. Il existe trois types de MHD :
(1) gaz ionisé, (2) métal liquide et (3) nucléaire. Les trois types utilisent les mêmes principes théoriques.
Le gaz ionisé étant le plus largement utilisé et le plus prometteur, seul il sera discuté en détail dans cet article.
Un plasma est tout état de la matière qui contient suffisamment de particules chargées libres pour que son comportement dynamique soit dominé par les forces électromagnétiques. De très faibles degrés d’ionisation sont suffisants pour qu’un gaz démontre des forces électromagnétiques. L’ionisation d’environ 1/10 pour cent d’un gaz atteint plus de la moitié de sa conductivité électrique maximale possible. Une conductivité d’ionisation de 1% est presque celle d’un gaz complètement ionisé. À l’exception de la Terre, la majorité de la matière dans l’univers est du plasma. L’occurrence naturelle du plasma à la surface de la Terre est inexistante [ 1″1 ] .*
Le but de cet article est d’explorer le domaine de la MHD dans le but de donner une vue d’ensemble brève mais complète de la structure de la MHD et de la conversion d’énergie, ses applications et son histoire de développement.

II. L’HISTOIRE

Une théorie

« Quand Faraday découvrit le principe de l’induction électromagnétique, il comprit qu’il s’appliquait aussi bien aux fluides conducteurs qu’aux solides.
À son époque, le moteur thermique était également utilisé, même si les principes de la thermodynamique et de la dynamique des gaz n’avaient pas encore été formulés. Le principal ingrédient qui manquait à Faraday était la connaissance des propriétés électriques des gaz. Ces connaissances, qui englobent nécessairement la science de la physique atomique et moléculaire, ont commencé à être acquises par l’étude des décharges gazeuses à la fin du XIXe et au début du XXe siècle. Ces études empiriques ont été accompagnées par le développement de la théorie cinétique, de la mécanique statistique et de la théorie quantique, qui étaient tous en grande partie des efforts pour expliquer ce qui a été observé dans les décharges  » [2:4-5].

Les premiers brevets traitant de la production d’énergie MHD ont commencé à apparaître en 1910. Ces brevets étaient très vagues sur la méthode d’ionisation et les propriétés électriques résultantes du fluide ou du plasma de travail.
La magnétohydrodynamique est d’abord devenue une science distincte grâce aux efforts des scientifiques (en particulier des astronomes) qui tentaient de comprendre certains phénomènes astrophysiques. Pendant et après la Seconde Guerre mondiale, la poursuite de la fusion nucléaire contrôlée a créé des quêtes supplémentaires pour la connaissance du plasma [2:5].

•Le nombre suivant les deux points indique le numéro de page.
1984017390-005

B. Recherche

Dans les années 1940, un grand générateur MHD sophistiqué a été construit à Westinghouse Electric ; il a échoué parce qu’on ne disposait toujours pas d’une connaissance suffisante des propriétés des gaz ionisés.
En 1959, un générateur expérimental MHD a été construit à AVCO qui a produit 11,5 kW de puissance et a obtenu une interaction suffisamment forte entre les gaz et le champ magnétique pour provoquer une perte de charge appréciable. Le plasma était de l’argon à une température de 3000°K [2:5].

Les calculs des années 50 et 60 indiquaient un succès rapide. Un
ambitieux et à grande échelle a été entrepris à Amelica. Bien que des progrès aient été réalisés, ces programmes à grande échelle n’ont pas été couronnés de succès.
Les scientifiques se sont tournés vers de petites configurations expérimentales dans lesquelles de nombreux problèmes ont été résolus [3:1].

En 1964, les travaux ont commencé sur un générateur pour alimenter une soufflerie à haute enthalpie au Arnold Engineering Development Center à Tullahoma, Tennessee. Ce projet est toujours opérationnel [2:8].

Le générateur MHD pour la soufflerie d’Arnold Engineering est connu sous le nom de LORHO. Il a été conçu pour produire 20 MW de pointe, et a en fait atteint 18 MW pendant dix secondes [3:4].

En 1963, Avco-Everett Research Laboratory a conçu, construit et mis en service le premier grand générateur MHD qui a fonctionné. Il a produit 32 MW pendant quelques secondes. Il s’appelait l’Avco Mark V [3:4].

Un nouveau projet est en cours chez Arnold Engineering. Il sera discuté plus tard.

C. Géographie

Le développement mondial du MHD a été relativement intense au cours des quinze dernières années, quoique moins que celui des réacteurs nucléaires. Les principaux pays qui effectuent des recherches sur le MHD sont la Grande-Bretagne, la France, l’Allemagne, la Pologne, le Japon, les États-Unis et l’Union soviétique. L’Amérique et la Russie font la majeure partie du développement.
Les situations nationales de carburant ont conduit à différents types de développement dans divers pays. En Russie, le gaz naturel MHD est en cours de développement.
Tandis que les USA travaillent avec le charbon et le Japon travaille avec le pétrole [3:2-3].

III. CONCEPTS DE BASE

Une théorie

Considérons le système de coordonnées de la figure 1. Le plasma se déplace dans la direction x+ avec une vitesse u et une conductivité scalaire o. Soit B le champ magnétique. En utilisant la règle de la main droite, u x B est dans la direction y positive, u x B est la force électromotrice induite ou le potentiel. Par conséquent, le courant j = o (u x B – E) est défini comme le courant de Faraday où E est le champ électrique, j x B produit F dans la direction x négative. Définissez F = j x B comme le courant de Hall. Le courant Hall est dû à l’effet Hall qui se produit lorsque des particules chargées dérivent de manière aléatoire dans le champ magnétique produisant F. La base de MHD est l’utilisation de j et F pour produire de l’énergie. La puissance est définie comme P = j E.

La puissance MHD est une extraction directe de l’enthalpie des gaz ionisés.
Un générateur MHD qui utilise le courant de Faraday s’appelle un générateur de Faraday ; celui qui utilise le courant de Hall est appelé un générateur de Hall [2:10]. La figure 2 montre les modèles de champ d’écoulement pour le potentiel et le courant entre les électrodes dans un générateur MHD.

B. Structure

Le générateur MHD se compose d’un très gros aimant qui s’adapte autour du canal de combustion. Cet aimant est appelé une bobine de selle. La masse de l’aimant est directement proportionnelle à la production d’énergie (Fig. 3).
Au début du canal de combustion se trouve le brûleur où le combustible et le comburant sont mélangés et brûlés. À l’intérieur des parois du canal se trouvent des électrodes (Fig. 4, en haut) qui sont attachées à des charges qui reçoivent le courant généré. Dans le canal se trouvent également des sondes qui mesurent la température, la pression, la vitesse (en fonction de la distance et du temps) et l’enthalpie (qui sera discutée plus tard). A l’extrémité du canal, selon le système, il peut y avoir un diffuseur et un appareil de récupération de graines, ou il peut y avoir un mode supplémentaire de génération d’énergie. Toutes les dimensions de l’appareil ci-dessus dépendent de la quantité de puissance souhaitée, du type de carburant à utiliser et du type de générateur MHD à utiliser [2].
La figure 5 est un schéma du projet Arnold Engineering MHD à Tullahoma, Tennessee. Les figures 6 et 7 sont des schémas de l’ensemble du système, tandis que la figure 8 montre les alignements de flux et de champ [4].

C. Problèmes d’ingénierie

Lors du choix du type de générateur MHD à utiliser, il faut tenir compte des éléments suivants : (1) les générateurs Hall produisent une haute tension et un faible courant, des électrodes solides sont nécessaires pour recevoir le courant Hall (Fig. 9) ; (2) Les générateurs de Faraday produisent une basse tension et un courant élevé, des électrodes segmentées sont nécessaires pour recevoir le courant de Faraday (Fig. 9). Cependant, il y a une alternative. Construisez un générateur qui utilise le point d’intersection de la figure (Fig. 10). Ceci peut être accompli en utilisant des électrodes segmentées pour recevoir la quantité élevée de courant de Faraday et en diagonalisant ces électrodes pour augmenter la tension. Le résultat est une médiane heureuse ou le meilleur des deux générateurs. (La figure 11 montre les trois types de générateurs : (1) Hall, (2) A Faraday et (3) Diagonalized [2].
Le canal et en particulier les électrodes sont également sujets à l’érosion et aux dommages causés par la chaleur. L’érosion est due à la vitesse du plasma et aux effets de scorification. La température de 3000°K endommage également les électrodes. Les matériaux sont au cœur de la conception d’un générateur MHD [5].
Une grande partie de la chaleur est perdue à travers les parois des canaux à des températures aussi élevées. La plupart des parois des canaux sont refroidies à l’eau, composites (en couches), métalliques. Les électrodes sont faites d’acier, de zircone et d’autres métaux.
Le carbone a été utilisé mais ne tient pas. Les Russes ont
ont développé des électrodes métalliques refroidies à l’eau ! qui sont capables de fonctionner 24 heures par jour et toute l’année. Leur sacrifice est une efficacité inférieure, environ 10 pour cent.
Le glissement ionique, dû à la désionisation et à la réionisation des atomes, est infime à haute pression et ne pose donc pas trop de problème [2].
Après les matériaux, les pertes de chaleur et le coût excessif des aimants sont les deux principaux problèmes de conception. Avec le glissement ionique à basse pression, ces trois éléments forment une enveloppe d’opérations (Fig. 12). Cette enveloppe contrôle la durée de l’interaction [2:148 ].

Les générateurs MHD produisent du courant continu. Les onduleurs courant continu-courant alternatif sont chers.
Cependant, de nombreuses industries, en particulier les industries métallurgiques, ont de toute façon besoin de courant continu. Le dernier problème est dû aux températures élevées d’ionisation. La chaleur d’ionisation, lorsqu’elle est exprimée en électron-volt, est appelée potentiel d’ionisation. Les gaz les plus courants, tels que l’air, le monoxyde de carbone, le dioxyde de carbone et les gaz rares, qui sont utilisés dans le MHD, ont des potentiels d’ionisation élevés.
Ce problème est surmonté en ajoutant l’un des métaux alcalins, qui ont de faibles potentiels d’ionisation, au gaz en petites quantités. Les gaz communs mentionnés ci-dessus s’ionisent vers 4000°K, tandis que les métaux alcalins s’ionisent vers 2000°K. Une partie ou moins de métal alcalin pour cent parties de gaz est suffisante pour abaisser la température d’ionisation à 3000°K. Ce processus s’appelle l’ensemencement. Le processus d’ensemencement entraîne des températures suffisamment basses pour être supportées par certains matériaux solides [2:17].
Il y a beaucoup d’autres très petits problèmes à diagnostiquer et
résolu à l’avenir qui a réduit l’efficacité résultante.

D. Conversion d’énergie

Le générateur MHD transforme l’énergie interne d’un gaz en
l’énergie électrique de la même manière qu’un turbogénérateur. Dans le turbogénérateur, l’énergie d’un gaz est convertie en mouvement d’un conducteur solide au moyen des aubes de turbine et d’une liaison mécanique de connexion. Mais le générateur MHD utilise le gaz lui-même comme conducteur et en se dilatant à travers une buse, le gaz se déplace. Dans les deux cas, le mouvement d’un conducteur à travers un champ magnétique produit une force électromotrice et un flux de courant J. Le générateur à turbine conventionnel transporte le courant vers une charge externe à travers des balais. Ce même processus est tracé en MHD par les électrodes [2″1-2].
Un générateur produisant l’équivalent de dix grandes centrales est envisageable pour MHD, soit environ 107 KW. Les applications pour lesquelles MHD est bien adapté sont celles nécessitant une puissance élevée et une température élevée. Cela comprend de nombreuses exigences publiques et militaires.
« Aujourd’hui, une puissance de 1 000 MW à partir d’une seule centrale n’est pas rare ; et le cycle de la vapeur n’utilise qu’une petite fraction de la température disponible provenant des combustibles fossiles. » Des rendements plus élevés peuvent être obtenus avec le nappage MHD du cycle à vapeur [2:3].
Un générateur MHD utilise un cycle de Brayton. (La figure 4 donne une comparaison MHD-Turbine.) (La figure 13) montre les diagrammes T-S du cycle de Brayton.
Le cycle pseudo-Brayton n’utilise pas de compresseur, tandis que le cycle Brayton utilise un compresseur [2:3-4].) donner l’intensité du champ magnétique, la tension, le courant, la puissance, la pression du brûleur, la température de la flamme, le débit de carburant et de graines, etc., pour le générateur Arnold Engineering MHD. Ces chiffres donneront une idée des paramètres impliqués dans la production d’énergie MHD [2 : 4,4,6].
Le rendement de production d’électricité est défini comme suit :


où r/= efficacité, hi = enthalpie (initiale) et hf = enthalpie (finale) L’efficacité peut être calculée par ordinateur à l’aide d’un programme d’analyse de la composition des composants. Tous les générateurs MHD modernes sont surveillés et contrôlés par ordinateur. Une sonde d’enthalpie a été conçue pour mesurer Ah (réel) en mesurant le temps (vitesse) et la différence de température. Après avoir été calibré pour le système, il est assez précis [5]. Le rendement russe le plus élevé (Projet de Moscou) obtenu à ce jour est de 10 %. Le rendement le plus élevé obtenu au monde est de 12 % au Arnold Engineering Development Center. On pense que le plus haut atteignable est de 15 pour cent, tandis que l’efficacité théorique est de 20 pour cent. Le coût par kilowattheure est estimé entre 10 $ et 20 $. (Les figures 19 et 20 donnent les graphiques d’enthalpie d’Arnold Engineering.)

IV. UNITÉS MULTISYSTÈME

Un design Le générateur de vapeur requis pour un système binaire MHD est de conception quelque peu différente de celui des centrales électriques conventionnelles en raison de la température élevée des gaz d’échappement du MHD, de la présence de cendres, de graines et de scories dans les produits de combustion des tuiles. Un autre composant important requis par un système MHD est un onduleur pour convertir le courant continu en courant alternatif. De nombreux progrès dans le domaine des onduleurs ont été réalisés en Russie [3:9-10]. L’unité de vapeur MHD (Fig. 21 et le haut de la Fig. 22) se compose d’un charbon ou natura! canal MHD au gaz. Attaché à la fin du canal est un générateur de vapeur (un peu comme une chaudière) qui produit de la vapeur pour entraîner des turbines. Au-delà du générateur de vapeur se trouve un système de récupération de graines3, qui renvoie les graines vers la chambre de combustion. Ensuite, nous avons attaché un dissolvant d’azote et de soufre (le soufre est l’inconvénient numéro 1 de la combustion du charbon) qui élimine l’azote et le soufre sous forme d’acide. Ces deux acides sont demandés dans l’industrie. Seul du gaz propre sort de l’usine [3:9]. L’efficacité du système binaire est définie comme suit :

La plupart des centrales à vapeur ont des rendements de 30 à 35 pour cent. Par conséquent, une efficacité binaire de 40 à 50 pour cent est obtenue avec une bonne possibilité de 60 pour cent [5]. Une configuration similaire utilise de l’air au lieu de la vapeur (Fig. 22, en bas). Ce système est fondamentalement le même, mais utilise de l’air au lieu de turbines à vapeur. Ce n’est pas tout à fait aussi efficace [3:9]. La plupart des applications MHD utilisent un cycle Brayton (gaz) plutôt qu’un cycle Rankine (vapeur). Les fluides de travail adaptés à une utilisation dans les cycles Rankine à haute température ont tendance à être très corrosifs. La plupart de ces fluides sont des métaux et non des gaz. En revanche, les gaz ensemencés de métaux sont moins corrosifs et posent moins de problèmes de matériaux. Cela favorise les systèmes binaires. Les produits de la combustion des combustibles fossiles sont des gaz et résultent donc en un cycle de Brayton et des possibilités binaires [2:164-165]. Un cycle à vapeur MHD utilise la chaleur résiduelle (Qout) du cycle de Brayton pour produire de la vapeur et faire fonctionner des turbines. La plupart des propositions de centrales électriques commerciales à combustibles fossiles ont inclus un fond de vapeur [2:170]

Avantages et inconvénients


Les points forts des systèmes binaires MHD semblent l’emporter sur les points faibles. Sur une période de temps, les coûts initiaux seraient absorbés par des coûts de production d’électricité inférieurs (résultant d’une efficacité plus élevée.)
Un facteur de préoccupation croissante est le contrôle de la pollution. Une centrale électrique au charbon produit trois types de pollution : (1) thermique, (2) particulaire et (3) chimique. Une centrale vapeur MHD rejette seulement la moitié de la chaleur des centrales vapeur conventionnelles. Le MHD a un avantage de 3 à 1 en perte de chaleur par rapport au nucléaire.
Le processus de récupération des graines élimine la majeure partie de la pollution particulaire. La pollution chimique des centrales électriques est constituée de NO et de SO2. Ceux-ci sont éliminés sous forme d’acides dans le système MHD. Les coûts initiaux du MHD sont supérieurs à ceux de la vapeur, mais comparables au nucléaire. En résumé, il apparaît que MHD a quelque chose à offrir d’un point de vue économique aussi bien qu’écologique [2:174-175].

C. Projet Reynolds Metals


Considérons le projet d’usine Reynolds Multisystem MHD. Ce système n’est pas un vrai système binaire, mais son efficacité et son utilisation justifient sa mention dans cette section. Le projet suivant a été étudié dans les années soixante-dix. Reynolds Metals, un producteur d’aluminium, avait besoin d’un moyen pour lutter contre la hausse des coûts de l’électricité.
La production d’aluminium nécessite de grandes quantités de courant continu. Des températures élevées sont nécessaires pour la fusion.
Beaucoup d’eau chaude est nécessaire pour le traitement. Un projet pi!,ot à Listerhill, Alabama, a été mené par Ed Scannell, Ph.D. Le Dr Scannell a affirmé une efficacité globale (énergie totale éné totale, pas d’électricité) de 80 pour cent avec l’explication suivante :
1) Le courant continu a été généré et utilisé dans le traitement.
2) Le générateur était un système refroidi à l’eau. Au lieu de chauffer l’eau de l’usine comme d’habitude, de l’eau froide a été utilisée pour refroidir le générateur produisant de l’eau chaude comme sous-produit qui à son tour a été utilisé dans le traitement.
3) Le plasma à l’extrémité du générateur pourrait être utilisé directement dans le four pour fondre le minerai.
4) L’air chaud du n° 3 ci-dessus pourrait également être utilisé dans le traitement.

Comme on peut le voir, MHD est parfaitement adapté à l’industrie métallurgique. Ce projet a pris fin il y a deux ans à la mort de Billy Reynolds (qui le soutenait).

V. AUTRES TYPES DE MHD

A.Liquide.Métal MHD

Le MHD en métal liquide utilise un métal fondu qui s’écoule au lieu d’un gaz ionisé pour produire du courant. Le métal est très corrosif et les électrodes ne durent pas longtemps. La plupart des recherches ont utilisé le charbon pour la chaleur et le sodium comme métal. Celui-ci peut être couplé à des turbines à vapeur dans un cycle de Rankine. Le métal liquide ne semble pas aussi prometteur que le gaz ionisé MHD.

B. MHD nucléaire

Dans le MHD nucléaire, la fission nucléaire a lieu et le plasma nucléaire est autorisé à s’écouler à travers le canal MHD dans un système fermé. Un fond de vapeur serait également utilisé. Il est à craindre que dans le nucléaire MHD L, des matières radioactives puissent s’échapper du système en raison des températures élevées. Le MHD nucléaire nécessite une température de 2500°K, tandis que les réacteurs nucléaires fonctionnent à 1000°K.

En raison de l’absence de pièces mobiles chaudes et fortement sollicitées, à la fois dans le générateur et le reste du cycle, il est possible que le MHD nucléaire nécessite peu d’entretien. Le e ; pai t pensive| du générateur est la bobine de champ, et elle est à l’extérieur du canal. Si le canal devenait contaminé, il pouvait être jeté et l’aimant conservé.
Théoriquement, le système nucléaire MHD serait plus efficace que le réacteur nucléaire standard. Les coûts seraient approximativement les mêmes [2:178-179].

Vl. SOMMAIRE ET CONCLUSION

Un résumé

Les générateurs MHD produisent du courant en faisant passer un fluide conducteur à grande vitesse à travers un champ magnétique très puissant. Le fluide conducteur est un gaz ionisé, ou plasma, ou un métal liquide. Le système MHD le plus simple est un système ouvert, dans lequel un métal alcalin est utilisé pour ensemencer les produits de combustion.
L’autre système est un système fermé, dans lequel un gaz inerte très pur est chauffé dans un échangeur de chaleur I et ensemencé avec un métal alcalin. Le gaz inerte est recyclé.
Dans un système MHD à métal liquide, un mélange de métal et de gaz est chauffé à haute température et expansé dans le canal sous forme de substance mousseuse. Cette mousse est utilisée comme fluide de travail.
Les cycles ouverts ont des efficacités plus élevées que les cycles fermés. Pour cette raison, les systèmes d’alimentation MHD sont envisagés pour les centrales électriques avancées.
Le fluide de travail MHD sort du canal MHD à haute température.
Pour concevoir des centrales électriques à haute performance, cette chaleur de sortie doit être utilisée. Cela se fait généralement en utilisant un fond de vapeur. Des échangeurs de chaleur sont normalement utilisés pour produire la vapeur.
Les inconvénients des MHD sont leur complexité par rapport aux centrales à vapeur standard, le temps de construction est plus long, les coûts sont plus élevés, le courant continu doit être converti en courant alternatif, et tous les inconvénients ne sont pas encore connus.
Les avantages sont un potentiel élevé 7 ou un rendement élevé et un faible coût par unité de puissance, et des émissions plus propres.

B. Conclusion

L’auteur pense que beaucoup de recherches supplémentaires sont justifiées.
Bien que les coûts de MHD soient élevés, les bons points l’emportent sur les points faibles. Avec les réserves de charbon de l’Amérique et les installations antipollution de MHD, la génération de MHD semble être l’un des meilleurs moyens d’utiliser la ressource de charbon.
L’un des meilleurs domaines de recherche dans un proche avenir est MHD. En temps voulu, les gains d’efficacité seront augmentés au fur et à mesure que les problèmes seront résolus et que des découvertes seront faites.
La magnétohydrodynamique a un avenir dans la production d’électricité pour l’Amérique et le monde.

Wikiwix Archive


Ovnis, propulsion électromagnétique
& énergies alternatives 

C.P. Kouropoulos

kouros@ovni.ch


Trois méthodes électrodynamiques

Selon le principe bien établi des forces de Laplace et de Coulomb. Les plus prometteuses exploitent l’hyperpolarisabilité diélectrique de l’air excité près du seuil d’ionisation etl’électrocondensation de l’eau. Toutes exigent dans leur mise en œuvre efficace, un unique procédé: l’ionisation ou seulement l’excitation des gaz par des avalanches d’électrons induites par de brèves et intenses impulsions ou gradients de champs électriques. L’EHD se distingue par sa simplicité et son efficacité, du fait de son action sur les immenses masses d’air à l’intérieur de l’onde de choc toute entière et même son extension artificielle et par la synergie de nombreux effets propulsifs. L’effet de Hall convertit les systèmes EHD pour fonctionner dans l’ionosphère aux nombres de Mach élevés.

1/ La Magnétohydrodynamique ou MHD

      Il s’agit d’accélérer un fluide conducteur par la force de Laplace F = J x B, perpendiculairement à un courant et à un champ magnétique. L’un des problèmes, c’est la puissance dissipée P = RJ2. C’est-à-dire que si la force F est linéairement proportionnelle à l’intensité du champ B et au courant J, la dissipation, elle, est quadratique en ce dernier. Voici donc les domaines où la MHD excelle:

–       Convertisseurs électromécaniques utilisant un métal liquide, conducteur exceptionnel. L’idéal, c’est le sodium liquide, de faible densité, et donc de faible inertie. Le rendement atteint 85%. Deux exemples connus sont les pompes du système de refroidissement au sodium du regretté Superphénix, et un prototype de moteur à explosion ultra-compact dont l’énergie est instantanément convertie en électricité. Plus de vilebrequin, ni de transmission mécanique, de boîte de vitesse ou d’alternateur: le piston déplace directement le sodium, dont des aimants permanents au Fer-Néodyme convertissent directement l’énergie cinétique en électricité. Ce générateur ultra-léger et compact fonctionne au régime optimal, car sa dynamique peut être entièrement contrôlée par un microprocesseur. Une partie de l’énergie est dissipée en turbulence et dans l’électrode. Principaux inconvénients: la température de fonctionnement et le risque d’incendie. Manifestement, le rendement et la fiabilité d’un moteur similaire à bobinages sont potentiellement supérieurs.

–       Le jour où nous maîtriserons la fusion thermonucléaire dans des plasmas de très haute température (~150 Millions de °K), la MHD sera la méthode idéale de conversion de leur énergie en électricité. Ce jour semble lointain, pour l’instant. Toutefois il existe déjà des sources d’énergie susceptibles de tirer profit d’un tel système.

–       Guidage de rentrée ionosphérique par aérofrein magnétique. Vraisemblablement testé dans les missiles balistiques à têtes simples ou multiples dès les années 1970. Des essais pourraient avoir induit des observations d’Ovnis assez spectaculaires (essaims de boules lumineuses capables de changer indépendamment de directions) dont l’étude justifie un organisme tel que le SEPRA. Il existe une version naturelle, tout aussi spectaculaire de ce phénomène: la rentrée et fragmentation d’un météorite ferreux magnétisé (songer à une forme irrégulière tournant, ricochant, magnétisée de façon désaxée et se fragmentant de façon aléatoire).

Voici des domaines où la MHD est envisageable, avec un rendement médiocre que compensent toutefois des avantages:

–       Accélération dans l’eau de mer, comme pour le sous-marin nucléaire du film Octobre Rouge. Les problèmes majeurs sont la dissipation ohmique de l’eau salée (~5W-m), et électrochimique au-dessus de 1.5Volts, qui aboutit surtout à électrolyser l’eau. Le rendement atteint néanmoins 50% (soit 50% de chaleur dissipée en propulsion, qu’il faut tempérer par le rendement du cycle d’alimentation). L’avantage recherché est le silence des sous-marins nucléaires stratégiques.

–       Accélération d’une torpille sous-marine à supercavitation, se déplaçant dans une bulle essentiellement produite par l’éjection près de la pointe des gaz d’un générateur chimique. L’électrolyse de l’eau contribuerait, sur la surface intérieure de la bulle, à la supercavitation, tandis que l’hydrogène et l’oxygène produits y seraient brûlés, contribuant à maintenir la pression. L’énergie électrique est produite électrochimiquement par une turbine ou par combustion d’Aluminium dans l’eau, les gaz étant éjectés à l’avant. L’engin n’est supposé fonctionner que quelques dizaines de secondes. Les vitesses atteintes seraient de centaines de Km/h. La méthode serait applicable à un mini sous-marin d’attaque, mais vraisemblablement sur des temps limités, en analogie avec la post-combustion des chasseurs supersoniques.

–       Accélération ou freinage d’un satellite dans l’ionosphère, grâce à un câble conducteur isolé sur sa longueur et tendu dans le champ ambiant, vers le haut par la force centrifuge. Le freinage convertit l’énergie cinétique du satellite en électricité. L’idée, en tant que système de propulsion, est d’économiser le dernier étage de mise sur orbite haute en se servant de l’énergie de panneaux solaires durant plusieurs mois. En tant que moyen de freinage, un système analogue se révélerait utile pour des missions interplanétaires, un champ magnétique artificiel autour du véhicule complétant le champ naturel. Le désavantage, en mode propulsif, est la ténuité et la résistance du plasma ionosphérique. L’avantage est une énergie ambiante inépuisable pour un tel système, celle du Soleil dans le voisinage terrestre. Pour l’instant, les tentatives faites dans ce sens ont échoué: le câble déroulé depuis la navette spatiale s’était rompu, et un satellite lancé auparavant n’avait pu dérouler le sien. Mais en principe, ces difficultés peuvent être surmontées.

–       Convertisseur de flux aérodynamique en puissance électrique. L’ionisation à cascades électroniques le long des lignes de flux représente une puissance modeste, de quelques kilowatts. Le rendement atteint 25% à Mach 3 et 13% à Mach 8. Peut être utile en tant que générateur capable de fournir des mégawatts, mais pose de nombreux problèmes, notamment de poids, d’échauffement des flux et des composants qui rendent son utilisation délicate, voire difficile pour le freinage des flux en amont d’un statoréacteur. Néanmoins, une utilisation modérée ferait la différence qui permet à un statoréacteur de fonctionner en hypersonique.

–       Contrôle ponctuel des flux aérodynamiques sur des régions critiques à haute altitude où une densité élevée de force est désirable. L’effet de Hall étend le champ d’application aux volumes importants, surtout à haute altitude et nombres de Mach élevés, mais est généralement considéré comme participant de la propulsion électrique.

Et ceux où la MHD s’est révélée décevante:

–       En tant que premier étage de conversion directe d’une centrale thermique, pour en augmenter le rendement. Même l’Hélium, gaz idéal, à ~2200°K, ensemencé de Potassium ou de Césium (toxique et cher) et ionisé à moins de 1% a encore une résistance de~10W-m, et il y a la turbulence du plasma et l’érosion des électrodes. L’efficacité du convertisseur MHD atteint 25%, ce qui permet de porter celle, globale du cycle, de 40% à 55%. On préfère ceux utilisant un métal liquide et un changement de phase. En pratique, l’utilisation de turbines à gaz à haute température se révèle plus simple.

–       En tant que propulseur atmosphérique principal. Là, les rendements sont désastreux et la dissipation catastrophique aux basses altitudes. Il faut tout d’abord ioniser l’air, ce qui représente une dépense énergétique relativement modeste avec des cascades électroniques. À poussée égale, la dissipation MHD évolue comme le carré inverse du champ, qui gagnera à être aussi élevé que possible. Les électroaimants les plus puissants dont nous disposons, les supraconducteurs au Niobium-Titane ou au diborure de Magnésium récemment découvert, plus léger, économique et facile à usiner, cryogéniquement refroidis, fournissent moins de 16 Teslas dans les zones utiles (quoique le record du champ critique à la surface du câble ait récemment atteint 30T pour le diborure, et plus encore pour certaines substances pour l’instant inutilisables industriellement). Un calcul élémentaire montre que pour produire une tonne de poussée sur une nappe de courant de 1 mètre sous 16 T, il faut 625 Ampères. La dissipation sera donc de R x 0.39MW, où R dépend de la température du plasma et de la pression. Un turboréacteur typique produit 600Kg de poussée avec 1MW.  À très basse pression ou haute altitude, les paramètres d’un tel système couplé à un statoréacteur ou une fusée lui permettent de figurer dans la catégorie précédente. Toutefois, dans le domaine de la propulsion primaire, il semble bien plus judicieux, vu la perte de rendement, la complexité et le coût, d’utiliser directement la sortie des gaz!

     Pour des champs plus importants en continu, l’aimant cryogénique s’impose. Le plus puissant jamais construit le fut à Los Alamos à la fin des années 1990, et atteignait 60 Teslas. Il occupait une salle entière et était conçu pour résister à mille mises sous tension. Au bout de 80 essais, il explosa, et fit voler en éclats le plafond du bâtiment avec lui. Heureusement, personne ne se trouvait à proximité et il n’y eut ni morts ni blessés. À savoir que les câbles transportant plusieurs millions d’Ampères tendent à imploser sur eux-mêmes, leurs spires au sein d’un solénoïde éventuel à se coller les unes aux autres, tout assemblage de telles spires à exploser en s’écartant de l’axe central et que les meilleurs matériaux ne permettent un fonctionnement sûr que jusqu’à 40 Teslas. Le rendement peut dépasser l’efficacité d’une turbine à 30Km d’altitude. Toutefois, ni l’aimant supraconducteur à 12 Teslas ni le cryogénique de 40 Teslas ne sont une mince affaire: ce sont des appareils extrêmement lourds, massifs, encombrants, construits pour résister aux contraintes immenses auxquelles les soumet leur champ interne et isolés des moindres vibrations afin d’éviter toute brisure de leurs matériaux fragiles aux basses températures, sans compter la nécessité de refroidir en continu leur fluide cryogénique, ce qui nécessite une machinerie supplémentaire à haut débit. En mode pulsé et même continu pour un véhicule soumis à des contraintes, les vibrations mécaniques rendraient le tout encore plus dangereux, menaçant d’exploser en vol sans préavis. Quant aux aimants à compression explosive de flux, ils s’autodétruisent et ne permettent qu’une seule impulsion, certes gigantesque.

Macheret, Shneider & Miles, Modeling of Air Plasma Generation by Repetitive High-Voltage Nanosecond Pulses; IEEE Trans Plasm Sci V30 N3, June 2002. Étudie aussi l’ionisation par cascades électroniques induites par de courtes impulsions de champs électriques, un sujet crucial en EHD et EMHD.

     Dans l’air à 1 atm, la dissipation JE vaut 32GW/m3, et la force 12.6 tonnes/m3 par Tesla, ce qui exclut la MHD pour tout véhicule réaliste dans la basse atmosphère (sous 10 Teslas, 12.6 tonnes de poussée exigeraient deux grandes centrales nucléaires!). À 30Km d’altitude, sous 10 Torrs et à 2000°K (admettons un plasma bi-température), on dissiperait 60MW pour 1.45 tonnes/m3 de poussée par Tesla, ce qui, pour le contrôle des flux à très haute altitude, devient intéressant au-delà de quelques Teslas s’il est passif, d’une dizaine de Teslas s’il est actif et de 40 Teslas pour la propulsion. La dernière option semble au-delà de nos possibilités, ainsi que l’usage par trop extensif de la seconde.

      Pour toutes ces raisons, je pense que la MHD en aéronautique ferait appel à la supraconductivité, limitée à une dizaine de Teslas. De plus, la zone accélératrice à champs et courants intenses sera extrêmement limitée, et on sait qu’il vaut mieux accélérer faiblement de grands volumes de gaz que fortement de faibles flux, ce qui rend le procédé intrinsèquement inefficace en tant que propulseur primaire.

      Ajoutons encore les problèmes de migration d’une décharge continue vers les zones de moindre magnétisation, les moins avantageuses, ce qui exige néanmoins une géométrie particulière ou un fonctionnement HF, et la fameuse instabilité de Vélikhov.

      Il y a encore la possibilité de former puis d’éjecter des plasmoïdes intensément magnétisés en focalisant des micro-ondes circulairement polarisées, ou à polarisation linéaire tournante par l’Effet Faraday Inverse, puis en leur appliquant un fort courant transverse, mais la dissipation thermique est alors considérable, puisqu’il faut commencer par former le plasmoïde (ionisation totale), puis y créer deux courants, l’un en tourbillon pour le champ et l’autre transverse pour l’accélération, tous deux dissipateurs.

      Si la MHD n’était utilisée que pour freiner l’air en amont des entrées d’air des turbines d’un appareil hypersonique, les contraintes seraient moins sévères. Néanmoins, il faut tout de même commencer par ioniser l’air, puis le freiner par MHD. Se pose alors le problème de son échauffement, puisqu’en bonne part, du moins jusqu’à 80 Teslas, l’énergie du freinage y est essentiellement exprimée thermiquement et qu’il est simultanément comprimé. Peut-être le Dr Jean-Pierre Petit connaît-il la recette magique qui permettrait, sur quelques mètres, d’ioniser, de freiner et donc de comprimer de l’air par MHD (la partie facile, mais le freinage et la compression impliquent un échauffement substantiel), de façon à ce que le résultat soit de l’air assez frais pour alimenter une turbine avec un rendement acceptable? J’ai de sérieux doutes à ce sujet.

L’axiome fondamental de la haute technologie

      Explique pourquoi les avions civils ne sont pas tous supersoniques depuis les années 1970, tandis que le gyroptère Heller n’a pas supplanté le scooter, que l’ingénieuse trottinette gyroscopique de Nick Kamen contrôlée par microprocesseurs restera une curiosité onéreuse vis-à-vis de la bicyclette, et que seuls quelques fous s’achètent le dernier microprocesseur en payant le double d’un modèle de performance légèrement moindre :

«Àdéfaut de grives, on se contentera de merles »**

Mais quels merles !

2/ L’Électromagnétohydrodynamique, solution ingénieuse au problème de la propulsion aérospatiale?

      En faisant tourner la polarisation électrique D, on met en rotation autour d’eux-mêmes des dipôles, crée un courant de déplacement JD=∂tD qui permet une force de Lorentz unidirectionnelle: à deux phases du cycle dans un champ magnétique perpendiculaire à l’orbite et oscillant à la même fréquence, ou bien sur tout le cycle si le champ magnétique tourne avec D. L’accélération résulte de la rotation des dipôles réels des atomes ou molécules polarisés. Quid de ceux, virtuels, du vide?

      L’EMHD, conséquence des équations de Maxwell, F= dA = (E,B), G=*d*A = (D,H), dF = 0, dG = J, et des forces F = J^F, engendre la sienne sur le courant de déplacement JD = tD, considéré ici comme un véritable micro-courant, à passer à droite dans dG=J, ce que confirme l’expérience des Walker. En principe, le raisonnement s’appliquerait au vide polarisable, que le Dr Jack Sarfatti comprend comme le macro-état cohérent (classique) de paires électron-positron intervenant dans les équations de Maxwell, coexistant avec le fluide stochastique de l’électrodynamique quantique. En vertu de la troisième loi de Newton, il en résulterait un échange d’impulsion avec le vide, indépendant de la masse des paires virtuelles. Pour que l’énergie et l’impulsion visibles soient conservées, le courant accéléré doit être lié à l’espace et aux masses dominantes du système gravitationnel local qui le courbent. Le lien peut être indirect: le potentiel Machien retardé de l’Univers passé serait responsable de la seconde loi de Newton F=ma, tandis que sa contrepartie avancée aurait pour conséquence radiative la troisième loi, de l’égalité de l’action et de la réaction, en agissant rétroactivement, à travers la perturbation universelle virtuelle future, sur les masses voisines du quadrupôle perturbé du système gravitationnel local, ainsi qu’esquissé ici. Dans une onde électromagnétique stationnaire, la direction de la force résultante alterne et une poussée orientée exige une configuration asymétrique.

      Avantages de l’EMHD: la rotation à fréquence constante des dipôles est quasi indépendante de leur vitesse de translation, dans toutes les configurations. Les paramètres de fonctionnement sont moins critiques qu’en MHD. Pas besoin d’ioniser, pas de plasma, pas de décharge et donc pas de migration ou de risque de rupture de celle-ci, d’érosion des électrodes, ni de turbulences, d’instabilité de Vélikhov ou de dissipation ohmique. De plus les volumes accélérateurs sont étendus, ce qui autorise des rendements optimaux.

      Précisons que la dissipation ohmique dans un plasma a de nombreuses causes: collisions électrons-ions, électrons-neutres, turbulence hydrodynamique, ondes de plasma électroniques, ioniques, hybrides supérieures et inférieures, instabilité cyclotron, ondes de Bernstein, ondes d’Alfven, atténuation de Landau, instabilité de Helmholtz, j’en passe et des meilleures. En clair, cela signifie que si vous créez une décharge électrique, l’énergie se dissipera essentiellement en un Zoo de vibrations exotiques : son, lumière, chaleur et ondes radio, dont aucune ne contribue à la propulsion recherchée. Pour vaincre la seule instabilité de Vélikhov, JPP dut irradier ses plasmas de très basse pression d’Hélium-Argon, mélange idéal car composé de gaz inertes monoatomiques faciles à ioniser, de quantités de micro-ondes pour les sur-ioniser. Cela revient à tuer les oscillations indésirables en augmentant la dissipation ohmique électron-ion d’ensemble, mais de façon spatialement homogène. À haute pression et dans l’atmosphère, le bilan énergétique serait désastreux. (Il faudrait encore ajouter l’énergie perdue à faire vibrer et tourner au hasard les dipôles de O2 ou de N2, celle convertie en rayonnement, plus celle dissipée dans des réactions chimiques indésirables genre production et dissociation d’ozone, de NO3, de NO) Peut-être que les décharges brèves et de très haute intensité évitent certains de ces pièges grâce à leur cohérence? Mais une telle décharge va, sous forme d’étincelles, ioniser et éjecter le matériau même de l’électrode, qui va rapidement se dégrader, l’un des problèmes majeurs dans les convertisseurs MHD. Je considère donc optimiste l’estimation de JPP, selon laquelle il faudrait mettre au travail un millier de spécialistes de haut niveau pour faire sauter de force ces ‘verrous technologiques’, notion qui me fait songer à l’approche bureaucratique préconisée pour la fusion thermonucléaire à tokamak. L’EMHD résout élégamment ces problèmes… en les contournant!

      Revenons à nos dipôles tournants et à la force de Lorentz. La vitesse instantanée des charges + et – est opposée, mais leur vecteur courant toujours parallèle est proportionnel à la fréquence. Dans un diélectrique soumis à un champ tournant extérieur proche, le courant virtuel matériel Jdiél = w(er-1)eoE, selon le schéma:

Pour un champ électrique linéaire sinusoïdal, considérer une équipartition de dipôles tournant dans les deux directions, ce qui donne un courant de déplacement colinéaire, temporellement déphasé de 90°.
L’idée s’applique-t-elle aux dipôles virtuels du vide?

      Le moment dipolaire induit sera d’autant plus grand que le champ électrique variable sera intense et les molécules excitées, sans toutefois aller jusqu’au plasma conducteur. En effet, la polarisabilité électrique d’un atome gazeux est infinitésimale mais augmente comme la sixième puissance du nombre quantique principal n, avec le volume de l’atome ou le cube du rayon, proportionnel au carré de n. Avec n = 10, le diamètre d’un atome se multiplie par 100 et sa polarisabilité par un million! Exciter ainsi un gaz demande une énergie de deux ordres de grandeur moindre que pour le convertir en plasma conducteur et le maintenir en l’état, sans compter l’absence de dissipation ohmique, à condition que les champs restent au-dessous du seuil d’ionisation. Si la durée de vie de l’air ionisé est courte, celle du gaz fortement excité est assez longue pour l’accélérer. Une part de l’excitation est fournie par le champ accélérateur lui-même, l’autre par des avalanches d’électrons produites par d’intenses impulsions électriques de micro-ondes ultra brèves, la méthode la plus efficace. Le rayonnement restitué lors de la désexcitation peut être récupéré pour être réinjecté en amont. Quant à la poussée, elle est proportionnelle à l’intensité du champ magnétique, à la fréquence et, en raison du moment dipolaire induit par l’excitation, à une puissance du champ électrique. Le rendement est supérieur à celui des meilleures turbines, surtout aux hautes altitudes.

      Dans ce qui précède, les atomes géants de Rygberg sont purement coulombiens. Dans un plasma, la résistance aurait, entre autres, un terme 5kT/2 proportionnel à la température et dû aux collisions thermiques. En présence d’un champ magnétique selon z, d’un courant transverse selon y et d’un flux ou accélération vers x, la conductivité de ce plasma, son inverse, aurait le multiplicateur matriciel

avecw= eB/m la pulsation cyclotron ett=l/v le temps moyen entre collisions (électrons-ions ou ions-ions), où l  est le libre parcours moyen, inversement proportionnel à la pression, et v la vitesse moyenne. Un plasma fortement magnétisé où le paramètre de Hall wt >>1 pour les électrons et les ions se comporte comme un diélectrique hyperpolarisable perpendiculairement au champ, dont l’orbitale des « atomes géants » est confinée par le champ magnétique. Pour minimiser la dissipation, on gagnera à ce que la température des ions soit basse, c’est-à-dire à avoir un plasma bi-température. Pour que wt  soit grand, les intensités magnétiques sont généralement considérables, surtout à pression atmosphérique. Et on peut combiner le confinement magnétique au coulombien des atomes, afin d’augmenter la résistance diélectrique des gaz fortement excités avec des champs magnétiques dont la forte intensité décroîtra de concert avec la pression. Celle-ci est un autre facteur augmentant le champ-limite E ou résistance diélectrique dans un milieu gazeux. Finalement, se pose la question de savoir comment exciter les atomes. Outre les cascades d’électrons par impulsions de micro-ondes intenses ultra-brèves, il y a la dynamique de la combustion, ou les réactions impliquant des pico-molécules exotiques d’hydrogène à orbitales nucléaires.

       La résistance diélectrique augmente donc transversalement à un champ magnétique hyperintense de concert avec lui. Pour tirer profit du phénomène, un champ oscillant B sera additionné d’une composante B continue de façon à ne plus s’annuler quand le champ électrique qu’il induit, temporellement déphasé de 90°, atteint son maximum et menace de créer des décharges; cela va déplacer l’essentiel de la force sur une seule moitié du cycle. L’idée s’applique aux plasmas transversalement figés en diélectriques par un biais magnétique hyperintense, pour l’instant au delà de nos possibilités. Les décharges étant hautement non linéaires, car impliquant des avalanches électroniques, le biais magnétique n’a besoin que d’atteindre le régime de Hall des électrons pour empêcher un gaz excité de devenir plasma. Le procédé s’applique aux propulseurs purement magnétiques, comme la spire oscillante décrite plus bas, ou bien aux schémas à champ électrique additionnel, perpendiculaire au champ magnétique et synchrone, ainsi qu’illustré plus haut ou bien en bas de cette section, à condition de disposer de champs assez intenses, que l’altitude rend plus abordable, puisque t, le temps moyen entre collisions, est inversement proportionnel à la pression. Si l’on réalisait la supraconductivité à plasmons imaginée par le prof Auguste Meessen, l’une de ses applications à l’EMHD serait l’antenne plane spirale, qui fournit le champ électrique transverse de l’onde axiale circulairement polarisée et le dipôle magnétique oscillant hyperintense de l’onde transverse… additionné de l’indispensable biais continu. L’anneau supraconducteur entourant la spirale confine l’énergie électromagnétique du dipôle magnétique axial oscillant et contribue au biais magnétique, hors duquel l’onde ionise l’air, ce qui, de concert avec la baisse soudaine de l’indice de réfraction au-delà, la confine. La force propulsive est parallèle à son plan et dirigée par le déphasage des deux ondes. Près de la source oscillante intense et biaisée, une zone super-diélectrique EMHD ; plus loin une zone de Hall négativement chargée et à conduction ionique ; autour, un plasma traditionnel qui pourrait recevoir la charge positive de la précédente, puis enfin l’extérieur en EMHD à champ résiduel faible.

       Enfin, conséquence intéressante du tenseur de conductivité : quand le paramètre de Hall wtest grand pour les électrons seulement, un champ électrique le long de la vitesse vx du fluide conducteur induit un courant de Hall Jy accélérateur, car chargé, en présence d’un champ magnétique Bz. Le convertisseur de Hall exige que Jy se boucle sur lui-même (Ey~0), ce qui est le cas pour tout champ radial, ou normal à une surface de révolution. Quand la vitesse, le champ longitudinal, le paramètre de Hall électronique sont élevés et la pression très basse, l’efficacité atteint 65%. Pourquoi? Parce que le champ magnétique confine les électrons à orbiter dans une sorte de ceinture de Van Allen qui sert de cathode virtuelle, ce qui permet de n’accélérer que les ions, contrairement à l’accélérateur MHD à force de Laplace ou à EHD purement électrostatique. Pas de décharge transverse, de migration, de turbulence de celle-ci ou d’érosion des électrodes. Voilà la Rolls de la propulsion électrodynamique. Et maintenant, revenons à nos moutons.

       L’électro-condensation est une source accrue d’efficacité en EMHD atmosphérique, puisque les gouttelettes d’eau ont à la fois une masse et une polarisabilité importantes au-delà de la taille ferroélectrique critique de 50m.

      Avantages de l’EMHD: le silence, l’efficacité, la possibilité de fonctionner sur une très large plage de vitesses et d’altitudes en modifiant les paramètres peu critiques de fonctionnement (fréquence, intensité des champs et du rayonnement d’excitation). La source d’alimentation électrique peut être un réacteur thermonucléaire ou une turbine.

      Propulseur à champs proches, purement magnétique: le courant (violet) oscillant du câble crée un champ de force. Dans le cas de l’environnement purement diélectrique de l’EMHD, le courant de déplacement associé au champ induit (JD=∂tD = w2(er-1)eoA) est synchrone et parallèle à celui du câble; le champ de force s’y dirigera (centrifuge à l’intérieur d’une spire ou d’un solénoïde, centripète à l’extérieur, vers la normale d’une surface parcourue par une nappe de courant). Quand l’air s’ionise, il forme un secondaire doué d’inductance et de résistance. S’il a une épaisseur grande relativement à la longueur de pénétration, alors le courant induit s’oppose au courant inducteur et le champ de forces éloigne les éléments de courant induit du câble. On est alors en MHD oscillante. En général, un conducteur parcouru par un courant oscillant intense sera attractif sans pertes (EMHD) jusqu’à une certaine distance, répulsif et dissipatif en deçà (courants de Foucault).

      En l’entourant d’un conducteur hémisphérique, on obtient une ligne de transmission résonante dont on dirige la force des ventres vers l’ouverture. (Tenir compte de la résistance mécanique du câble, de son réflecteur et de leur lien diélectrique!) S’adapte à l’aspiration/compression en amont d’entrées d’air et à son éjection en aval une fois ionisé. Tubulaire, la spire isole l’hélium liquide qui la parcourt intérieurement des champs intenses en surface. La région à champs élevés sera un diélectrique difficile à dissocier et à ioniser. Mode EMHD typique à pression P [atm] :  er >>1, B = 2E/rw~ 2T P/r , f = 480KHz, E ~ P 3MV/m. Densité de courant et de force : J = w(er-1)eoE = 80P(er -1)A/m3, F = 2(er-1)eoE2/r= (er -1)(P2/r)8.13Kg/m3, qui ne dépend que du rayon r, du seuil d’ionisation E, au-delà duquel on travaille en MHD, et de er  qui augmente substantiellement à son voisinage. Le champ-limite E est quasiment proportionnel à la pression P. Avec une forte surpression locale dès une certaine vitesse, la densité de force augmente sensiblement en EMHD atmosphérique, d’autant plus quand er  augmente, ce qui est possible en considérant, à l’instar de James Cox, précurseur de l’EMHD, l’hyperpolarisabilité des atomes de Rydberg géants induite par avalanches électroniques, dont les conséquences sont la remarquable efficacité EHD des lifters, inexplicable par le seul vent ionique, la lumière lente et même la foudre en boule. En mode MHD la poussée, certes garantie, dissipe monstrueusement, surtout à basse altitude. Avec un champ hyperintense biaisé, l’effet proche serait purement attractif, et le plasma figé devrait être éjecté à travers un blindage magnétique. Plus loin, zone de Hall, puis à plasma conducteur, puis EMHD diélectrique à champs faibles. Les biais réalisables en régime de Hall permettraient néanmoins d’augmenter substantiellement le champ limite E.

      Les champs proches conviennent à l’EMHD en eau douce, qui possède à la fois un champ E élevé et  er ~ 80 aux basses fréquences uniquement.

Par EMHD, l’anneau médian inducteur HF aspire l’air en amont, le comprime contre lui entre les fentes qui l’entourent. Autour, un anneau secondaire passif; à l’intérieur, la cloche protectrice, tous deux supraconducteurs qui concentrent et confinent le champ. Une fois l’air comprimé autour de la partie supérieure de l’anneau, il s’ionise sur la partie inférieure par combustion/ensemencement et est refoulé à cause des courants de Foucault qui le parcourent. Dans l’eau douce, celle aspirée en haut est rendue conductrice sous l’anneau par injection d’électrolyte. Le facteur 1/r rend le concept adapté à l’entrée d’air d’un statoréacteur.

      Et on peut utiliser une succession de champs magnétiques et électriques parallèles et tournants, pointant alternativement hors et vers une surface en mouvement de laquelle ils émanent. Ici, les dipôles ‘roulent’ stationnaires dans le plan du dessin, orientés le long du champ magnétique (et électrique) qui défile. La force de Lorentz s’exerce vers le fond. Les atomes surexcités non seulement sont super-polarisables électriquement, mais magnétiquement, du fait de leurs nombreuses couches internes à moitié vides, du moment magnétique intrinsèque des électrons et même d’EVs orbitaux; de fait les atomes vont prendre la forme de tourbillons magnétiques fortement dipolaires. Le fluide va acquérir les propriétés particulières d’un ferroélectrique et d’un ferromagnétique extrême, une vitesse de la lumière et une agitation thermique aléatoire abaissées, une viscosité interne, une cohésion et donc une accélération accrues. Si les lignes du champ électrique induit, en bleu ciel dans le plan horizontal, sont potentiellement déstabilisatrices et induisent un couple tourbillonnant transverse, oscillant d’un sens à l’autre sur la trajectoire illustrée, la résultante en est nulle. Ensemble, les champs électriques induit et statique contribuent à exciter le fluide. Les problèmes sont la résistance mécanique de tels assemblages d’aimants, leur poids, leur coût et les fréquences limitées à quelques dizaines de KHz.

      Version HF à serpentins supraconducteurs et électrodes HT en squelette de poisson. Seuls les champs avancent et la force verticale coïncide des deux côtés de la chenille si les deux faces des électrodes ont même polarité. Dans un milieu conducteur, on alimente en continu l’un des serpentins et les électrodes qui s’y trouvent, en tant qu’accélérateur MHD. Sous les mêmes conditions, la force est verticale et parallèle des deux côtés. En aéronautique, tout dépend de er.

       Le long d’un cylindre, agit comme un turboréacteur: la future torpille hypersonique ultra-secrète de la marine Suisse pour dominer le Lac Léman!

      Fonctionne dans le milieu fortement dipolaire et peu conducteur des lacs et des fleuves d’eau douce, tels ceux qui circulent au fond des océans depuis les régions où les glaces polaires fondent en été. Peut-être que leurs eaux sont déjà infestées de sous-marins militaires à ‘chenilles EMHD’, à l’instar d’Octobre Rouge?

Accélérateurs à cavité

      Àdroite, l’une des antennes pour les ventres magnétiques; en haut, d’autres à polarisation transverse, de phase alternée. À l’intérieur, trois ventres accélérateurs l/2. Le courant de déplacement JD y oscille horizontal et le champ magnétique B à la verticale. Avec P la pression en atmosphères, on a E~P 3MV/m et la densité de force sur le gaz F ~ f(er -1)peo√emE2 ~ 8.29 10-7(er -1)er1/2mr1/2f P2, atteint P2293Kg/m3 à 2.45GHz, pour er -1, m= 1. (Le taux de compression du flux gazeux dans ce statoréacteur électromagnétique augmente sensiblement P et donc E.) Une polarisabilité er  accrue se traduira également en poussée. Au total, cette dernière vaut  ~ (er -1)permrfWQlP2/2c2, où W est la puissance, P la pression, Q le coefficient de qualité et l la longueur de la cavité. Antennes et réflecteurs seront des supraconducteurs à haute température et la cavité aura un volume actif de quelques dizaines de m3, ce qui permet les dizaines de tonnes de poussée nécessaires. Sans dissipation résistive ni ionisation, l’efficacité est supérieure à la MHD. Trois unités accélératrices sont illustrées debout, à l’arrière d’un véhicule qui rappelle l’Aurora. Si l’on disposait des supraconducteurs magiques de Meessen, on biaiserait le champ magnétique oscillant, vertical dans la figure ci-dessus et l’on travaillerait sans dissipation, même en ionisation totale. Le biais en régime de Hall permet néanmoins d’augmenter E dans la région centrale et de créer, tout autour, la bulle de plasma qui y confine l’énergie électromagnétique, d’autant mieux que l’indice de réfraction s’y abaisse soudainement vers l’extérieur.

     Dans la cavité coaxiale, les zones à accélération longitudinale opposée alternent par quart d’onde transverse stationnaire. Le gaz occupe la moitié des champs accélérateurs et évite les autres en passant à l’intérieur du conducteur central ou à l’extérieur de la gaine périphérique. On peut ainsi simultanément accélérer deux flux en sens opposé! Pour améliorer l’aérodynamique: accélérer les fronts d’ondes de choc acoustiques issues d’un moteur à détonations en pulsant la RF d’une cavité coaxiale activée par segments successifs. Un câble supraconducteur central crée le biais magnétique.

Historique

      Deux chercheurs canadiens de l’Edmonton Electrical Engineering Dept de l’Université d’Alberta, G&GB Walker, publient l’idée générale de l’EMHD en 1974 et 1975, et la résument dans le journal Nature du 30 septembre 1976. James Cox en développe des applications aéronautiques, qu’il présente à Hartford, Connecticut, au AIAA/SAE 16th Joint Propulsion Conference de 1980. Elles constituèrent le sujet de son brevet US#4,663,932 qu’il reçut sept ans plus tard. Quelques-unes des illustrations l’émaillant furent-elles inspirées par les chasseurs futuristes de Star Wars de George Lucas? Malheureusement, les jolis engins des brevets de James Cox ne fonctionneraient pas tels quels, en raison de déphasages impropres.

     Les 460 millions de dollars qui financèrent l’Aurora furent détournés à l’insu du congrès américain en 1981 et l’engin fit son premier vol en 1987. Apparemment, l’U.S. Air Force et James Cox doivent quelques royalties à Lucasfilms, du moins pour l’inspiration! Décidément, l’histoire de l’Aurora ne doit pas grand chose au crash de Roswell. Néanmoins, le caractère exhaustif et abouti de l’étude accompagnant son brevet, et son parcours dans plusieurs entreprises du secteur militaro-industriel, suggèrent la synthèse d’idées déjà en développement.

     Comment l’axiome fondamental de la haute technologie s’applique-t-il à l’EMHD?

     La situation est comparable à celle d’un mode de propulsion exceptionnellement efficace, le moteur électrique dans le transport automobile et aérien aux faibles vitesses et altitudes. Mais il faut l’alimenter, ce qui conduit aux véhicules hybrides. Restés vingt ans à l’état de prototypes, les premiers modèles automobiles aujourd’hui commercialisés par Toyota le furent initialement à perte. Si les réacteurs du Concorde devaient être remplacés par des propulseurs EMHD, il faudrait trouver un endroit où générer l’électricité nécessaire, d’où réduction de la charge utile, complexité, coût et encombrement accrus, etc.  Et il y a le rayonnement électromagnétique indésirable. Quelques kilowatts suffisent pour créer des perturbations inacceptables dans un quartier. Or, il s’agit parfois ici de mégawatts! Enfin, il y a la densité de force, limitée par le champ de décharge et les problèmes d’aérodynamique des cavités aux plus hautes fréquences, les plus efficaces.

      Si s’avérait l’action de l’EMHD sur les courants de déplacement du vide polarisable que l’on supposera couplés au système gravitationnel auquel le vaisseau appartient, les principaux problèmes du voyage spatial, la nécessité d’embarquer une masse importante de fluide éjectable et le faible rendement des fusées ioniques, qui accélèrent fortement des masses minimes, seraient résolus, le propulseur agissant quasi directement sur les masses astronomiques du voisinage.(*) Autre formulation du dipôle gravitationnel que compenserait l’Univers en l’accélérant. L’EMHD étant généralement limitée par le carré du champ électrique maximal avant claquage, atteignant 30MV/m dans le vide contre 3MV/m dans la basse atmosphère, la densité de force en serait multipliée par un facteur de ~100, avec er -1 → er . En conséquence, les désavantages mentionnés concernant le transport aérien seraient compensés par des avantages dans l’espace, décisifs au point d’être révolutionnaires.

      Réitérant l’axiome fondamental de la haute technologie, on obtient

3/ L’Électrohydrodynamique

      Décline le condensateur asymétrique de Townsend Brown: fine électrode au gradient élevé en amont servant de source d’ions, électrode à grande surface en aval, soumises à un potentiel en dessous du seuil de décharge. Effet important: le vent d’ions. Avec une anode en amont et les autres facteurs négligés, l’impulsion gagnée par les flux électrisés est  d( ru) = n+eEdt = n+eEdx/u. Intégrant, on a le taux d’entraînement X = uf /u – 1 = n+e DF/ru2. Le corona positif du lifter crée la densité de charge   n+~108cm-3,  sous une différence de potentiel  DF~ 40 KV de quoi il ressort que pour que l’entraînement atteigne 1/10, u la vitesse du lifter serait limitée à 2m/sec (AIAA2002-2249; Macheret, Shneider & Miles). Voilà qui n’est guère encourageant! Deux solutions. On multiplie les étages, et avec eux la densité de charge n+ , la différence de potentiel  DF  effectifs du système; donc la vitesse permise. C’est la micro-EHD. À raison de 50 étages au mètre, nous arrivons à 1000m/sec ou 3’600Km/h pour un système de 10 mètres. Sa disposition en surface travaille surtout sur les flux laminaires lents près des surfaces aérodynamiques, en mode subsonique dans l’onde de choc. Sinon, on augmente l’échelle et donc le potentiel accélérateur total, d’une part, et de l’autre on réalise l’injection directe des charges positives en amont par torche à plasma, ou bien l’ionisation par impulsions brèves de micro-ondes ou Laser suivie de l’absorbtion des charges négatives. Typiquement on atteint n+~1011cm-3 et  DF~ 40 MV , ce qui permet u ~ 2000m/sec ou 7’200Km/h. C’est la macro-EHD. Quand la vitesse u est petite, le taux d’entraînement devient gigantesque, permettant une poussée considérable pour le vol stationnaire, l’atterrissage ou le décollage vertical. À vitesse u élevée, l’ampérage fourni au plasmoïde ⌠en+udV et donc la puissance ⌠en+uDF dV devenant considérables en propulsion primaire, un tel système sera surtout utile pour réduire le nombre de Mach effectif, accélérer la couche limite et les flux laminaires lents à l’intérieur de l’onde de choc, et ainsi réduire la traînée, la vitesse effective ueff restant modeste. Le taux d’entraînement étant inversement proportionnel au carré de la vitesse, la micro- et la macro-EHD peuvent « accrocher » les flux lent et se découpler des flux rapides, réalisant ainsi l’utilisation optimale. D’autres facteurs comme la pression électrostatique du fluide chargé, l’expansion qu’elle y induit en aval d’un gradient et l’électrocondensation augmentent sensiblement le facteur d’entraînement et l’efficacité.

Micro-configuration

      Utilise un champ électrique oscillant ou pulsé sur des lignes d’électrodes déposées sur la surface isolante accélératrice, comme sur un cahier d’écolier, perpendiculairement au flux gazeux, selon le principe de l’accélérateur linéaire. Le système développé par J.R. Roth fit l’objet d’essais en laboratoire et à la NASA. Les fines électrodes des lignes supérieures en contact avec le gaz à accélérer sont typiquement espacées de 15 à 20mm, sont le siège d’un fort gradient qui excite l’air et le porte à sa limite d’ionisation. Elles y induisant une hyperpolarisabilité atomique par des avalanches localisées d’électrons et sont chacune suivies, sur la face inférieure du diélectrique, d’électrodes larges de 8 à 12mm. La tension typique est de 10KV à 60KV, et les fréquences dans le domaine audible, de quelques centaines de Hz à 25KHz. La fréquence est proportionnelle à la vitesse du gaz, de façon à ce que les ions, dipôles et aérosols soient accélérés à chaque passage successif sur l’électrode suivante. Des phénomènes d’électrocondensation jouent un rôle dans son efficacité, maximale aux basses altitudes, ainsi que les collisions ions-neutres qui, ensemble, augmentent la masse accélérée.

     Qu’est-ce que l’électrocondensation? La force cohésive interne de l’eau, d’origine intermoléculaire, liée à son dipôle électrique, n’existe pas à la surface liquide. D’où une tension superficielle qui tend à imploser et à vaporiser toute gouttelette qui voudrait se former. Mais la pression répulsive d’une charge électrique annule cette tension superficielle et aide la gouttelette à se former et à grandir, à une pression et à une température donnée.

     L’EHD combine les effets accélérateurs des gradients de champ dans le gaz neutre et les gouttelettes d’eau (un ferroélectrique fortement polaire) en amont d’où s’effectue un transfert de charge, qui peuvent être amplifié par l’excitation forcée de ce diélectrique, avec l’accélération électrique en aval d’un vent chargé d’ions, des poussières qui les portent souvent et des gouttelettes d’eau qui se sont condensées autour***. Passée l’électrode fine en amont, le gaz maintenant chargé, soumis à un fort gradient, subit une expansion du fait de sa pression électrostatique décroissante vers l’aval qui domine la tendance du diélectrique neutre à être attiré vers les gradients élevés. Du point de vue thermodynamique, après la charge du courant d’air sur l’électrode fine en amont, l’électrocondensation de la vapeur initialement présente y libère la chaleur latente, échauffe cet air, en dilate même la composante neutre et l’accélère progressivement vers l’aval en le dispersant. Les gouttelettes chargées, électriquement accélérées, vont se concentrer vers l’électrode large en aval. Neutralisées, elles y sont volatilisées par le processus inverse d’électro-évaporation en refroidissant cette électrode. Le résultat est un deuxième jet orienté, de vapeur cette fois. En outre, quand l’électrode fine génératrice d’ions est une anode, les gouttelettes d’électrocondensation sont positivement chargées et se polarisent de façon à orienter leurs hydrogènes vers l’extérieur. En atteignant la cathode, les deux protons superficiels d’une molécule pénètrent plus facilement le réseau métallique et peuvent y former une entité exotique à orbitales protoniques bien plus denses autour d’un électron immobile. De telles entités se formeront, se désexciteront et même fusionneront d’autant plus facilement que la densité électronique (le nombre atomique) à la surface de la cathode est élevé, créant de micro-explosions ou bouffées exothermiques dont la chaleur contribue à l’évaporation et permet même des charges négatives additionnelles qui seront orientées et participeront à la propulsion. Toutes ces synergies: accélération d’un diélectrique par gradients électriques en amont, expansion de l’air, électrostatique ainsi que thermique par électrocondensation, ce qui contribue à l’effet propulsif, accélération électrique sélective des gouttelettes chargées vers la cathode, puis leur électro-évaporation avec réactions exotiques superficielles confèrent à l’EHD une efficacité unique. Elle sert à la propulsion, à la diminution de la traînée, à l’élimination de la turbulence en bouts d’ailes, à l’accélération ou au freinage localisé des flux sur des véhicules subsoniques, voire supersoniques ou hypersoniques à l’intérieur de l’onde de choc.

.     Elle est idéale pour rendre opérationnelle la soucoupe à effet Koanda du type Avro, à condition que tous les paramètres en soient contrôlés électroniquement, selon les données de senseurs. Le flux sur sa surface supérieure peut être augmenté par l’effet Bernoulli en la faisant tourner, tandis que sur la face inférieure de l’engin, il repose entièrement sur l’EHD. Un tel véhicule produit une luminescence bleutée, visible la nuit sur ses surfaces accélératrices, et un sifflement acoustique intense et typique, de fréquence montante au décollage, outre celui de la turbine servant à l’alimentation électrique. La principale difficulté est le contrôle critique des fréquences de fonctionnement.

     Problème: agit sur des masses d’air limitées et nécessite une source de puissance électrique additionnelle.

Micro-configuration et effet de Hall

     L’EHD décrite ci-dessus est adaptée aux nombres de Mach modestes et aux milieux diélectriques; un champ magnétique transverse y augmente la résistance diélectrique et donc la densité de force. Aux vitesses élevées dans les milieux ionisés ténus, le même système devient, en présence d’un champ magnétique radial, normal à sa surface de révolution et au flux ionique, un propulseur à effet de Hall. Attention aux collisions électrons-électrode! le champ devra être assez intense pour que le rayon cyclotron soit petit devant chaque étage, son gradient repoussant les électrons, ce qui impose des électrodes de forte perméabilité et de taille assez grande, sur la tranche d’où émerge le champ radial.

Macro-système

     Les nombreux mécanismes propulsifs et synergies sont identiques à ce qui est décrit plus haut, mais se développent à bien plus large échelle sur le véhicule tout entier, entre l’amorce de son onde de choc en amont et son prolongement en aval.

     Utilise le brevet de Townsend Brown/Bahnon, comme dans le B2, où le potentiel très élevé d’un générateur électrostatique à flamme se développe entre le véhicule et le flux arrière. Refroidi, mécaniquement élevé à un très haut potentiel, excité, ce dernier est découplé de ses électrons et ions ralentis qui forment un bouclier ionisé ou cathode virtuelle, visuellement assimilable à un « faisceau interrompu » complétant le système EHD. Typiquement, on obtient 15MV sur 30m, soit une charge de 1/20 de Coulomb et une force statique de 2.55 tonnes avec une turbine de ~15MW. Les charges opposées émises par le véhicule dans son onde de choc chargée vont périodiquement, lors de sa reconvergence en aval, neutraliser et vaporiser l’aérosol chargé qui s’y accumulerait par électrocondensation. De fait, le « faisceau interrompu » peut considérablement s’allonger et être le siège d’ondes électro-acoustiques longitudinales.

     L’importance des charges et des forces statiques permet la lévitation d’un objet en aval, idéalement conducteur et isolé du sol, une voiture, un mammifère ou un homme sur des sabots par exemple: l’Ovni développe une charge importante par rapport au sol grâce à un « faisceau interrompu » primaire qui l’atteint, puis se focalise vers l’entité à léviter.

     Concernant l’atténuation de l’onde de choc en amont du véhicule et en aval de sa pointe anodique, la pression électrostatique ainsi que thermique due à l’électrocondensation diminuent le nombre de Mach ainsi que la traînée en aval de cette pointe. La zone avant à fort gradient peut aussi être le plasmoïde chargé que crée en amont du véhicule un faisceau de protons ou une torche à plasma. Dans les deux cas, il y a apport thermique à la réduction du nombre de Mach. Enfin, ce peut être le faisceau conducteur d’une centaine de mètres, colinéaire au mouvement, d’un laser ultraviolet d’ArF, positivement polarisé, tout comme l’éventuelle torche à plasma, par un générateur électrostatique additionnel. À faible vitesse et altitude, les générateurs à flammes peuvent être orienté transversalement, voire remplacés par un balayage latéral de faisceaux conducteurs, de façon à fortement étendre la masse d’air accélérée lors de manoeuvres ou de survol immobile. L’avantage de l’EHD est la légèreté, le faible encombrement du générateur à flamme, la possibilité d’améliorer le rendement, l’aérodynamique et la vitesse d’un véhicule intégrant un tel système, du fait de son action sur les masses d’air immenses à l’intérieur de l’onde de choc toute entière et même son extension, si l’on considère un plasmoïde chargé induit par un faisceau de protons situé de quelques dizaines de mètres à plusieurs Km en amont, rôle qui peut aussi être plus modestement tenu par une torche à plasma ou un faisceau de Laser ultraviolet ArF colinéaire au mouvement, par l’extension du panache arrière ou latéral chargé d’une centaine de mètres, ou par un balayage transverse d’électrodes virtuelles ultraviolettes. Contrairement aux pales d’un hélicoptère, les électrodes virtuelles ne pénalisent ni le poids, ni l’aérodynamique aux vitesses élevées. En micro-EHD, la poussée est d’au moins une tonne par Mégawatt, ce qui est une amélioration de 66% par rapport à un réacteur seul. Du fait de l’action sur des masses d’air immenses, le rendement de la macro-EHD, est multiplié bien au-delà.

     Autre observation concernant la macro-EHD, outre l’accélération de grandes masses d’air et d’aérosols, mécaniquement favorable au rendement propulsif général: la contribution à la propulsion du véhicule et au bilan thermique de ses turbines ou statoréacteurs de processus impliquant le dégagement d’énergie de molécules d’hydrogène exotiques, à orbitales nucléaires compactes (p.ex. deux nucléons d’un isotope d’hydrogène autour d’un électron immobile). En effet, l’anode à pointe virtuelle ou réelle à gradient élevé en amont du véhicule étant une source d’électrocondensation autour d’ions positifs, les gouttelettes d’eau résultantes polariseront leurs hydrogènes vers la surface, lesquels subiront une réaction au contact de toute cathode métallique en aval créant des molécules exotiques à orbitales nucléoniques ultra-denses dont la formation, la désexcitation et la fusion, au sein de cette surface de haute densité électronique, particulièrement pour des nombres atomiques élevés, ou plus loin, dégagera un surplus d’énergie à celle due à la simple décomposition électrique et recombinaison de l’eau sur cette cathode, sous forme de micro-explosions, orientées du fait de leur charge devenue négative. Ce phénomène non seulement contribue à l’effet lifter sur une surface aérodynamique en aval, mais se concentre sur les entrées d’air et les compresseurs des turbines en alliages de nickel, négativement polarisés pour fonctionner en tant que générateurs à flammes. L’air ainsi enrichi en molécules exotiques encore excitées, dégagera une énergie additionnelle lors de la combustion sur les surfaces métalliques internes de la turbine.

     L’idée de force hypothétique exercée sur les dipôles du vide polarisable vaudrait aussi pour l’EHD. L’effet escompté est de direction opposée et de deux ordres de magnitude inférieur à celui des lifters qui, dans les expériences réalisées sous vide, cessent d’y fournir une poussée mesurable, bien que de faibles anomalies inertielles aient été rapportées par certains expérimentateurs. Dans le vide il n’y a ni vent ionique, ni électrocondensation de l’eau, ni molécules exotiques, ni superpolarisabilité de l’Argon excité. La question des forces du gradient du champ électrique y reste néanmoins ouverte.

     De même que l’effet de Hall fait fonctionner la micro-EHD sur un mode différent aux vitesses et altitudes élevées, il permet aussi d’accélérer de grands volumes dans l’ionosphère aux nombres de Mach importants. Puisqu’un flux ionique hypersonique se développe le long du champ électrique entre la pointe virtuelle et la colonne d’échappement arrière, il suffira à la tranche de dégager un champ magnétique stationnaire radial, de sorte que le courant de Hall accélérateur soit annulaire tout autour du véhicule

Voir:

http://plasma.ee.utk.edu/

http://techreports.larc.nasa.gov/ltrs/PDF/1998/aiaa/NASA-aiaa-98-0328.pdf

http://xxx.lanl.gov/abs/physics/0211001 

http://www.blazelabs.com/l-vacuum.asp

http://www.blazelabs.com/e-exp08.asp 

Facteurs participant de la propulsion EHD

  En amont de l’anode

• Force du gradient de champ électrique sur un diélectrique polarisable, en particulier les gouttelettes d’eau de plus de 50 microns de diamètre, la taille super-ferroélectrique au-delà de laquelle er~80.
• Si possible, exciter l’argon de l’air sans affecter l’eau

  Anode fine

• Les gouttelettes neutres, surtout au-dessus de la taille critique, sont attirées et reçoivent des charges multiples qui les fragmentent en aérosols chargés désormais de taille sub-critique où er~1
• Possibilité de vaporisation partielle par compression et échauffement, ou apport de chaleur (torche à plasma, micro-ondes, plasmoïde)
• Injection directe de charges positives (faisceau de protons, torche à plasma) ou absorption des négatives après ionisation (cascades électroniques par impulsions brèves de micro-ondes, laser ultraviolet).

   À l’aval de l’anode

• Accélération électrique linéaire des ions et aérosols chargés ou vent d’ions.
• Expansion électrostatique vers l’aval du fluide chargé, vers les zones de moindre gradient, et donc gain de vitesse.
• Du fait de l’électrocondensation, le fluide gazeux, y compris sa composante neutre, subit une expansion thermique globale sans variation de masse, qui s’ajoute à l’expansion purement électrostatique des charges . C’est le fluide tout entier qui est entraîné.
• On cherche à ce que les gouttelettes de l’électrocondensation restent en dessous de 50u jusqu’à une distance suffisante en aval de l’anode de façon à rendre la force du gradient électrique en 1/r3 négligeable.
• Les proto-gouttelettes de charge centrale unitaire jusqu’au delà d’une dizaine de nanomètres sont dominées par leur champ interne et de ce fait même légèrement antipolaires.
• Lors de l’expansion l’argon est désexcité

    Cathode large

• Attire les ions et gouttelettes chargées, qui s’y neutralisent.
• Dans ce cas, on a électro-évaporation explosive avec la chaleur empruntée à la cathode: l’expansion continue.
• Si la cathode est en Nickel, sa surface va se charger d’hydrogène, et catalyser la formation de molécules exotiques capables de fournir de la chaleur au processus.
• Un champ magnétique normal avec gradient, la pression, un revêtement diélectrique et le mode pulsé peuvent augmenter la résistance aux décharges et augmenter le champ accélérateur.
 

Vu que les particules de fumée sont chargées, leur cheminement ne reflète pas nécessairement celui de l’air.

Disque hypersonique

      Quelles leçons tirer des différents schémas examinés plus haut et de leurs évaluations? Adoptons l’hypothèse d’une propulsion en milieu gazeux avec une source d’énergie traditionnelle, la plus compacte, quasi omniprésente dans l’aéronautique moderne étant la turbine à gaz, légère, durable et capable de fournir quelques dizaines de Mégawatts. La coupler à un alternateur, fût-il supraconducteur, pour en convertir toute la puissance, représentera un accroissement de poids, d’encombrement, de complexité et de coût difficiles à justifier. Ajoutons-y la densité de force limitée de l’EMHD aux champs modestes disponibles et aux faibles vitesses (taux de compression), excepté pour les systèmes à cavités, qui posent néanmoins des problèmes d’aérodynamique et de coefficient de qualité, la forte dissipation et les problèmes quasi insurmontables de la MHD, et l’on peut exclure tout système MHD de Laplace ou EMHD actuel utilisant de la puissance électrique de basse ou moyenne tension en tant que propulseur principal. (Une source de puissance électrique compacte et bon marché, mettons thermonucléaire, utilisant un convertisseur plasmadynamique, produisant directement de la puissance électrique et dont l’encombrement et le poids seraient équivalents à ceux d’une turbine à gaz serait certes utile, mais une telle source n’est pas commercialement disponible.) Reste donc la solution apparemment adoptée pour le B2, d’une propulsion à turbines (voire à statoréacteurs ou à fusées sur d’autres modèles), utilisées en convertisseur à flamme de type Townsend Brown pour alimenter un système EHD de très haute tension, à l’échelle du véhicule lui-même et de son onde de choc initiée par une pointe-électrode à l’avant réelle (torche à plasma, bord d’attaque ionisant) ou virtuelle (faisceau Laser, plasmoïde induit par un faisceau de protons), se bouclant vers la flamme arrière chargée du propulseur, pour faciliter la pénétration atmosphérique. Les autres méthodes mentionnées seraient utilisées pour le contrôle aérodynamique des flux autour de certaines régions critiques. Dans ce contexte, on peut envisager des avions hypersoniques traditionnels, ou bien à pointe virtuelle avançant perpendiculaires à leur tranche, tels les soucoupoïdes du Rensselaer Polytechnic ou un équivalent triangulaire arrondi, la tranche, la périphérie supérieure et inférieure de l’engin, dans l’onde de choc et subsonique, contenant un propulseur micro-EHD en surface. Pour l’effet de Hall, un champ magnétique intense est émis radialement sur la tranche équatoriale, ses lignes se recourbant de façon plus diffuse vers la normale de la surface inférieure du disque. Tout près, des cathodes diffusent des électrons que le champ électrique déplace vers l’équateur, mais que le gradient magnétique les empêche d’atteindre : ils dériveront autour en un anneau auroral. Dans l’espace, le champ magnétique deviendra dipolaire et servira à créer une magnétosphère artificielle poussée par le vent solaire. La synergie idéale entre propulsion chimique, EHD et MHD à effet de Hall exploiterait chaque méthode dans son régime optimal.

Soucoupoïde hypersonique inspiré de l’aérodyne du Mur du Silence de Jean-Pierre Petit et d’études faites au Renssaeler Polytechnic de New York vers 1994 sur la MHD.  Pour le contrôle des flux subsoniques dans l’onde de choc et sur la périphérie de l’engin, on utilise la micro-EHD en surface. En amont, un plasmoïde chargé induit par un faisceau de protons, magnétisé par des micro-ondes circulairement polarisées, sert de pointe virtuelle. À partir de cette pointe, se développe l’onde de choc en mode hypersonique, qui se boucle sur le panache arrière des générateurs à flamme. Le rétrécissement aérodynamique de la région périphérique y accroît la pression, le seuil d’ionisation E et et donc la densité de force EHD, qui prévaut aux basses altitudes. Parce que l’essentiel de la propulsion est fournie par le générateur à flamme et le faisceau de protons, qu’il n’y a ni ionisation complète de l’onde de choc tout entière, ni dissipation de courant dans l’essentiel de la zone périphérique, la centrale nucléaire de quelques Gigawatts devient superflue dans la mésosphère. À haute altitude et vitesse, la tranche se mue en propulseur à effet de Hall grâce à un champ magnétique radial. Aux faibles vitesses et altitudes, le plasmoïde-électrode virtuelle, qui gagne à rester quasi stationnaire, n’amorce plus l’onde de choc, mais fournit néanmoins une poussée EHD, utile lors de manœuvres telles que l’atterrissage en feuille morte; le volume accélérateur et donc le rendement EHD sont alors substantiellement augmentés par l’orientation latérale des générateurs à flamme ou un balayage transverse d’électrodes virtuelles à faisceaux ultraviolets.

Les câbles supra du bord d’attaque, le champ vu de profil avec ses nuages électroniques en bleu ciel.

Le B2 vu de haut, son plasmoïde en amont, le bord d’attaque électrisé et le nuage de Hall supérieur, ses générateurs à flammes à l’arrière,

Le B2*

      Appliquons le concept du propulseur Hall/EHD à deux étages à la version classifiée du B2. Son fuselage central comprendrait un accélérateur linéaire supraconducteur éjectant un faisceau de protons de quelques dizaines de MeV à très haute altitude, à plusieurs centaines de MeV plus bas, tel que celui-ci. À haute altitude, la puissance requise pour l’accélérateur devient modeste, tandis que plus bas, une puissance additionnelle d’au moins 30MW serait produite par le groupe électrogène turbines/alternateurs supra. Un champ magnétique intense traverse le bord d’attaque, perpendiculairement au mouvement. Ses lignes se recourbent vers l’arrière en s’écartant mutuellement pour retraverser l’aile en aval à moindre intensité. Il s’atténue aussi vers l’extrémité des ailes afin que le courant de Hall se boucle à travers elles. À haute altitude, le bord d’attaque est donc pris en sandwich entre deux nuages électroniques virtuels particulièrement intenses au centre: nous avons là notre accélérateur de Hall linéaire. Les nuages électroniques accélérateurs au-dessus et au-dessous des bords d’attaques y sont attirés par le champ électrique, tandis que le gradient magnétique les empêche d’en atteindre la surface. À basse altitude, le même champ augmente la résistance diélectrique de l’air et empêche les décharges intempestives vers le plasmoïde en amont. Puis, l’accélérateur EHD arrière: des segments sur le nez et le bord d’attaque sont positivement chargés, excepté devant les entrées d’air des turbines afin de ne pas y court-circuiter l’injection de charges négatives, et les fines colonnes de gaz négativement chargés éjectées à l’arrière. À altitude et nombres de Mach élevés, le flux contournerait les réacteurs, dont les nacelles fonctionneraient en statoréacteurs, comme sur le SR71. Dans ce régime, il est possible qu’un convertisseur MHD soit utilisé. À faible altitude, le B2* serait capable de manoeuvres étonnantes, comme de rester immobile à la verticale, suspendu à son plasmoïde, la poussée étant augmentée par la déviation latérale des flux des générateurs à flammes, étendant le volume accélérateur, voire d’atterrir et de décoller quasiment à la verticale.

      Pourquoi le B2* est-il si cher? Au coût d’un avion traditionnel, ajouter celui des études et essais, de la forme et du revêtement furtifs, du système de volets, du câble supraconducteur dans le bord d’attaque et l’aile, des réacteurs convertibles en statoréacteurs et capables d’exciter les alternateurs supra nécessaires à basse altitude, des générateurs MHD auxiliaires fonctionnant à haute altitude, de l’isolation thermique des supraconducteurs, du bloc cryogénique, de l’accélérateur à protons, des divers systèmes de gestion, de surveillance, de contre-mesures et, last but not least, les coûts de maintenance annuels vu la fragilité de cette usine à gaz.

.

Autoroutes pour véhicules à EHD-EMHD

      Comment optimiser le mode EHD ou EMHD? D’une part, la pression atmosphérique et l’humidité doivent être maximales. Un tel système est donc indiqué pour tout survol à basse altitude des flots, surtout de mers chaudes (Navions, missiles mer-mer, surveillance anti sous-marine, etc) ou de terres agricoles (missiles de croisière). En 1993, des chercheurs annoncèrent la découverte, jusqu’à 3100m d’altitude, de véritables fleuves atmosphériques temporaires et changeants, couloirs généralement de 240 Km de large (maximum 780Km) et dont la longueur atteint 7700Km. Il y en a typiquement cinq par hémisphère à un moment donné qui émergent de l’équateur et s’écoulent vers les pôles, et chacun transporte 170 mille tonnes de vapeur par seconde, ce qui est comparable au débit du fleuve Amazone. Les zones orageuses et pluvieuses de plus basse altitude en sont les prolongements, véritables entrées-sorties d’autoroutes pour ce type de véhicule. Ces systèmes atmosphériques sont repérés en temps réel par satellite. D’autre part, la présence de gouttelettes de condensation ou d’aérosols est souhaitée, ce qui se produit naturellement sur l’onde de choc d’un véhicule volant à la vitesse du son. Les deux facteurs sont exacerbés dans les traînées de réacteurs d’avions ayant précédé le véhicule, naturellement enrichis en eau et en particules, ainsi que par ensemencement additionnel. L’utilisation récente dans l’aviation de carburants plus riches en hydrogène tels que le JP-8 augmente ces traînées, tandis que les turbines modernes, de meilleur rendement et de sortie des gaz plus froids, en accélèrent l’apparition, les rendant plus spectaculaires. De telles traînées constituent donc des couloirs ou de tels systèmes propulsifs fonctionnent mieux, ce qui peut être mis en parallèle avec les fameux chemtrails, et l’observation à l’intérieur de ceux-ci de véhicules exotiques. Finalement, il existe un moyen sophistiqué de réaliser un couloir de condensation en amont d’un véhicule : le faisceau de neutrinos de quelques dizaines de GeV projeté à l’avant. Bien que les neutrinos de très faible énergie soient fantomatiques, leur section de diffusion avec la matière approche celle des électrons dès quelques dizaines de GeV en raison de l’unification électrofaible. Ils peuvent donc être facilement produits dans un accélérateur. Et peuvent éjecter des électrons par collision élastique, devenir eux-mêmes des électrons relativistes en convertissant un électron en neutrino ou un neutron en proton. Bref un véhicule peut générer des gerbes d’ions en amont grâce à un tel faisceau sur plusieurs dizaines de Km, lesquels serviront ensuite de germes de condensation. Un tel faisceau peut aussi servir d’arme antiaérienne ou anti-satellite, mais son accélérateur reste pour l’instant bien trop lourd, encombrant et gourmand pour être embarqué.

Aérodynes hypersonique type Aurora

      Là aussi, prépondérance de la propulsion thermo-aérodynamique et de l’EHD/effet de Hall: plasmoïde en amont créé par un accélérateur à protons pour réduire le nombre de Mach et la traînée, dont la puissance et la consommation restent modestes à haute altitude, bords d’attaque réels et virtuels électrisés et magnétisés, générateurs à flamme à l’arrière et gouvernes à MHD passive. On parle également de réacteurs à détonation pulsée et de statoréacteurs supersoniques. À très haute altitude, ceux-ci utiliseraient ponctuellement la MHD pour la compression, l’adaptation et le contrôle des flux aux divers régimes de vol.

L’Aurora selon des témoignages recueillis en Grande-Bretagne: http://www.dreamlandresort.com/black_projects/aircraft.htm

Dans « Top Secret » de Mai 2004

      Et les limitations de l’énergie chimique?

Sur les énergies alternatives

     La Fusion thermonucléaire maîtrisée? Nous en serions loin avec la méthode classique.

Restent l’énergie nucléaire de fission, les transmutations à basse énergie et une curiosité découverte par le physicien britannique Lord Rayleigh, en 1936. Dans des décharges gazeuses à très basse pression (H, N, O), se déroule une étrange réaction dégageant davantage que 107eV/atome, soit plus de vingt fois l’énergie résultant des réactions chimiques traditionnelles. Rayleigh poursuivit ses expériences qui firent l’objet de deux publications supplémentaires dans les Proceedings of the Royal Society of London jusqu’en 1946. La nature de cette énergie reste très mystérieuse, raison pour laquelle personne ne cite ses travaux dans le monde académique. Ils seraient à l’origine des développements et recherches de Randell Mills visant à une exploitation commerciale dans son procédé ‘Blacklight power’, reproduit par plusieurs laboratoires universitaires et indépendants, et de sa théorie très controversée sur des atomes rétrécis sous leur état fondamental. L’énergie ainsi disponible atteindrait plusieurs centaines de fois l’énergie chimique, dans un plasma à 1M°K susceptible de directement générer de l’électricité par MHD, les produits exotiques dérivés permettant des explosifs capables d’initier des réactions thermonucléaires (bombes ultra-miniaturisées) ou des aimants ultra-puissants, qui rendraient possible la propulsion atmosphérique à EMHD.

     R.M. Santilli a proposé des états exotiques de deux électrons liés en une seule entité de masse et de charge double, l’isoélectronium, qui permettrait de nouveaux états de l’hydrogène négativement ionisé ou de l’hélium. L’état fondamental de l’iso-hydrogène serait à -108eV. De tels états liés apparaissent entre électrons classiques chargés et magnétisés, dans la théorie de Barut avec moment magnétique anomal et dans celle de Santilli-Animalu. Ils permettent des anneaux électroniques ou EVs constitués de nombreux électrons au spin aligné le long d’une ligne de flux fermée et enfilés sur celle-ci comme des perles sur un collier. Dans la version classique, les électrons sont distants de 10-11cm et de 5×10-13cm dans la version quantique relativiste. Dans cette dernière, la densité de charge catalyse des réactions de fusion-fission à basse énergie décrites ici entre plusieurs noyaux, même lourds, en surmontant la barrière de Coulomb et en fournissant la source d’électrons nécessaire. Les résultats de Rayleigh et de Mills seraient des fusions engendrées entre deux noyaux avec Z < n orbitant de part et d’autre un agrégat n-électronique produit sur une cathode ou dans une décharge, lors de collisions interatomiques.

     En 1987, Maric, Dragic, Holland et Vigier découvrent une solution à trois corps mathématiquement simple, où deux protons ou deutérons orbitent autour d’un électron immobile, idée reprise par Asim O. Barut en 1990. Une surface métallique électriquement polarisée selon sa normale et négativement chargée attire deux noyaux d’hydrogène, les rapproche, fournit l’électron immobile et catalyse cette réaction, ce qui expliquerait que la fusion froide est généralement observée sur de telles surfaces. L’état le plus bas de la molécule exotique d’hydrex ionisé (H2+) n=4 aurait une énergie de -1.7KeV, soit 84GJ/Kg ce qui permettrait de produire 20MW durant un jour avec 20.5Kg et ouvre des perspectives intéressantes pour les vols habités dans le voisinage de la Terre. Les raies spectroscopiques en dessous de l’état fondamental traditionnel de l’atome d’hydrogène sont une quarantaine, en fonction du seul nombre quantique principal et sont des transitions quadrupôles. Récemment, Jean-Pierre Vigier affina le modèle en y introduisant les couplages spin-spin et spin orbite. Les rayons des molécules exotiques d’hydrex et de deutex descendant à 614 et 480 Fermis respectivement, la probabilité de fusion thermonucléaire ultérieure est importante, même dans la sonoluminescence et les chambres de combustion des moteurs traditionnels. Voilà aussi pourquoi une décharge dans du deutérium gazeux produit plusieurs ordres de magnitude davantage de neutrons que prévu: initialement, des molécules exotiques sont produites. Mais leur fusion, extrêmement énergétique, met fin au processus en les dissociant. D’où l’impasse de cette voie découverte en 1957. On travaillera donc par étapes: un plasma de deutérium auto-ionisant à basse pression se convertit en électricité et en molécules exotiques, dont les composés polymères, recueillis, sont transformés en fibres ultra-denses. Dans une machine à décharge genre MAGPIE, l’énergie de fusion disponible est alors considérable, de l’ordre de 8MeV/atome, ce qui autorise les vols habités dans le système solaire.

Voir:

K. Shoulders ; voir http://www.rexresearch.com/ev/ev.htm

http://www.mypage.bluewin.ch/Bizarre/EVs.htm

http://www.blacklightpower.com/

http://www.rexresearch.com/articles/activen.htm

Et l’article suivant sur les états liés de protons:

Dragic, Z. Maric, J.P.Vigier: New quantum mechanical tight bound states and ‘cold fusion’ experiments; Phys Lett A. 265 (2000)pp163-7
L’état d’énergie minimale pour deux protons autour d’un électron a n=4, R=614fm et E~ -1.7KeV, car n<4 donne un rayon inférieur à celui de Compton de l’électron. Pour deux deuterons et un électron, n=5, R=480fm et E~ -2.2KeV.

Radioactivité stimulée

      Des procédés de physique nucléaire exotique ne sont pas non plus à exclure, qui pourraient avoir joué un rôle mal compris dans certains montages de Moray et Tesla. De nombreuses études, certaines initiées depuis les années vingt et publiées dans des revues sérieuses, montrent que, contrairement à ce que laisse supposer le Modèle Standard, la désintégration radioactive de très nombreux isotopes, dont certains, comme ceux du Tungstène ou du Thorium, voire du Bismuth ont des demi-vies naturelles de dizaines de milliards d’années et plus, peut être électromagnétiquement accélérée de façon à être exploitée dans des sources propres (pas de déchets nucléaires ni de neutrons) et très compactes de puissance électrique. Certaines sont en développement industriel depuis les années cinquante aux U.S.A.

http://www.ensmp.fr/aflb/FLB-nouveau/Ouroutskoiev.htm (en français) rappelle une expérience décrite dans le Scientific American des années 1920, où des fils de Tungstène étaient totalement transmutés en Hélium et en Mercure dans de très fortes décharges.

http://www.ensmp.fr/aflb/AFLB-282/aflb282p173.htm 

http://www.lenr-canr.org/  

http://pacenet.homestead.com/Transmutation.html 

http://www.rexresearch.com/adept/aa4whe.htm 

http://www.rexresearch.com/articles/gaschler.htm

http://www.rexresearch.com/articles/jovits~1.htm

http://old.jccc.net/~rhammack/  (nombreuses références et observations)

W.A. Barker : US patent 4961880

http://www.michaelmandeville.com/paradigm/dexmrad1.htm

http://www.amasci.com/freenrg/barker.txt

Pour des produits en développement, voir

http://www.nuenergy.org/

http://www.betavoltaic.com/research.html

http://www.plasmavolt.com 

http://www.neutronstructure.org/

      Parmi les phénomènes de désintégration accélérée, ceux de radioactivité bêta stimulée par des champs électromagnétiques intenses firent l’objet des remarquables études de Howard R. Reiss dans les années 1983-1987, qui utilisa la théorie standard et que confirment les nombreuses expériences et observations de Roy K. Hammack. Les prototypes à énergies prétendument ‘libres’ mettent souvent en jeu ce phénomène : dans des décharges intenses (Moray, Gray, Tesla), dans des machines électrostatiques+magnétiques (Testatika), ou dont les aimants permanents au néodyme ou samarium (radioactifs) sont soumis à de fortes pulsations de champ (Johnson, Searl) et isolés de façon à se polariser électriquement. Dans le même contexte, les fortes perturbations électromagnétiques à proximité de certains noyaux dans les plasmas de deutérium ou d’hydrogène dans lesquels se développent les phénomènes du type de ceux observés par Rayleigh, puis  conceptualisés par Barut, Vigier et Santilli, seraient à l’origine des étonnantes expériences de Yull Brown, où la combustion d’un magnégas d’hydrogène et d’oxygène issu d’une électrolyse à arc intense accélère la désintégration de substances radioactives au point de les neutraliser complètement.

      Il y a donc possibilité de libérer une énergie nucléaire propre par combustion hyperchimique.

      Hal Fox obtint des résultats similaires dans ses cellules à électrolyse LENT-1, avec la neutralisation complète d’uranium, de thorium et de tous leurs dérivés. Il proposa que le processus mettait en oeuvre les vortex de dizaines ou de centaines de millions d’électrons découverts par Kenneth Shoulders et appelés EVs, qui se forment dans certaines décharges, dans l’électrolyse à arcs et lors de transitions de phase triboélectriques dans le deutérure de palladium. Leurs champs électromagnétiques extrêmement intenses  (potentiel de plusieurs MV dû à des filaments de plusieurs microns dont le diamètre de 10-14m contient un champ magnétique de 1012 Teslas) permettent d’envisager la désintégration nucléaire stimulée, exactement telle que l’envisageait initialement Howard R. Reiss, dans des tubes à décharge tels que ceux de Moray ou de Gray.

Effet Barker?

      Et il y a les curieuses expériences de William A. Barker dans le potentiel négatif homogène de générateurs Van de Graaf, dont les relations empiriques semblent avoir été confirmés par d’autres expérimentateurs. Elles pourraient être liées à une variation d’échelle et de la masse effective des électrons dans un potentiel, à l’instar des constituants de l’atome d’hydrogène, qui s’allègent de 13.6eV en se liant et que la théorie standard ignore.**** 

      Le phénomène a toutefois des explications s’accordant avec la théorie de Howard Reiss: l’échantillon situé près d’une ouverture de l’enceinte du Van de Graaf est soumis à un gradient. En outre, un générateur de Van de Graaf négativement polarisé possède un gaz électronique superficiel dense, ionise mieux et de façon moins linéaire l’air ambiant, en raison notamment de l’effet photoélectrique et du rayonnement de l’air excité, créant d’importants micro-effets de corona explosifs sur toute aspérité superficielle. Surtout quand cette dernière est une poussière radioactive, qui dès lors déclenche ces effets de micro-corona, expulsant périodiquement des agrégats d’électrons ou EVs, eux-mêmes émetteurs de photons de 2KeV. Une fois formé, un EV linéaire chargé évoluerait vers un filament magnétique neutre terminé par de pseudo charges magnétiques, capables de catalyser des réactions nucléaires. Par contact avec la vapeur d’eau atmosphérique, la surface négativement chargée du VdG est aussi une source de hydrex (molécule d’hydrogène à orbitales nucléaires autour d’un électron) et de pseudo di-neutrons (idem autour d’un doublet d’électrons), qui participent à de telles micro-explosions se muant en bouffées énergiques de vent ionique. Elles seraient la source de la sur-unité des montages à décharge capacitative de Moray, Gray, Perrault et Correa. Le résultat est une désintégration accélérée de ces poussières superficielles radioactives soumises à un champ électrique et électromagnétique intense et fluctuant selon les mécanismes de H. Reiss, donnant lieu à des sifflements, grésillements, crépitements et étincelles très localisés, dans les ventres de multipôles. Dès lors, le VdG négativement polarisé et à la surface contaminée fuit davantage que dans la polarisation opposée, ce qui se traduit en instabilités auto-entretenues, en mouvements de charge superficielle et multipôles électromagnétiques oscillants, y compris dans la mince enceinte conductrice aux basses fréquences. Et les gamma de la désintégration accélérée des poussières superficielles, tout comme les EVs neutralisés et les pseudo di-neutrons traversent aisément la mince paroi du VdG en Aluminium, stimulant la désintégration de substances placées à l’intérieur, à l’instar de l’hydrex présent dans l’air.

      Nous sommes donc loin de l’électrostatique idéale: la puissance additionnelle alimentant le Van de Graaf négativement chargé et superficiellement contaminé se dissipe essentiellement en EVs, hydrex, vent ionique et ondes stationnaires, une part seulement des modes dipolaires étant rayonnée. La polarisation positive possède des oscillations et instabilités similaires, moins intenses qu’en charge négative mais manifestement davantage qu’en charge nulle. Mais elle ne génère ni EVs, ni les rayons gamma qui en émannent, ni hydrex, pseudo di-neutrons et monopoles. Ces derniers sont également produits par les innombrables pointes végétales reliées au sol négativement chargé et humide, particulièrement au printemps, le sol ayant une différence de potentiel d’environ -250KV vis-à-vis de l’ionosphère, potentiel fluctuant au grès des sphériques, sources d’excitation électromagnétique et d’ultraviolets corrélés. Un potentiel négatif amplifie cette différence de potentiel, concentre les lignes du champ terrestre, y compris leurs composantes ionosphériques variables, tandis qu’un potentiel positif les écarte. Dans ce cas, l’effet des variations du champ atmosphérique sur la radioactivité naturelle serait maximal au sommet d’une hauteur verdoyante dominant les alentours, par temps humide et clair, et minimal dans une cave ou un rez-de-chaussée en ville. Quoi qu’il en soit, on observe généralement une augmentation de la désintégration dans un potentiel négatif (et depuis un pôle magnétique Sud pour la radioactivité bêta, en raison de la violation de la parité) et une diminution dans un potentiel positif (et depuis un pôle Nord), phénomène qui serait à l’origine des observations de Reichenbach et de Reich, ainsi que de l’effet Biefeld-Brown, où un condensateur subit une poussée vers l’armature positive, du fait que les désintégrations induites se concentrent sur l’armature négative.

      Note: je suis incapable de confirmer l’effet Barker original. J’ai placé une montre Oméga automatique des années 1950 dont le cadrant au radium induisait ~2000CPM sur un compteur Geiger, aiguilles rapprochées de 12h et fenêtre du compteur tout près du verre, durant 200 heures dans l’hémisphère d’un Van de Graaf de ~400KV entraîné par un petit moteur, en milieu urbain. Le compteur fournit toujours 2000CPM neuf mois plus tard. Si effet Barker il y a, il apparaît donc vraisemblablement dans les régions de gradient élevé, soumises à des instabilités, sous l’effet de la formation de l’hydrex et d’agrégats d’électrons. Un environnement riche en hydrex et EVs neutralisés naturels ou non, de même que la puissance dissipée par le VdG négativement polarisé joueraient un rôle.

Montgolfière électronucléaire et forces implosives

      Fonctionnant en générateur à flamme alimenté en hydrogène et hydrex, le brûleur d’une Montgolfière dont l’air chaud est initialement guidé dans une manche isolante verticale, engendrera des différences de potentiel atteignant quelques millions de volts, ainsi que des champs, des décharges, des tourbillons et des fluctuations intenses sur des surfaces métalliques située plus haut, où apparaîtra une production et fusion additionnelle d’hydrex, de plasmoïdes et d’EVs. Cette Montgolfière n’est autre qu’un Van de Graaf négativement polarisé géant à courroie gazeuse. Dès lors, si le flux contient les traces d’un isotope instable, à l’énergie originelle de la flamme s’ajoutera celle de la désintégration stimulée de cet isotope par la fusion, dans le vortex électrisé qui s’élève et la production additionnelle, désexcitation et fusion d’hydrex sur les fentes concentriques métallisées et chargées qui, plus haut, forment l’ouverture à la base du ballon. À condition de rester assez modeste pour ne pas y mettre le feu, voilà notre Montgolfière devenue nucléaire! Curieusement, les frères Montgolfier pensaient que du feu émanait un fluide électrique subtil capable de vaincre la gravité s’il était confiné. Peut-être furent-ils inspirés par des textes sanskrits sur les Vimañas, nouvellement traduits en Français, décrivant des phénomènes similaires? Une turbine fonctionnant comme générateur électrostatique à vortex correctement configurée s’emballera toute seule, et s’élèvera dans son propre vortex. Le même phénomène survient naturellement: une micro-tornade près d’une faille géologique riche en minéraux radioactifs et sur une hauteur élèvera thermiquement les ions négatifs, les molécules de hydrex et les atomes de radon, tous présents en abondance au-dessus de certaines sources et cascades et chargera des nuées. Plus haut, sous l’effet de micro-arcs entre particules chargées à la frontière de flux aérodynamiques contraires, l’hydrex et le radon libéreront ensemble leur énergie et amplifieront le processus. D’où l’on déduit que la truite que Viktor Schauberger vit s’élever hors d’une cascade était vraisemblablement à propulsion nucléaire! Et que la mystérieuse force implosive qui apparaissait dans ses vortex et en refroidissait la périphérie n’était autre que la force électrique, immobilisant les ions extérieurs et refermant les vortex chargés sur eux-mêmes, la source d’énergie nucléaire étant d’autant plus propre que son utilisation était complète.

Utilisation en aérospatiale

      Polarisés en générateurs électrostatiques, un réacteur ou une fusée développent une différence de potentiel de ~ -15MV entre eux et la tornade éjectée à une certaine distance en aval, vers des tuyères concentriques en tungstène où s’accumulent les charges négatives et qui gagneront à être électromagnétiquement stimulées afin de maximiser les synergies impliquant la production additionnelle et fusion d’hydrex. Le potentiel y atteint -7.5MV, ce qui permet la désintégration flash d’un isotope instable, et même des isotopes lourds normalement stables qui résultent. Pour un avion, la modification consiste à guider en spirale le flux des turbines situées à l’avant et connectées aux bords d’attaque conducteurs, sur une demi-douzaine de mètres à travers un tube diélectrique qui s’évase vers des tuyères concentriques parachevant la désintégration stimulée par la fusion, ce qui ressemble fort au B2-spirit et à son prédécesseur historique, le Horten. Le résultat: l’EHD fait pénétrer le véhicule plus facilement dans l’atmosphère, à quoi s’ajoute la post-combustion à fusion/fission, effective même dans le vide pour une fusée. La poussée, la charge utile, la vitesse et le rayon d’action conventionnels en sont multipliés. Sur des avions existants, le rendement serait toutefois moindre, du fait de l’absence des tuyères excitatrices en aval, nécessairement virtuelles, car ne reposant que sur l’électro-turbulence; d’une alimentation pauvre en hydrex, et du développement de la poussée trop loin en aval. Voilà une explication des chemtrails en tant que résidus surabondants d’un procédé inefficace. L’équivalent de l’hélicoptère serait le véhicule discoïdal: le générateur à flamme est la colonne centrale diélectrique du vortex qui s’évase vers le haut, les turbines à la base se trouvant au potentiel positif. Le flux négativement chargé émane de fentes conductrices circulaires en haut, suit la surface périphérique et converge vers la base en générant un effet Coanda. La turbine alimentée par un mélange enrichi en hydrex consommera nettement moins de kérosène, stimulera la neutralisation des catalyseurs nucléaires et contribuera son énergie de fusion. Pour un petit discoïde, le générateur à flamme est placé au sommet, développant son vortex au-dessus du véhicule, la force ascensionnelle des gaz chauds s’amplifiant par désintégration induite, l’effet Coanda étant produit par aspiration centripète sur la surface supérieure plutôt que soufflage centrifuge, comme précédemment. En somme, l’engin est suspendu à sa propre tornade électrisée! Dans l’Aurora, l’EMHD en aval augmente mécaniquement le potentiel du générateur à flamme et accélère encore la désintégration par excitation électromagnétique. Outre la MHD fonctionnant en continu, une méthode de conversion simple d’une partie de la puissance en électricité consiste à utiliser un flux aérodynamique oscillant aux fréquences acoustiques et à en convertir la très haute tension pulsée.

      La production de 20MW additionnels ne consommerait donc qu’une fraction seulement des 1mg/sec d’Uranium, soit 86.4g/jour de la seule fission alpha, l’essentiel étant fourni par la fusion, ouvrant la perspective de voyages habités dans le système solaire et inhabités vers les étoiles voisines. Dans l’espace, le plasma, directement éjecté, fournit des poussées comparables à celles du système Vasimr

     Noter le contraste avec la fission à neutrons qui nécessite, pour une même puissance, plusieurs centaines de kilos d’Uranium fortement enrichi, une enceinte à neutrons avec, en prime, production abondante de déchets radioactifs de longue demi-vie et de Plutonium. Le crash d’un avion à réacteur nucléaire classique serait un véritable Tchernobyl.

      Un générateur à jet diélectrique expliquerait l’atroce lance-flamme à plasma testé depuis un tank américain à Bagdad: l’autobus visé se tordit en une masse fondue plus petite qu’une coccinelle VW, des hommes volatilisés rétrécissaient jusqu’à la taille de fœtus. L’engin avait été décrit dans la littérature sanskrite en tant que Rayon de Brahma: sa forte charge positive obligeait ses opérateurs à rester en contact en s’isolant du milieu ambiant et ses effets évoquaient l’irradiation nucléaire.

     La radioactivité ainsi stimulée ne se prête pas facilement à la construction de bombes nucléaires: outre l’encombrement substantiel d’un générateur de plusieurs millions de Volts, le temps de la conversion accélérée des matériaux radioactifs en énergie, au minimum de quelques dixièmes de secondes, est de plusieurs milliers de fois supérieur au temps nécessaire à la désintégration explosive du système par l’onde de choc, qui mettrait fin au processus. En outre, les molécules d’hydrex seraient instantanément décomposées. De même, un tel système est inadapté à la construction de ‘bombes sales’ : du fait que la désintégration accélérée concerne particulièrement les isotopes dangereux de courte durée de vie tels que le radium, le radon ou le polonium, l’interruption du processus aboutit essentiellement à de l’Uranium partiellement désactivé. Finalement, et toujours en raison de l’encombrement substantiel, le procédé est mal adapté à la propulsion de petits missiles ou drones. À cet effet, l’US Air Force envisage la désintégration accélérée de l’isomère excité du Hafnium 178, obtenu dans un réacteur nucléaire ou un accélérateur, qui dégage 2.4MeV lorsqu’il est irradié par des rayons X de 40  KeV.

H. Leuenberger, P. Huber, P. Nyikos, and H. R. Kobel, Effect of an External Electric Field on the Decay Constant of 99Tcm in Halogen Complexes, Helvetica Chimica Acta, Vol. 55, No. 99,1972, p.961

Howard R. Reiss, Nuclear Beta Decay Induced by Intense Electromagnetic Fields: Basic Theory, Phys. Rev. C, Vol. 27, No. 3, March 1983, p. 1199, Forbidden Transition Examples, p. 1229; Accelerated Beta Decay for Nuclear Waste Disposal, Proceedings of the Symposium for Nuclear Waste Management, Vol. 1, 1984, p. 593-6; Simultaneous Electromagnetic Enhancement of Nuclear Beta Decay and Isomeric Transitions, Phys. Rev. C, Vol. 31, No. 6, June 1985, p. 2238; Enhancement of Forbidden Nuclear n Decay by Low-Frequency Electromagnetic Fields, Infrared Physics, Vol. 25, No. 1/2, 1985, p. 525

J. L. Friar, and Howard R. Reiss, Modification of Nuclear Beta Decay by Intense Low-Frequency Electromagnetic Waves, Phys. Rev. C, Vol. 36, No. 1, July 1987, p.283

Gravité, éther et EMHD

Des chercheurs s’orientent aujourd’hui vers une théorie dans laquelle les corps massifs absorbent continûment un flux de paires de particules-antiparticules virtuelles. Les anciennes expériences de type Michelson-Morley ont même été ré-interprétées en ce sens. Dans ce contexte, la gravité et ses repères résulteraient d’un état cohérent de paires de fermions-antifermions virtuels associés en tenseur de Tetrode, équivalent à la Vierbein, racine de la métrique: hma = Y∂mgaY. Vu que de telles paires sont généralement associées à un moment dipolaire et à un courant de déplacement, il en résulte que ce flux est modifié par l’EMHD, capable d’accélérer ces dipôles virtuels.

Récapitulatif de la propulsion électrodynamique

 État du gazDissipation ohmiqueVolume accélérateurSource d’énergie dans le volume accélérateur susceptible de contribuer à la propulsionEfficacité
MHDionisation totaleimportantetrès réduit, sauf par effet de Hall dans un plasma ou l’ionosphèreserait dissipéeintéressante pour l’effet Hall
EHDexcitationnullemoyen à immenseoui, basé sur la chimie et les réactions nucléaires à basse énergie dans le voisinage immédiat.bonne: sur-unité locale possible
EMHDexcitation, ou ionisation et fonctionnement au-dessus de la fréquence de coupure, sauf pour les réflecteursnulle oufaiblemoyen à immense,en radio-soniquecomme pour l’EHD, mais la radio-sonique permet d’exploiter une énergie externe, atmosphérique ou héliosphériquecomme l’EHD,

Conclusion

      Dans l’hypothèse de la seule accélération d’un milieu matériel, la propulsion électrodynamique se révèle utile en tant que complément à son pendant thermodynamique traditionnel, afin de faciliter la pénétration d’un véhicule et d’en vaincre la turbulence. Dans ce contexte, on utiliserait, par ordre d’importance décroissant,

[1] La thermo-aérodynamique (réacteurs, statoréacteurs…)

[2] L’EHD globale, dont la très haute tension est directement produite par [1] et qui agit sur le véhicule et son onde de choc dans leur ensemble pour diminuer la traînée. La micro-EHD en surface, à l’intérieur de l’onde de choc. Toutes deux exploitent l’accélération de vastes masses d’air, l’électrocondensation de l’eau en amont et ses réactions en aval impliquant des orbitales nucléaires de molécules d’hydrogène exotiques  L’EHD ne fonctionne qu’au-dessus de 10 Torrs, soit en deçà de 30Km d’altitude.

[3] MHD à effet de Hall dans l’ionosphère et aux nombre de Mach élevés, ou à force de Laplace également à haute altitude, sur des régions limitées où de grandes densités de force sont souhaitées.

[4] L’EMHD pour contrôler les flux aérodynamiques sur certaines régions, y compris dans le propulseur principal à basse altitude. À l’instar de [2], exploite l’hyperpolarisabilité de l’argon, de l’azote excités et l’électrocondensation de l’eau, ainsi que la pression et un biais magnétique de Hall pour y augmenter la résistance diélectrique. En présence de champs hyperintenses, les plasmas se figent en diélectriques et peuvent être accélérés par EMHD sans dissipation. Reste à savoir produire de tels champs.

      Dans l’exemple du soucoupoïde hypersonique, une telle répartition est envisageable: turbines ou statoréacteurs de 70MW, dont 20MW iraient aux générateurs à flamme, et un bloc d’alimentation interne de 50 MW pour l’accélérateur à protons, la polarisation des générateurs à flamme, la micro-EHD et l’accélérateur de Hall en surface. Ce qui confine un tel engin à l’état de prototype perpétuel, c’est le poids, le prix, la consommation et l’encombrement du système turbine à gaz/alternateur supra de 50MW. Seul le développement d’un convertisseur thermonucléaire direct compact et léger à hydrogène bore rendra un tel véhicule opérationnel.

      Et si l’EHD et l’EMHD agissaient sur le vide? Alors de nombreuses limitations de ces méthodes seraient levées, leur rôle dans la propulsion d’un véhicule pourrait s’accroître, et ledit véhicule aurait accès à l’espace. Il semblerait que l’action propulsive des gradients du champ électrique en EHD disparaissent en dessous de 10 Torrs, du moins au premier ordre, ce qui jette un doute sur le vide en tant que milieu matériel polarisable pouvant être soumis à des forces, bien que des effets subtils ne soient pas exclus.

      L’alimentation n’est pas nécessairement purement chimique.

      Des sources d’énergies alternatives existent bel et bien, avec, pour la plupart, une justification théorique et expérimentale. Et même quand les théories sont incomplètes, la perspective d’une avancée de nos connaissances fondamentales ainsi que d’une croissance économique, fondée sur l’exploitation des ressources du système solaire, d’une énergie abondante, économique et propre, d’une neutralisation des déchets radioactifs et d’une reconversion de l’industrie semi-militaire du plutonium et de l’uranium enrichi est immense. Le fait que la majorité des universités ignorent ces phénomènes est un scandale.

      Quant à la menace d’applications néfastes de telles technologies, elle est largement éclipsée par celle d’un monde de plus en plus injuste, pauvre, pollué, menacé par des armes nucléaires miniaturisée au plutonium de contrebande, par de nouveaux Tchernobyls accidentels ou provoqués, et pris dans la spirale infernale de conflits ethniques ou religieux motivés par le seul contrôle financier du pétrole.

      La vérité est que nous n’avons plus besoin des guerres du pétrole depuis plusieurs décennies.

Retour

    **Traduction de l’axiome fondamental: la technologie visant à la moindre action, c’est-à-dire à l’effet maximal en minimisant les nuisances, qu’elles soient liées à une consommation excessive de ressources financières ou naturelles, à de la pollution chimique, électromagnétique ou à du bruit, les réalisations y contrevenant sont condamnées à la marginalité. Cela explique que certains véhicules discoïdaux resteront d’éternels prototypes. (retour au texte)

    ***L’énergie dépensée DE = 1/2 mD(v2) augmente comme la différence du carré de la vitesse, mais le gain d’impulsion est de Dp = Fdt = mDv, proportionnel à la différence des vitesses ou à la force. Tous sont proportionnels à la masse. Il est  donc plus avantageux, avec une même force F = eE liée à un même champ électrique E s’appliquant à une même charge e d’accélérer une masse m importante, et donc un volume important et dense de poussières ou d’un aérosol de gouttelettes chargées à une faible vitesse additionnelle que quelques ions, voire électrons, à une vitesse importante. De ce point de vue, l’électrocondensation est intéressante, puisque sans modifier la masse du fluide, elle le transforme en aérosol chargé en attachant ses nombreuses molécules d’eau aux ions isolés. (retour au texte)

    ****En physique classique, André Koch Torrès-Assis avait récemment discuté de la variation de la masse dans le cadre de l’électrodynamique de Weber (1846) ;  Olivier-Costa de Beauregard dans celui de l’approximation de Darwin des potentiels retardés (1920). Mikhailov vérifia expérimentalement le phénomène. Sous l’effet d’un potentiel U, la masse dynamique classique mo d’une charge élémentaire dans une sphère chargée se modifie comme m = mo + 2eU/3c2  dans l’approximation de Darwin avec de petites vitesses égales et opposées pour la particule et la sphère qui l’entoure, de sorte que action = réaction, ou bien comme m = mo + eU/c2 dans la théorie de Weber.
     Wei Min Jin proposa récemment une équation de Dirac non-linéaire et invariante sous l’inversion du temps, où l’interaction, introduite grâce à m = mo + J^A/c2 (J est le pseudovecteur de courant et A le quadrivecteur de potentiel), élimine certaines incohérences de la théorie standard, justifie la variation de la masse ainsi que l’action classique de la particule relativiste chargée.
      La théorie correspondante serait nécessairement invariante sous les transformations d’échelle, afin d’empêcher la transformation d’Humains en Schtroumpfs et vice-versa. (Mais il en irait peut-être autrement de l’antimatière). Étant donné qu’un potentiel eU ~ 2.25MV quadruplera la masse dynamique des électrons, l’échelle spatiale et certaines constantes varieront de sorte que les atomes, c’est-à-dire les orbitales électroniques, gardent leur taille standard et que la physique reste conforme à l’expérience, ainsi que l’avaient proposé H. Weyl, A.S. Eddington et P.A.M. Dirac. Pour cette raison, les formules de la physique atomique, qui supposent inchangées la masse de l’électron et l’échelle, restent valables. (L’orbitale d’hydrogène est invariante sous le groupe conforme SO(2,4)).
      Il en va peut-être différemment de la physique nucléaire. Tandis que l’énergie totale et la taille des atomes restent constantes, le diamètre relatif des noyaux, en revanche, quadruplerait. Dans ce cas, l’intensité des perturbations électromagnétiques auxquelles les soumettent leurs électrons périphériques augmentera sensiblement, de concert avec la probabilité d’émission d’une particule alpha ou bêta. À quoi pourrait s’ajouter la contribution à la liaison nucléaire d’une énergie assimilable à une constante cosmologique, telle que la proposa G. Shipov, qui serait modifiée. (retour au texte)

Wei Min Jin; From time inversion to nonlinear QED, http://xxx.lanl.gov/abs/quant-ph/0001029

O.Costa de Beauregard; Electromagnetic gauge as integration condition: Einstein mass-energy equivalence… pp77-104 in Advanced Electrodynamics, T.W. Barett, D.Grimes eds, World Scientific 1995.

P.A.M. Dirac; Long Range Forces and Broken Symmetries, Proc. Roy. Soc. A333 (1973), p 403.

Yuri A. Baurov; Structure of Physical Vacuum, http://xxx.lanl.gov/abs/physics/9907009